![]()
USER GUIDE

WALKINGPAD FOLDABLE SMART TREADMILL
(T2 PRO)
FSWKPADT2PA
SAFETY & WARNINGS
Read all of the instructions in this guide before using this product. Retain this guide for future reference. Do not skip, substitute or modify any steps or procedures in this guide, as doing so could result in personal injury or product damage.
- Before starting any exercise program, consult your physician to determine if you have any medical or physical conditions that could put your health and safety at risk or prevent you from using the equipment properly. Your physician’s advice is essential if you are taking any medication that may affect your heart rate, blood pressure or cholesterol level.
- Incorrect or excessive exercise can damage your health. Stop exercising if you experience any of the following symptoms: pain, tightness in your chest, irregular heartbeat, shortness of breath, light headedness, dizziness or feelings of nausea. If you experience any of these conditions, you should consult your physician before continuing with your exercise program.
- Always wear comfortable properly fitting sports shoes and clothing while using the treadmill. If you experience any discomfort while exercising stop immediately and consult your physician.
- This equipment is intended for adult use only. Keep children and pets away from the machine. DO NOT leave children unattended in the same room with the equipment. Contact with the moving surface may result in severe friction burns.
- Do not get on or off the treadmill whilst it is moving as this may result in serious injury and possible damage of the treadmill.
- The treadmill has an emergency stop mechanism for your safety. We recommend testing the safety lock is in working order before commencing any training.
- Always attach the safety key to your clothing while exercising. If the treadmill has switched off due to the safety key being pulled out, insert it again to resume exercising.
- In an emergency situation you can pull the safety lock to stop the treadmill immediately.
- When not in use, always remove the safety key and store in a safe place to avoid any unintended or accidental usage.
- When not in use, unplug the power cord.
- This appliance is designed for consumer use. Follow directions and use only as described.
- Once fully assembled, inspect to ensure all hardware parts such as bolts, nuts and washers are positioned correctly and tightly secured.
- Dry after each use to remove moisture. Wipe regularly with a mild, non-abrasive cleaner and water solution.
- To ensure safety, the equipment should have at least 50 cm of free space on each side and 200cm behind.
- Prior to assembly, ensure you have all the components.
- Always use the equipment as intended. If you find any defective components while assembling or checking the equipment, or if you hear any unusual noises coming from the equipment during exercise, cease use immediately and contact help.kogan.com for assistance. Do not use until resolved.
- Do not place fingers or any other objects into moving parts of the exercise equipment. Ensure care is taken while setting up and folding the treadmill.
- Keep hands clear of the hinges while setting up and folding the treadmill.
- Do not exceed the maximum user weight of 110KG.
- Be careful when lifting and moving the equipment. Always use proper lifting technique and seek assistance if necessary.
- Your equipment is intended for use in cool, dry conditions. You should avoid storage in extreme cold, hot or damp areas as this may lead to corrosion and other related problems.
- This appliance contains no user-serviceable parts. If it suffers any failure or damage, cease use immediately and contact help.kogan.com
- This equipment is designed and intended for indoor use only.
![]()

WARNING – KEEP BATTERIES OUT OF REACH OF CHILDREN
- Swallowing may lead to serious injury or death in as little as 2 hours, due to chemical burns and potential perforation of the oesophagus.
- If you suspect your child has swallowed or inserted a button battery immediately call the 24-hour Poisons Information Centre on 13 11 26 (Australia) or 0800 764 766 (New Zealand) for fast; expert advice.
- Examine devices and make sure the battery compartment is correctly secured, e.g. that the screw or other mechanical fastener is tightened. Do not use if compartment is not secure.
- Dispose of used button batteries immediately and safely. Flat batteries can still be dangerous.
- Tell others about the risk associated with button batteries and how to keep their children safe.
COMPONENTS

Treadmill
Accessories

Power cord Remote control Remote control lanyard Allen key
Safety key Silicone oil User guide Battery (CR2032)
OVERVIEW

1 Function buttons
2 Display
3 Power switch
4 Power input
5 Transport wheels
6 Belt
7 Folding hinge

8 Mobile phone slot
9 Handrail
10 Handrail lock
11 Safety key socket
12 Handrail adjustment lever
13 Side step
14 Belt adjustment hole
![]()
Time Distance Speed Steps Calories

Power Manual mode Automatic mode
Indicators
—- Error
— Connection
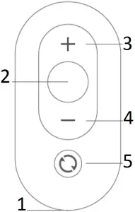
Remote Control:

Front Rear
- Lanyard hole 1. Battery cover
- Start/Stop
- Speed increase
- Speed decrease
- Mode
ASSEMBLY
Step 1:
- Ensure the handrail is firmly locked in place.
- Lift the rear of the treadmill until the transport wheels come into contact with the floor.
- Move the treadmill into your desired location. Avoid placing the treadmill on soft cushions or thick carpets.

Step 2:
- Loosen the handrail locks on both sides of the treadmill.
- Raise the handrail up into a vertical position.
- Tighten both the handrail locks.

Step 3:
- Carefully unfold the treadmill, ensuring to keep your hands clear of the hinges.
- Press the rear of the treadmill down until it is completely flat.
- The treadmill feet can be rotated to ensure the treadmill is sitting perfectly flat.

Step 4:
- Unlock the handrail adjustment levers and raise the handrail to your desired height paying attention to the minimum and maximum adjustment markings.
- Lock the handrail adjustment lever back in place.

Step 5:
- Install the safety key.
- Connect the power cord to the treadmill power input.
- Plug the power cord into a power outlet and turn power switch to the on position.

Step 6:

- Download and install the “WalkingPad” App from App Store (Apple) or Google Play Store (Android).
- Open the App and follow the prompts to connect to your treadmill.
OPERATION
Walking
In this configuration the handrail is placed in a horizontal position. The first time using the treadmill in this configuration the maximum speed available will be limited to 3km/h.
A maximum speed of 6km/h can be unlocked by completing one of the following methods:
- completing the beginner guide on the “WalkingPad” app.
- walking on the treadmill for 1km.
- setting the speed to 6km/h in the “WalkingPad” app.
When the treadmill is setup for walking, both Manual and Automatic modes are available.

Running
In this configuration the handrail is placed in a vertical position. The maximum speed available will increase to 10km/h.
When the treadmill is setup for running, only Manual mode will be available.

Turning the treadmill On and Off
- Press the Power button on the treadmill or the Mode button on the remote control to turn the treadmill on. The display will illuminate and the treadmill will enter Manual mode by default.
- The user can also power on the treadmill by pressing either the Manual or Automatic buttons. The display will illuminate and the treadmill will enter the respective function.
- To turn off the treadmill press the power button on treadmill or press and hold the Mode button on the remote control.
Manual Mode
In Manual mode users can use the remote control to adjust the speed of the treadmill to suit their needs. It is recommended to start with Manual mode when you are first getting used to your treadmill.
- Speed increase button: Press the Speed increase button to raise the speed of the treadmill by 0.5km/h.
- Speed decrease button: Press the Speed decrease button to lower the speed of the treadmill by 0.5km/h.
- Start/Stop button: Press the Start/Stop button on the remote control to stop treadmill. Press the button again when you are ready to resume exercising.
- Mode button: Press the Mode button on the remote control to switch between Manual and Automatic mode.
Automatic Mode
In Automatic mode, users can adjust the speed of the treadmill without using the remote control. Automatic mode is recommended for more advanced users of the treadmill. As a safety precaution Automatic mode is only available when the handrail is lowered, and the treadmill is in Walking configuration.
- Increase speed: When the user enters the front zone of the treadmill belt the treadmill speed will increase.
- Decrease speed: When the user enters the rear zone of the treadmill belt the treadmill speed will decrease.
- Start/Stop button: Press the Start/Stop button on the remote control to stop treadmill. Press the button again when you are ready to resume exercising.
- Mode button: Press the Mode button on the remote control to switch between Manual and Automatic mode.

Display
![]()
Time Distance Speed Steps Calories
Functions and Features:
- TIME: Shows your elapsed workout time in minutes and seconds
- DISTANCE: Displays the accumulative distance travelled during your workout.
- SPEED: Displays your workout speed value in km/h.
- STEPS: Displays the accumulative steps travelled during your workout.
- CALORIES: Displays calories burned at any given time during your workout.
CLEANING & CARE
Cleaning the Treadmill
- Disconnect the power before cleaning the treadmill.
- Add a small amount of mild detergent to a 100% cotton cloth. Do not spray the detergent directly on the belt or use any acidic and corrosive detergents.
- Do not wipe under the walking belt

Belt Adjustment Correction:
If the treadmill belt begins to slip or is out of alignment it will need to adjusted.
- Start the treadmill and run at a speed of 3 km/h
- To adjust belt to the left, turn the left adjusting hole screw clockwise by 1/4 turn.
- To adjust belt to the right, turn the right adjusting hole screw clockwise by 1/4 turn.
- To adjust belt tension, turn the left and right adjusting screws clockwise for 1/2 turn at the same time.
- After each adjustment, run the treadmill for approximately (1-2 minutes) to observe if the issue has been corrected. Adjust again if necessary.

Belt Lubrication:
- Disconnect the power before lubricating the treadmill.
- Lift the edge of the walking belt and apply 5-10 ml of silicone oil to the inner surface. Do not apply too much oil as this may cause the belt to slip.
- Run the treadmill at 3km/h for approximately 10-20 seconds.
- Lubricate the belt every 3 months.
TROUBLESHOOTING
Remote Control Pairing
If the remote control becomes unresponsive or if you have replaced the batteries, you will need to re-pair the remote control by pressing and holding the mode button for 5 seconds.
Connection Indicator
- FLICKERING: The treadmill is NOT connected to the App.
- OFF: The treadmill is connected to the App.
Error Indicator
- E01: Software overcurrent
- E02: Hardware overcurrent
- E03: IPM Module Overheating
- E04: Low-voltage Protection
- E05: Overvoltage Protection
- E06: Motor phase loss protection
- E07: Motor phase loss protection
- E08: Sensor fault
- E09: Motor unable to start
- E12: Motor overcurrent
- E13: Overloading protection
- E14: Hall signal loss
- E15: Communication fault
SPECIFICATIONS
Age range 14-60 years
Speed range 0.5-10km/h
Running surface 440x1200mm
Max weight 110kg
Frequency 50/60Hz
Voltage 220-240V
Power Input 918W
Gross weight 38kg
Net weight 33kg
Operation size 1460x720x900mm
Folded size 980x720x155mm
Disposal
This symbol indicates that this appliance should not be disposed with other house-hold wastes. To prevent possible harm to the environment or human health from uncontrolled waste disposal, recycle it responsibly to promote the sustainable reuse of material resources.
NOTES
Need more information?
We hope that this user guide has given you the assistance needed for a simple set-up. For the most up-to-date guide for your product, as well as any additional assistance you may require, head online to help.kogan.com






















