
SOLAR
SUITCASE
100W
Solar Suitcase w/ Voyager

Important Safety Instructions
Please save these instructions.
This manual contains important safety, installation, and operating instructions for the charge controller. The following symbols are used throughout the manual to indicate potentially dangerous conditions or important safety information.
WARNING Indicates a potentially dangerous condition. Use extreme caution when performing this task.
CAUTION Indicates a critical procedure for safe and proper operation of the controller
NOTE Indicates a procedure or function that is important to the safe and proper operation of the controller.
General Safety Information
- Read all the instructions and cautions in the manual before beginning the installation.
- There are no serviceable parts for this controller. Do NOT disassemble or attempt to repair the controller.
- Make sure all connections going into and from the controller are tight.
Battery Safety
- Use only sealed lead-acid, flooded, gel or lithium batteries which must be a deep cycle.
- Explosive battery gases may be present while charging. Be certain there is enough ventilation to release the gases.
- Be careful when working with large lead-acid batteries. Wear eye protection and have fresh water available in case there is contact with the battery acid.
- Carefully read battery manuals before operation.
- Do NOT let the positive (+) and negative (-) terminals of the battery touch each other.
- Recycle the battery when it is replaced.
- Over-charging and excessive gas precipitation may damage the battery plates and activate material shedding on them. Too high of an equalizing charge or too long of one may cause damage. Please carefully review the specific requirements of the battery used in the system.
- Equalization is carried out only for non-sealed / vented/ flooded / wet cell lead acid batteries.
- Do NOT equalize sealed / VRLA type AGM / Gel cell batteries UNLESS permitted by the battery manufacturer.
General Information
The Renogy Solar Suitcase combines highly efficient monocrystalline solar panels with a 20A Voyager charge controller to create an easy-to-use, ‘plug and play’ system.
This system is specifically designed for mobile off-grid applications, where space and weight limitations are abundant. The Solar Suitcase models support 12V deep cycle battery varieties such as sealed lead acid, gel, and flooded. With built-in tilting stands, these panels can be adjusted at different angles to maximize the power output throughout the seasons.
The alligator clips included in this package make it easy to connect the panel to a battery in seconds. If one ever needs to connect a battery with a different type of end terminal, the alligator clips are attached via MC4 Connectors.
Key Features
- Easy to read LCD display solar charge information
- 7 Battery Type Compatible – Lithium-ion, LiFePO4, LTO, Gel, AGM, Flooded, and Calcium 4 Stage charging: Bulk, Boost. Float, and Equalization
- Temperature compensation and correcting the charging and discharging parameters automatically, improving battery life.
- Protection against: overcharging, over-discharging, overload, short-circuit, and reverse polarity.
- Negative ground controller.
- Tilting stands for maximum solar generating potential.
- Convenient storage case for easy transportation.
PWM Technology
The Voyager utilizes Pulse Width Modulation (PWM) technology for battery charging. Battery charging is a current-based process so controlling the current will control the battery voltage. For the most accurate return of capacity, and for the prevention of excessive gassing pressure, the battery is required to be controlled by specified voltage regulation set points for Absorption, Float, and Equalization charging stages. The charge controller uses automatic duty cycle conversion, creating pulses of current to charge the battery. The duty cycle is proportional to the difference between the sensed battery voltage and the specified voltage regulation set point. Once the battery reached the specified voltage range, pulse current charging mode allows the battery to react and allows for an acceptable rate of charge for the battery level.
Four Charging Stages
Bulk Charge: This algorithm is used for day-to-day charging. It uses 100% of available solar power to recharge the battery and is equivalent to constant current. Boost Charge: When the battery has charged to the Boost voltage set-point, it undergoes an absorption stage which is equivalent to constant voltage regulation to prevent heating and excessive gassing in the battery. The default time for this is 120 minutes for the Voyager.
Float Charge: After Boost Charge, the controller will reduce the battery voltage to a float voltage set point. Once the battery is fully charged, there will be no more chemical reactions and all the charge current would turn into heat or gas. Because of this, the charge controller will reduce the voltage charge to a smaller quantity, while lightly The Voyager charge controller has a 4-stage battery charging algorithm for rapid, efficient, and safe battery charging. They include Bulk Charge, Boost Charge, Float Charge, and Equalization. charging the battery. The purpose for this is to offset the power consumption while maintaining a full battery storage capacity. In the event that a load drawn from the battery exceeds the charge current, the controller will no longer be able to maintain the battery to a Float set point and the controller will end the float charge stage and refer back to bulk charging.
Equalization: Is carried out every 28 days of the month. It is intentional overcharging of the battery for a controlled period of time. Certain types of batteries benefit from periodic equalizing charges, which can stir the electrolyte, balance battery voltage, and complete chemical reactions. Equalizing charge increases the battery voltage, higher than the standard complement voltage, which gasifies the battery electrolyte.
WARNUNG Once equalization is active in the battery charging, it will not exit this stage unless there is adequate charging current from the solar panel. There should be NO load on the batteries when in the equalization charging stage.
WARNUNG Over-charging and excessive gas precipitation may damage the battery plates and activate material shedding on them. Too high of equalizing charge or for too long may cause damage. Please carefully review the specific requirements of the battery used in the system.
WARNUNG Equalization may increase battery voltage to a level damaging to sensitive DC loads. Ensure that all load allowable input voltages are greater than the equalizing charging set point volta.
Included Components
MC4 to Alligator Clips w/ Fuse
Used for connecting charge controller to the battery. The entire cable from the charge controller to the alligator clips measures 9.9 feet with an inline fuse of 10A

Optional Components
Optional components that require a separate purchase:
Remote Temperature Sensor
Measures the temperature at the battery and uses this data for very accurate temperature compensation. The sensor is supplied with a 9.9 feet cable length that connects to the charge controller.

Identification of Parts

Key Parts
| 1. 20A Voyager Charge Controller 2. Junction Box 3. MC4 Connectors | 4. Tilt Stands 5. Battery Alligator Clips 6. In-line fuse (10A) | 7. Latch 8. Handle 9. Case (Not pictured) |

Key Parts
| 1. Backlit LCD 2. AMP/VOLT Button 3. BATTERY TYPE Button 4. LED Bar | 5. Remote Temperature Sensor Port 6. Battery Terminals 7. Solar Terminals |
Installation
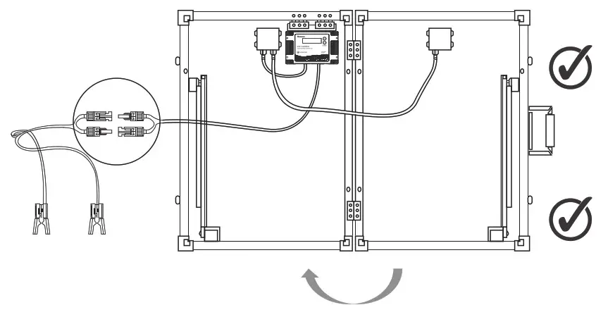
- Unlatch and unfold unit then connect MC4 Connectors

- Connect Battery Alligator Clips to 12V Battery

- Unscrew butterfly nut tilt to the desired angle and lock butterfly nut.

To maximize the output, adjust the angle of the suitcase regularly to track the sun’s movement throughout the season

Operation
When the controller powers on, the Voyager will run a self-quality check mode and automatically display the figures on LCD before going into auto work.
![]() | Self-test starts, digital meter segments test |
| Software version test | |
| Rated voltage Test | |
| Rated Current Test | |
| External battery temperature sensor test (if connected) |
Selecting Battery Type
WARNING
Incorrect battery type settings may damage your battery. Please check your battery manufacturer’s specifications when selecting battery type.
The Voyager provides 7 battery types for selection: Lithium-ion, LiFePO4, LTO, Gel, AGM, Flooded, and Calcium Battery.
Press and hold the BATTERY TYPE Button for 3 seconds to go into battery selection mode.
Press the BATTERY TYPE Button until the desired battery is displayed. After a few seconds, the highlighted battery type will automatically be selected.
NOTE
Lithium-ion batteries shown in the LCD indicate different types shown below:
Lithium Cobalt Oxide LiCoO2 (LCO) battery
Lithium Manganese Oxide LiMn2O4 (LMQ) battery
Lithium Nickel Manganese Cobalt Oxide LiNiMnCoO2 (NMC) battery
Lithium Nickel Cobalt Aluminum Oxide LiNiCoAlo2 (NCA) battery
LiFePO4 battery indicates Lithium-iron Phosphate or LFP Battery
LTO Battery indicates Lithium Titanate Oxidized, Li4Ti5O12 Battery
Pressing the AMP/VOLT Button will sequence through the following display parameters:
Battery Voltage, Charging Current, Charged Capacity (Amp-hour), and Battery Temperature (if external temperature sensor connected)
Normal Sequencing Display
NOTE
The following is an alternative display voltage for when the battery is Fully charged

LED Display

System Status Icons
LED Behavior
LED Indicators
| LED Color | RED | BLUE | RED | ORANGE | GREEN | GREEN |
| Soft-charging | ON | Blitz | ON | OFF | OFF | OFF |
| Bulk charging ( BV < 11.5V ) | ON | ON | ON | OFF | OFF | OFF |
| Bulk charging ( 11.5V < BV < 12.5V ) | ON | ON | Aus | ON | OFF | OFF |
| Bulk charging ( BV > 12.5V ) | ON | ON | Aus | Aus | ON | OFF |
| Absorption charging | ON | ON | Aus | Aus | ON | OFF |
| Float charging | ON | OFF | Aus | Aus | Aus | ON |
| Solar weak ( Dawn or Dusk ) | FLASH | OFF | According to BV | OFF | ||
| In the night | Aus | OFF | OFF | |||
LED Error Behavior
LED Indicators

| LED Color | RED | BLUE | RED | GE | GREEN | GREEN | ||
| Solar good. BV < 3V | ON | OFF | FLASH | OFF | OFF | OFF | .b01′ | FLASH |
| Solar good battery reversed | ON | OFF | FLASH | OFF | OFF | OFF | ‘b2’ | FLASH |
| Solar good, battery over-voltage | ON | OFF | FLASH | FLASH | FLASH | OFF | •b03′ | FLASH |
| Solar off, battery over-voltage | OFF | OFF | FLASH | FLASH | FLASH | OFF | ‘b3’ | FLASH |
| Solar good, battery over 65 C | ON | OFF | FLASH | FLASH | FLASH | OFF | ‘b4’ | FLASH |
| Battery good, solar reversed | FLASH | OFF | According to BV | OFF | ‘POI | FLASH | ||
| Battery good, solar overvoltage | FLASH | OFF | OFF | ‘P02’ | FLASH | |||
| Over Temperature Protection | ‘otP’ | FLASH | ||||||
System Status Troubleshooting
| Description | Troubleshoot |
| Battery over voltage | Use a multi-meter to check the voltage of the battery. Make sure the battery voltage is not exceeding the rated specification of the charge controller. Disconnect battery. |
| Confirm that there is a tight and correct connection from the battery bank to the charge controller and the solar panels to the charge controller. Use a multi-meter to check if the polarity of the solar modules has been reversed on the charge controller’s solar terminals. | |
| Everything is connected correctly, but the LCD on the controller does not turn on | Check the rated battery voltage. The LCD will not display on the charge controller unless there is at least 9V coming from the battery bank. |
Maintenance
For best controller performance, it is recommended that these tasks be performed from time to time.
- Check wiring going into the charge controller and make sure there is no wire damage or wear.
- Tighten all terminals and inspect any loose, broken, or burnt up connections
- Make sure readings in the LCD and LED are consistent.
Frequently Asked Questions
Q. Can the kit charge two or more 12V batteries connected in parallel?
A. Yes, it’s possible if the batteries have the same type and capacity and are wired in parallel as a single 12V battery bank.
Q. Is there any risk that the solar kit will overcharge my battery?
A. One of the functions of the solar charge controller is to ensure that your battery is not overcharged; therefore there is no risk of overcharge.
Q. Can I extend the battery leads?
A. Yes, it’s possible – please choose the same size of cable for extension. However, there longer the extension, the greater the line loss. A bigger gauge will be required for longer runs.
Q. Do I need to clean the solar panels?
A. Yes, it is recommended for better performance. Dust and dirt should first be swept off the panel surface using a soft brush. When the sweeping is complete, use a wet cloth to wipe the panel surface to remove the remaining dirt and grime.
Q. Can rain damage the solar kit?
A. The solar panels and charge controller are both fully waterproof (IP66, IP65).
Technical Specifications
Solar Panel Parameters
| Description | 100 W Parameters |
| Maximum Power | 100 W |
| Open Circuit Voltage (Voc) | 21.6 V |
| Short Circuit Current (Isc) | 6 A |
| Maximum Power Voltage (Vmp) | 18.0 V |
| Maximum Power Current (Imp) | 5.56 A |
| Cell Type | Monocrystalline |
| Operating Temperature | -40°F to +185°F |
| Folded Size | 19.9 x 27.2 x 2.8 inches |
| Net Weight | 27.1 lbs |
Charge Controller Parameters
Electrical Parameters
| Model Rating | 20A |
| Normal Battery Voltage | 12V |
| Maximum Solar Voltage(OCV) | 26V |
| Maximum Battery Voltage | 17V |
| Rated Charging Current | 20A |
| Battery Start Charging Voltage | 3V |
| Electrical Protection and Feature | Spark-free protection. Reverse polarity solar and battery connection Reverse current from the battery to solar panel protection at night Over-temperature protection with derating charging current Transient overvoltage protection, at the solar input and battery output protects against surge voltage |
| Grounding | Common Negative |
| EMC Conformity | FCC Part-15 class B compliant: EN55022:2010: |
| Self-consumption | < 8mA |
Mechanical Parameters
| Dimensions | L6.38 x W3.82 x H1.34 inches |
| Weight | 0.88 lbs. |
| Mounting | Vertical Wall Mounting |
| Ingress Protection Rating | IP65 |
| Maximum Terminals Wire Size | 10AWG ( 5 mm2) |
| Terminals Screw Torque | 13 lbf-in |
| Operating Temperature | -40 F to +140 ‘.’ |
| Meter Operating Temperature | -4 F to +140 |
| Storage Temperature Range | –40 F to +185 F |
| Temp. Comp. Coefficient | -24mV / °C |
| Temp. Comp. Range | -4°F — 122°F |
| Operating Humidity | 100% ( No condensation ) |
Battery Charging Parameters
| Charging Stages Soft-Charge | The output battery voltage is 3V-10VDC. Current = half of the solar panel current | ||||||
| Bulk | 10VDC to 14VDC Current = Rated Charge Current | ||||||
| Absorption @ 25°C | Constant voltage until current drops to 0.75/1.0 amps and holds for the 30s. Minimum 2 hours charging time and maximum 4 hours’ time out If charging current < 0.2A, the stage will end. | ||||||
| Li-ion 12.6V | LiFePO4 14.4V | LTO 14.0V | GEL 14.1V | AGM 14.4V | WET 14.7 V | CALCIUM 14.9 V | |
| Equalization | Only Wet (Flooded) or Calcium Batteries will equalize, 2 hours maximum Wet (Flooded) = if discharge below 11.5V OR every 28 days charging period. Calcium = every charging cycle | ||||||
| Wet (Flooded) 15.5V | Calcium 15.5V | ||||||
| Float | Li-ion N/A | LiFePO4 N/A | LTO N/A | GEL 13.6V | AGM 13.6V | WET 13.6V | CALCIUM 13.6V |
| Under Voltage Recharging | iLi-ion2 o v | L i1F3e Pit v04 | 1L3T40v | 1G2 E8Lv | 1A2G8Mv | 1W2 E8Tv | CALCIUM 1 28 V |
Charging Parameters Glossary
Equalization Voltage—equalization voltage is a corrective over-charge of the battery. The user should consult their battery manufacturer regarding specific battery equalization capacity. This parameter sets the equalization voltage to set the battery at when it reaches the equalization state.
Boost Voltage—users should check with their battery manufacturer for proper charging parameters. In this stage, users set the boost voltage where the battery will reach a voltage level and remain there until the battery undergoes an absorption stage.
Float Voltage—once the charge controller recognizes the set float voltage, it will commence floating. The battery is supposed to be fully charged in its state, and the charge current is reduced to maintain battery stability levels.
| State of Charge | 12 V Battery | Volts per Cell |
| 100% | 13. | 2. |
| 90% | 13. | 2. |
| 80% | 12. | 2. |
| 70% | 12. | 2. |
| 60% | 12.20 | 2. |
| 50% | 12. | 2. |
| 40% | 12. | 2. |
| 30% | 12. | 2. |
| 20% | 12. | 2. |
| 10% | 11. | 2. |
| 0 | 11. | 2. |
Dimensions
Renogy reserves the right to change the contents of this manual without notice.
2775 E Philadelphia St, Ontario, CA 91761, USA
909-287-7111
www.renogy.com
[email protected]
References
Renogy® Official- offer all off grid solar system products
Renogy® Official- offer all off grid solar system products
Solar Power Kits & Equipment for Sale | Renogy Australia
Renogy® Canada-Solar Off-grid Products
Renogy Weihnachten Sale Bis Zu 30% Sparen| Renogy DE
Renogy France | Produits Solaires
High Quality Solar Products | Renogy UK
RENOGY如果新能源 | 让每个人拥有独立清洁的能源
独立型太陽光発電システム専門 | RENOGY JAPANオンラインショップ

























