VIDEOTEC UPTHT1 Reinforced Heater for Low Temperatures

Before installing and using this unit, please read this manual carefully. Be sure to keep it handy for later reference.
Typographical conventions
- DANGER!
High level hazard.
Risk of electric shock; disconnect the power supply before proceeding with any operation, unless indicated otherwise. - DANGER!
Hot surface.
Avoid contact. Surfaces are hot and may cause personal injury if touched. - WARNING!
Medium level hazard.
This operation is very important for the system to function properly. Please read the procedure described very carefully and carry it out as instructed. - INFO
Description of system specifications.
We recommend reading this part carefully in order to understand the subsequent stages.
Notes on copyright and information on trademarks
The quoted names of products or companies are trademarks or registered trademarks.
Safety rules
The manufacturer declines all responsibility for any damage caused by an improper use of the appliances mentioned in this manual. Furthermore, the manufacturer reserves the right to modify its contents without any prior notice. The documentation contained in this manual has been collected with great care, the manufacturer, however, cannot take any liability for its use. The same thing can be said for
any person or company involved in the creation and production of this manual.
- The device must be installed only and exclusively by qualified technical personnel.
- Before any technical work on the appliance, disconnect the power supply.
- Do not use power supply cables that seem worn or old.
- Never, under any circumstances, make any changes or connections that are not shown in this handbook: improper use of the appliance can cause serious hazards, risking the safety of personnel and of the installation.
- Use only original spare parts. Non-original spare parts could cause fire, electrical discharge or other hazards.
- Before proceeding with installation check the supplied material to make sure it corresponds with the order specification: examine the identification labels, as described in the section on Product markings.
Identification
Product description and type designation
Upgraded heater for low-temperature use. Easy to install inside the integrated ULISSE housing, it is able to distribute heat more uniformly inside the housing.
Available in 2 types:

- UPTHT1 – For versions with motorised lenses, operation is guaranteed down to -30°C and lenses are guaranteed down to -20°C.

- UPTHT2 – For the version fitted with a Sony module the minimum temperature range of the ULISSE falls to -30°C.
Product markings
See the label attached to the outside of the package.
Preparing the product for use
Any change that is not expressly approved by the manufacturer will invalidate the guarantee.

The kit can only be installed in Pan&Tilt’s which report the “C” revision or later. Refer to the label placed on the body of the P&T as shown in the figure.
Safety precautions before use
Before carrying out any technical work, disconnect the power supply and then wait at least 30 minutes to allow the heating system to cool down. The kit has been designed specifically as an accessory for the ULISSE integrated positioning unit; do not change the wiring already done by the manufacturer.
Contents and unpacking
When the product is delivered, make sure that the package is intact and that there are no signs that it has been dropped or scratched.
If there are obvious signs of damage, contact the supplier immediately. Keep the packaging in case you need to send the product for repairs.
Check the contents to make sure they correspond with the list of materials as below:
- UPTHT1:
- 1 heater kit
- 1 slide
- 2 M4 self-tapping screws
- 4 M3 screws
- UPTHT2:
- 1 heater kit
- 1 slide
- 4 M4 self-tapping screw
Safely disposing of packaging material
The packaging material can all be recycled. The installer technician will be responsible for separating the material for disposal, and in
any case for compliance with the legislation in force where the device is to be used.Bear in mind that if the material has to be returned due to a fault, using the original packaging for its transport is strongly recommended.
Installing and assembling
Only specialised personnel should be allowed to install and assemble the device.
Take care when working with the heater PTC, the element can reach very high temperatures.
Installation
Kit for SONY FCB980 – FCBEX1000 modules
Open the housing and remove the heater and the existing slide (01), loosening the fastening screws (02) and taking out the connector (03).

Dismantle the module from the slide, re-assemble it on the new one supplied with the kit and re-attach it to the housing.
Re-attach the new heater (01) to the housing/slide using the supplied screws (02) and insert the power supply connector (03).

Kit for motorised lenses
Open the housing and remove the existing heater (01), loosening the fastening screws (02) and taking out the connector (03).
Take out the existing slide (04) by loosening the fastening screws (05).

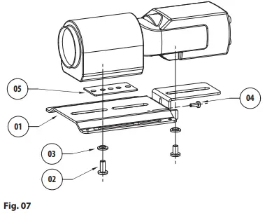
Attach the camera and/or lens to the new bracket (01) using the supplied ¼” screws (02) and washers (03) and fasten the adjustable slide in the correct position using the screw supplied for this (04).The supplied spacers (05) can also be used when positioning the camera.

Insert the screws (01) in the heater holes (02) and place it on the slide; then fix the heater paying attention not to damage the cabling.
Replace the new inner slide and lock it using the screws supplied for this (03).
Adjust the lens.
Re-attach the new heater (04) to the housing/slide using the supplied screws (01) and insert the power supply connector (05).

Disposal of waste materials
This symbol mark and recycle system ar e applied only to EU countries and not applied to the countries in the other area of the world.
Your product is designed and manufactured with high quality materials and components which can be recycled and reused.
This symbol means that electrical and electronic equipment, at their end-of-life, should be disposed of separately from your household waste.Please dispose of this equipment at your local Community waste collection or Recycling centre. In the European Union there are separate collection systems for used electrical and electronic products.




















