GAINSBOROUGH K337 20PC Solar Bulb String Lights
Dimensions
- CLASSIC BULB SHAPED SOLAR STRING LIGHTS
- WITH 20 BULBS EACH SPACED 20CM APART TOTAL LIGHT STRING 3.8M
- 2M CABLE TO SOLAR PANEL
- WITH 2 LIGHT SETTINGS OF EITHER STEADY OR FLASHING
- GREAT FOR HANGING AROUND YOUR GARDEN, PARASOL, FOR STREET PARTIES ETC
- THE RED WHITE AND BLUE ONES ARE PERFECT FOR CELEBRATING THE QUEENS JUBILEE!
- SOLAR POWERED SO THEY AUTOMATICALLY COME ON AT NIGHT
- CHOOSE BETWEEN EITHER COLOUR CHANGING OR RED, WHITE AND BLUE IF YOU ARE FEELING PATRIOTIC!
ASSEMBLY INSTRUCTIONS / INSTRUCTIONS FOR USE:
Unpack the components carefully. Please check all parts have been removed from the packaging.
BEFORE FIRST USE: Remove the protective film from the solar panel.
CHARGING AND OPERATION:
- Set switch (located on the back of solar case) to “S (steady on)” OR “F (flash)” position. Charge the solar product by placing it under direct sunlight for at least 8 hours.
- The light will work automatically. It will automatically charge under direct sunlight during the daytime and illuminate at night.
NOTE:
In order to verify that the switch is correctly in the “S” OR “F” position, cover the solar panel with your hand and the light should turn on automatically.
Find an ideal Place for the Solar Light.
Place the solar light in an area where it will receive direct sunlight for at least 8 hours per day. The number of hours the light will illuminate is directly proportional to the hours of sunlight it receives. If the light is placed in a shaded area, it will not be able to fully charge and its illumination time will be limited. Do not place the light near other outdoor lighting like porch or streetlights. These may fool the sensor and keep the light from coming on, or cause it to turn off automatically
Care and Maintenance Recommendations
- Clean solar panel with a soft sponge every couple of weeks.
- Make sure all connectors are still tight and no water getting in.
- Make sure the switch is set to “S” OR “F” position.
- If solar product does not light up after it has been used for around 8 – 12 months, replace the rechargeable batteries as they may be weak or worn out. (Battery 1x AA 1.2v 600Mah, Ni-MH, Rechargeable– Same equivalent type as recommended must be used).
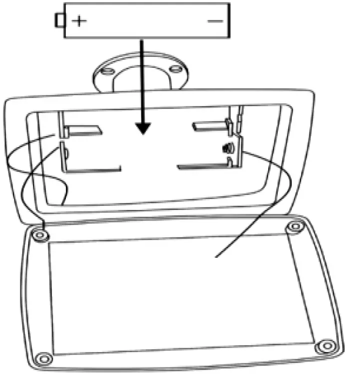
- Battery replacement:


Step1: Unscrew the battery compartment cover by using a Phillips head screwdriver (not included) .
Step2: Remove the exhausted battery and install 1 pc new AA rechargeable battery according to the +/- polarity as beside image. Open the compartment carefully and ensure that welding wires inside the battery terminals are not damaged.
Step3: Replace battery compartment cover, screw it back into position and make sure is properly sealed.
Step4: Charge battery in direct sunlight for at least 8 hours.
BATTERIES
- Keep batteries away from children and pets.
- Do not mix used and new batteries.
- Remove the batteries if left for long periods.
- Never dispose of batteries in a fire.
- Battery disposal, spent or expired batteries must be properly disposed of and recycled in compliance with local regulations. For detailed information, contact your local authority.
- Follow the battery manufacturer’s safety, usage, and disposal instructions.
DISPOSAL
- Coopers of Stortford use recyclable or recycled packaging where possible.
- Please dispose of all packaging, paper, cartons, packaging in accordance with your local recycling regulations.
- Plastics, polybags – this is made from the following recyclable plastic.
- At the end of the product’s lifespan please check with your local council authorised household waste recycling centre for disposal.





















