GGM Gastro MWM1721 Digital Microwave Oven 2100 Watt
Introduction
Read these instructions carefully before using your microwave oven, and keep it carefully.
If you follow the instructions, your oven will provide you with many years of good service.
SAVE THESE INSTRUCTIONS CAREFULLY
PRECAUTIONS TO AVOID POSSIBLE EXPOSURE TO EXCESSIVE MICROWAVE ENERGY
- (a) Do not attempt to operate this oven with the door open since this can result in harmful exposure to microwave energy. It is important not to break or tamper with the safety interlocks.
- (b) Do not place any object between the oven front face and the door or allow soil or cleaner residue to accumulate on sealing surfaces.
- (c) WARNING: If the door or door seals are damaged, the oven must not be operated until it has been repaired by a competent person.
ADDENDUM
If the apparatus is not maintained in a good state of cleanliness, its surface could be degraded and affect the lifespan of the apparatus and lead to a dangerous situation.
Specifications
| Model: | MWM1721 |
| Rated Voltage: | 230V~50Hz |
| Rated Input Power(Microwave): | 3200W |
| Rated Output Power(Microwave): | 2100W |
| Oven Capacity: | 17L |
| External Dimensions: | 420 563 340mm |
| Net Weight: | Approx. 31.6kg |
IMPORTANT SAFETY INSTRUCTIONS WARNING
To reduce the risk of fire, electric shock, injury to persons or exposure to excessive microwave oven energy when using your appliance, follow basic precautions, including the following:
- Warning: Liquids and other foods must not be heated in sealed containers since they are liable to explode.
- Warning: It is hazardous for anyone other than a competent person to carry out any service or repair operation that involves the removal of a cover which gives protection against exposure to microwave energy.
- This appliance can be used by children aged from 8 years and above and persons with reduced physical, sensory or mental capabilities or lack of experience and knowledge if they have been given supervision or instruction concerning use of the appliance in a safe way and understand the hazards involved. Children shall not play with the appliance. Cleaning and user maintenance shall not be made by children unless they are older than 8 and supervised.
- Keep the appliance and its cord out of reach of children less than 8 years.
- Only use utensils that are suitable for use in microwave ovens.
- The oven should be cleaned regularly and any food deposits should be removed.
- Read and follow the specific: “PRECAUTIONS TO AVOID POSSIBLE EXPOSURE TO EXCESSIVE MICROWAVE ENERGY”.
- When heating food in plastic or paper containers, keep an eye on the oven due to the possibility of ignition.
- If smoke is emitted, switch off or unplug the appliance and keep the door closed in order to stifle any flames.
- Do not overcook food.
- Do not use the oven cavity for storage purposes.
Do not store items, such as bread, cookies, etc. inside the oven. - Remove wire twist-ties and metal handles from paper or plastic containers/bags before placing them in the oven.
- Install or locate this oven only in accordance with the installation instructions provided.
- Eggs in the shell and whole hard-boiled eggs should not be heated in microwave ovens since they may explode, even after microwave heating has ended.
- This appliance is intended to be used in household and similar applications such as:
-staff kitchen areas in shops, offices and other working environments;
-by clients in hotels, motels and other residential type environments;
-farm houses;
-bed and breakfast type environments. - If the supply cord is damaged, it must be replaced by the manufacturer, its service agent or similarly qualified persons in order to avoid a hazard.
- Do not store or use this appliance outdoors.
- Do not use this oven near water, in a wet basement or near a swimming pool.
- The temperature of accessible surfaces may be high when the appliance is operating. The surfaces are liable to get hot during use. Keep cord away from heated surface, and do not cover any vents on the oven.
- Do not let cord hang over edge of table or counter.
- Failure to maintain the oven in a clean condition could lead to deterioration of the surface that could adversely affect the life of the appliance and possibly result in a hazardous situation.
- The contents of feeding bottles and baby food jars shall be stirred or shaken and the temperature checked before consumption, in order to avoid burns.
- Microwave heating of beverages can result in delayed eruptive boiling, therefore care must be taken when handling the container.
- The appliance is not intended for use by persons (including children) with reduced physical, sensory or mental capabilities, or lack of experience and knowledge, unless they have been given supervision or instruction concerning use of the appliance by a person responsible for their safety.
- Children should be supervised to ensure that they do not play with the appliance.
- The appliances are not intended to be operated by means of an external timer or separate remote-control system.
- Accessible parts may become hot during use. Young children should be kept away.
- Steam cleaner is not to be used.
- During use the appliance becomes hot. Care should be taken to avoid touching heating elements inside the oven.
- Only use the temperature probe recommended for this oven.(for ovens provided with a facility to use a temperature-sensing probe.)
- WARNING: The appliance and its accessible parts become hot during use. Care should be taken to avoid touching heating elements. Children less than 8 years of age shall be kept away unless continuously supervised.
- The microwave oven must be operated with the decorative door open. (for ovens with a decorative door.)
- The rear surface of appliance shall be placed against a wall.
- The microwave oven must not be placed in a cabinet.
- The microwave oven is intended for heating food and beverages. Drying of food or clothing and heating of warming pads, slippers, sponges, damp cloth and similar may lead to risk of injury, ignition or fire.
READ CAREFULLY AND KEEP FOR FUTURE REFERENCE
To Reduce the Risk of Injury to Persons Grounding Installation
DANGER
Electric Shock Hazard
Touching some of the internal components can cause serious personal injury or death. Do not disassemble this appliance.
WARNING
Electric Shock Hazard Improper use of the grounding can result in electric shock.
Do not plug into an outlet until appliance is properly installed and grounded.
This appliance must be grounded. In the event of an electrical short circuit, grounding reduces the risk of electric shock by providing an escape wire for the electric current.
This appliance is equipped with a cord having a grounding wire with a grounding plug. The plug must be plugged into an outlet that is properly installed and grounded.
Consult a qualified electrician or serviceman if the grounding instructions are not completely understood or if doubt exists as to whether the appliance is properly grounded.
If it is necessary to use an extension cord, use only a 3-wire extension cord.
- A short power-supply cord is provided to reduce the risks resulting from becoming entangled in or tripping over a longer cord.
- If a long cord set or extension cord is used:
- The marked electrical rating of the cord set or extension cord should be at least as great as the electrical rating of the appliance.
- The extension cord must be a grounding-type 3-wire cord.
- The long cord should be arranged so that it will not drape over the counter top or tabletop where it can be pulled on by children or tripped over unintentionally
CLEANING
Be sure to unplug the appliance from the power supply.
- Clean the cavity of the oven after using with a slightly damp cloth.
- Clean the accessories in the usual way in soapy water.
- The door frame and seal and neighbouring parts must be cleaned carefully with a damp cloth when they are dirty.
- Do not use harsh abrasive cleaners or sharp metal scrapers to clean the oven door glass since they can scratch the surface, which may result in shattering of the glass.
- Cleaning Tip—For easier cleaning of the cavity walls that the food cooked can touch: Place half a lemon in a bowl, add 300ml (1/2 pint) water and heat on 100% microwave power for 10 minutes. Wipe the oven clean using a soft, dry cloth.
UTENSILS
CAUTION
Personal Injury Hazard
It is hazardous for anyone other than a compentent person to carry out any service or repair operation that involves the removal of a cover which gives protection against exposure to microwave energy.
See the instructions on “Materials you can use in microwave oven or to be avoided in microwave oven.”
There may be certain non-metallic utensils that are not safe to use for microwaving. If in doubt, you can test the utensil in question following the procedure below.
Utensil Test:
- Fill a microwave-safe container with 1 cup of cold water (250ml) along with the utensil in question.
- Cook on maximum power for 1 minute.
- Carefully feel the utensil. If the empty utensil is warm, do not use it for microwave cooking.
- Do not exceed 1 minute cooking time.
Materials you can use in microwave oven
| Utensils | Remarks |
| Browning dish | Follow manufacturer’s instructions. The bottom of browning dish must be at least 3/16 inch (5mm) above the turntable. Incorrect usage may cause the turntable to break. |
| Dinnerware | Microwave-safe only. Follow manufacturer’s instructions. Do not use cracked or chipped dishes. |
| Glass jars | Always remove lid. Use only to heat food until just warm. Most glass jars are not heat resistant and may break. |
| Glassware | Heat-resistant oven glassware only. Make sure there is no metallic trim. Do not use cracked or chipped dishes. |
| Oven cooking bags | Follow manufacturer’s instructions. Do not close with metal tie. Make slits to allow steam to escape. |
| Paper plates and cups | Use for short–term cooking/warming only. Do not leave oven unattended while cooking. |
| Paper towels | Use to cover food for reheating and absorbing fat. Use with supervision for a short-term cooking only. |
| Parchment paper | Use as a cover to prevent splattering or a wrap for steaming. |
| Plastic | Microwave-safe only. Follow the manufacturer’s instructions. Should be labeled “Microwave Safe”. Some plastic containers soften, as the food inside gets hot. “Boiling bags” and tightly closed plastic bags should be slit, pierced or vented as directed by package. |
| Plastic wrap | Microwave-safe only. Use to cover food during cooking to retain moisture. Do not allow plastic wrap to touch food. |
| Thermometers | Microwave-safe only (meat and candy thermometers). |
| Wax paper | Use as a cover to prevent splattering and retain moisture. |
Materials to be avoided in microwave oven
| Utensils | Remarks |
| Aluminum tray | May cause arcing. Transfer food into microwave-safe dish. |
| Food carton with metal handle | May cause arcing. Transfer food into microwave-safe dish. |
| Metal or metaltrimmed utensils | Metal shields the food from microwave energy. Metal trim may cause arcing. |
| Metal twist ties | May cause arcing and could cause a fire in the oven. |
| Paper bags | May cause a fire in the oven. |
| Plastic foam | Plastic foam may melt or contaminate the liquid inside when exposed to high temperature. |
| Wood | Wood will dry out when used in the microwave oven and may split or crack. |
SETTING UP YOUR OVEN
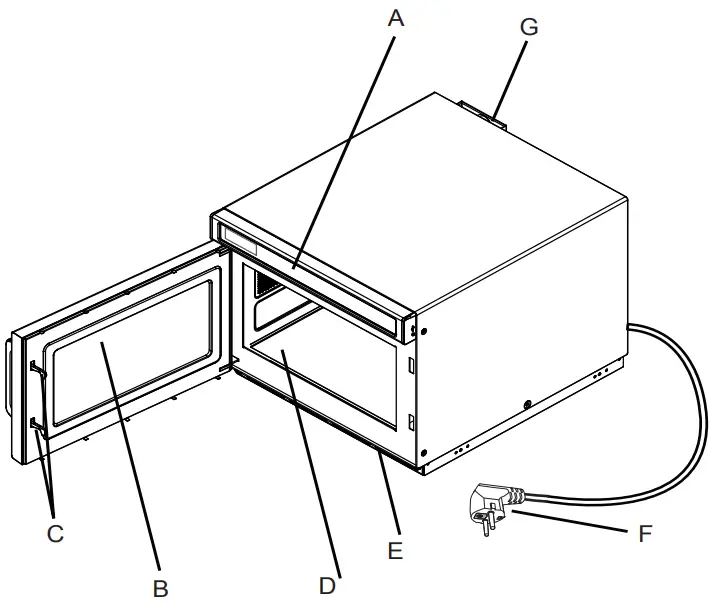
Names of Oven Parts and Accessories
Remove the oven and all materials from the carton and oven cavity.
Your oven comes with the following accessories:
Instruction Manual
- A) Control panel
- B) Observation window
- C) Safety interlock system
- D) Ceramic board
- E) Filter
- F) Plug
- G) Ventilation
Note:
- Don’t press the ceramic board forcibly.
- Take and put the utensils gently during the operation in order to avoid damage the ceramic board.
- After using, don’t touch the ceramic board by hand in order to avoid high temperature scald.
Countertop Installation
Remove all packing material and accessories.
Examine the oven for any damage such as dents or broken door. Do not install if oven is damaged.
Cabinet: Remove any protective film found on the microwave oven cabinet surface.
Installation
- Select a level surface that provide enough open space for the intake and/or outlet vents (Figure1) .

A 10-cm spacing should be kept between the appliance and right and back walls, and a 30-cm spacing kept on the top. Never dismantle the applicance’s feet ,nor block the air intake and exhaust opening. The left side must be open.- Blocking the intake and/or outlet openings can damage the oven.
- Place the oven as far away from radios and TV as possible.
Operation of microwave oven may cause interference to your radio or TV reception. - Plug your oven into a standard household outlet. Be sure the voltage and the frequency is the same as the voltage and the frequency on the rating label.
- Warning: T he plug socket,electric appliances or the appliance which are liable effected by heat and moisture should be kept away from any vents on the oven.
- Stacking and installation of the microwave oven.
The maximum height of stacking shall be two layers. Specific stacking installation is as follows- (A) Unscrew and remove the mounting plate, and then tighten the screws.
- (B) Remove the four screws as shown in Figure.
- (C) Mount the mounting plate to the lower position and fix the screws that are just loosened.

Cleaning Instructions
Always keep the oven clean
- 1. Cleaning the glass viewing window, the inner door panel and oven front face.
For best performance and to maintain the high degree of safety, the inner door panel and oven front face should be free of food or grease build-up. Wipe these parts with a mild detergent, rinse and wipe dry. Never use abrasive powders or pads. - Cleaning the control panel and plastic parts.
Do not apply a detergent or an alkaline liquid spray to the control panel and plastic parts, as this may cause damage to these parts.
Use a dry cloth (not a soaked cloth) to clean these parts. - Cleaning the oven interior
After use be sure to clean up spilled liquids, spattered oil and food debris as quickly as possible. If the oven is used when dirty, efficiency drops and the dirt gets stuck on the oven surface and may cause bad odours. Clean the interior with a cloth soaked in luke-warm water with a mild detergent dissolved in it, then rinse the soap off with a damp cloth. - Cleaning the oil blockage regularly, keep the oil blockage clear .Otherwise, the stain on the oil blockage will drop on the food.
- Cleaning the filter regularly, keep it clear .The appliance will over heat when the filter is blocked.
- When the appliance is operated, oil blockage and filter location must correct vioding to damage other parts . ,a (the installation in page 19and 20).
CAUTION: Do Not wipe plastic and painted sections of the oven with bleach, thinners or other cleaning agents, as this may cause these parts to dissolve or change sharp.
OPERATION
Control Panel(with braille) and Features
- Defrost Button
- USB Buttons
- Power Level Button
- Time Entry Button
- Double Quantity Button
- Triple Quantity Button
- Number Buttons
- Stop/Reset Button
- Start Button
OPERATION INSTRUCTION
Appendix. A User Options
Items bolded below are the default values.
| Option | Setting | Discription |
| 1 EOC Tone | OP:10 | 3 seconds beep |
| OP:11 | Continuous beep | |
| OP:12 | 5 quick beeps,Repeating | |
| 2 Beeper Volume | OP:20 | Beeper Off |
| OP:21 | Low | |
| OP:22 | Medium | |
| OP:23 | High | |
| 3 Beeper On/Off | OP:30 | Keybeep Off |
| OP:31 | Keybeep On | |
| 4 Keyboard Window | OP:40 | 15 seconds |
| OP:41 | 30 seconds | |
| OP:42 | 60 seconds | |
| OP:43 | 120 seconds | |
| 5 On the Fly | OP:50 | On-the-Fly Disabled |
| OP:51 | On-the-Fly Enabled | |
| 6 Door Reset | OP:60 | Door reset Disabled |
| OP:61 | Door Reset Enabled | |
| 7 Max time | OP:70 | 60 Minute Maximum Cook Time |
| OP:71 | 10 Minute Maximum Cook Time | |
| 8 Manual Programming | OP:80 | Manual Programming Disabled |
| OP:81 | Manual Programming Enabled | |
| 9 Double Digit | OP:90 | Single Digit Mode-10 programs |
| OP:91 | Doule Digit Mode-100 programs | |
| 0 Clean filter | OP:00 | Off-Never Display Clean filter |
| OP:01 | Weekly-Display every 7 days | |
| OP:02 | Monthly-Display every 30 days | |
| OP:03 | Quarterly-Display every 90 days |
Appendix. B Default Cook Times
The oven shall ship with the following Preset Cook Times unless otherwise noted in the product Specification.
| Button | Display (Time) | Power |
| 1 | 0:10 | 100% |
| 2 | 0:20 | 100% |
| 3 | 0:30 | 100% |
| 4 | 0:45 | 100% |
| 5 | 1:00 | 100% |
| 6 | 1:30 | 100% |
| 7 | 2:00 | 100% |
| 8 | 2:30 | 100% |
| 9 | 3:00 | 100% |
| 0 | 3:30 | 100% |
- Power Up
When the oven is electrified for the first time, ” ——- ” will display. If “
” button pressed, the oven will change to idle mode .
Note: Under idle mode, any button press will no response. - Idle Mode
1) Entry. The oven shall enter idle mode after a set of seconds have expired in Ready Mode without a keyboard press or a door open and close. The number of seconds is determined by the keyboard Timeout Window, set by User Option 4.
2) During idle mode, the screen displays ECO. And there shall be no oven activity.
3) Opening and then closing the oven door, the oven will exit the idle mode and into ready mode.
Note: Under idle mode, any button press will no response. If “
” button pressed, the buzzer will ring once .And there shall be no oven activity. - Ready Mode
1) In this mode, the oven is ready to either begin a manual or preset cook cycle.
2) Opening and closing the door while the oven is in Idle Mode will put the oven into Ready Mode.
2) During Ready Mode, “READY” displays.
3) From the Ready Mode, the oven can go to almost all of the other modes. - Door Open Mode
1) While the door of the oven is open, the oven shall be in Door Open Mode.
2) During this mode, the screen is blank. If the door is open during cooking state, “DOOR” and “OPEN” will display in order for once. Then the screen will display the remaining cooking time. And the fan and oven lamp work.
3) When the door is closed, the oven shall be enter Ready Mode.
Note: When the door is open, if User Option OP:60 is selected and the oven was running a manual or preset cook cycle, the oven shall enter Pause Mode. In all other cases, the oven shall return to Door open Mode with User Option OP:61 set, opening and closing the door will clear out any information about a Manual or Preset Program which was running. - Pause Mode
1) This mode allow the users to temporarily stop the cooking cycle to inspect or stir the food item.
2) While in Manual Cook Mode or Preset Program Cook Mode, if the door is open and then closed, or if the “
” pad is pressed, the oven will enter Pause Mode.
3) While paused, the screen will display the remaining cooking time.
4) Pause Mode will expire back to Idle Mode in the exact fashion as Ready Mode, dependent on User Option 4. Additionally, if the “
” button is pressed, the oven shall immediately enter Ready Mode. OR if press “
” button, the oven will go into working mode. - Manual Cook Entry Mode
1) The user may manuallly enter a cook time and power level while in this mode.
2) While the oven is in the Ready Mode, pressing the “Time Entry” pad on the keyboard will put the oven into Manual Cook Entry Mode.
3) During this mode, “00:00” displays ,input the time you need.
4) Press “Power Level” button, “%POWER” displays. Press number buttons to select power level you want, and the corresponding power will light. If you want to choose full power level, press “1” and “0” successively. Then the screen will display “%POWER” If no power chosen, 100% power is default.
5) During setting process, press “
” to enter Manual Cook Mode. Press “
” to enter Ready Mode. - Manual Cook Mode
1) This mode allows cooking of the food items. While in Manual Cook Entry Mode, pressing the “
” pad will cause to the oven to begin Manual Cook Mode.
2) During this mode, remaining cooking time displays. The fan and oven lamp will light.
3) When cooking program finish, the oven will enter End of Cook Cycle Mode.
If you press “
” button under this mode, the oven will enter Pause Mode. - End of Cook Cycle Mode
1) After the time has expired in a Manual Cook Mode, or a Preset Program Cook Mode, the oven shall go into The End of Cook Cycle Mode.
2) During this mode, “DONE” displays.
3) If either User Option OP:11 or “OP:12″ is selected, the oven shall continue to sound until the user acknowledges this by either opening and closing the door or pressing the ”
” pad. If User Option OP:10 is selected, after the 3 second beep, the oven shall display “DONE”. After the beep, “READY” will display and the oven will enter Idle Mode without any operation for a period of time. - Preset Program Cook Mode
1) This mode allows cooking of food items through a one pad touch operation.
While in Ready Mode, pressing number buttons will cause the oven to run the Preset Program associated with that number button.
2) During this mode, the screen displays the remaining cooking time. If it is multi-stage cooking, the total remaining cooking time displays not a particular stage cooking time.
3) When cooking program finish, the oven will enter End of Cook Cycle Mode.
If you press “
” button under this mode, the oven will enter Pause Mode. - On the Fly Cooking
1) While the oven is cooking, if User Option OP:51 is selected, press number buttons, the preset cooking program will start automatically.
2) The screen displays the remaining cooking time.
3) When cooking program finish, the oven will enter End of Cook Cycle Mode. - Time Defrost Function
(1) In Ready Mode, Press “DEFROST” button, screen will display “00.00”.
(2) Press number buttons to input defrosting time. The maximum time is 99 minutes and 99 seconds.
(3) Press ” ” to start defrosting. The default power is power level 20%.
(4) The remained cooking time will be displayed. When cooking program finish, the oven will enter End of Cook Cycle Mode. If you press “
” button under this mode, the oven will enter Pause Mode. - Programming Mode
This mode allows the user to assign cook times and power levels to the once touche button.
1) Open the door and press “1” pad for 5 seconds, the buzzer will sound once and enter to Programming Mode.
2) “PROGRAM” displays.
3) Setting Program: Press number button to set the program. 2 seconds later, the screen will display the time associate with that number button.
4) Input the time: Press number buttons to input time.
5) Press “POWER LEVEL” button, “%POWER” displays. Press number buttons to select power level you want, and the corresponding power will light. If you want to choose full power level, press “1” and “0” successively. Then the screen will display “%POWER”. If no power chosen, 100% power is default.
Note: Set the time first, then choose the power.
6) After setting the time and power, press “
“, the cooking program will be saved.
When the program saved, “PROGRAM” display
7) If all the cooking time exceeds the MAX. time User Option 7, when press “
” to save the program, the buzzer will sound three times briefly tell you the time is no use. And then the screen turn back to display “PROGRAM”.
The time set before will be no change.
8) Close the door, the oven will turn back to Ready Mode.
If press “
” button during setting process, the oven turn to Door Open Mode.
The program that not saved will be lost. If there is program saved as memory procedure, press the related number button, the saved program will start. If no saved program, the buzzer will alarm when pressing number button and it will not work.
For example: set the program as memory cooking. Power level 70% and cooking time is 1 minute and 25 seconds.
Step1: Open the door, press number button “1” for 5 seconds,”PROGRAM” displays.
Step 2: Press number button “3”, the screen will display “P:03″,After two seconds, the screen will display the related time ” :30″.
Step 3: Press number buttons “1”, “2” and “5” to input the cooking time.
Step 4: Press “7 ” button,”1:25 70 ” displays. Setting finished.
Step 5: Press “
” to save. When use the program next time, just press “3”, the related program will start.
Note:
1. If the electricity is cut off, the saved program will not lost.
2. If the program need to reset , just repeat the aboved steps.
3. If press “
” at the last step, it will turn back to Ready Mode. The setting will be no use. - Double/Triple Quantity cooking
2) If the “X2” or “X3” button is pressed in Ready Mode, followed by the starting of a Preset Program, or if the “X2” or “X3” button is pressed in 5 seconds of starting a Preset Program, the oven will start cooking with the quantity preset cooking time.
3) Press “X2”, “DOUBLE” displays. Press “X3”, “TRIPLE” displays When press number buttons, the screen will display the quantity preset time.
For example, number button “5” and its preset time is 1 minute. Then press “X2”, then time will change to 1:00*2=2 (2 minutes)
4) When cooking program finish, the oven will enter End of Cook Cycle Mode. - Stage Cooking Programming
This allows the user to cook food items at manual cook mode and programming m de.
1) Three stages can be set at most under cooking mode or programming mode.
After setting the power and time for the first stage, press ” Time Entry ” to set the second stage.
And the same step to set the third stage.
2) When setting the second, third stage, press ” Time Entry”, “STAGE 2″,”STAGE 3” displays.
3) Press “
” button to start cooking.
Example: In programming mode, press number buttons “3” to set two stages cooking.
The first stage is PL7 and time is 1 minute 25 seconds. The second stage is PL5 and 5 minutes and 40 seconds. The steps are follow.
a. Open the door press number button “1” for 5 seconds, “PROGRAM” displays.
b. Press number button “3”, the screen will display “P:03″,After two seconds, the screen will display the related time ” :30″.
c. Press “1”,”2″,”5″ to input the cooking time. “1:25” displays.
d. Press “Med-Hi 70% “, ” 1:25 70″ displays.
The first stage is finished.
e. Press ” Time Entry”, “STAGE 2” displays.
f. Press “5”, “4”,”0″ button, “5:40” displays.
g. Press “Medium 50% “, “5:40 50” displays.
The second stage is finished.
h. Press “
” button to start cooking.
i. The total time counts down. - Filter Cleaning Function
(1) If User Option OP:01 is selected and the setting time arrives, the oven will remind the user to cleaning the filter.
Note: The oven must be electrified.
(2) The screen will display “CLEAN FILTER”. At this time, pressing “
” button or opening the door will put the oven into Ready Mode.
(3) If you do not need to clean the filter , press “
” button and hold for 3 seconds to clear out the reminder information. Otherwise, the oven will remind you all the time during Idle Mode. - USB Function
(1) During Ready Mode, insert the U disk which saved the “UTABLE” file.
(2) Press “USB” button to update the data of computer board. “LOADING” displays.
(3) If the update is successful, the screen will display “SUCCESS”. Otherwise, “FAIL” will display.
(4) Press “
” or open the door to finish it. - Use Option Mode
This allows the user choose between various ways for the oven to operate.
1) Open the oven door and press “2” pad for 5 seconds. The buzzer sounds once and enter this mode.
2) The screen displays “OP: – -“.
3) Press any number button to enter related mode setting.
For example: to set the voice of the buzzer to medium. Press ” 2 “, “OP:22” displays.
If you want to change, keep pressing “2”, the screen displays “OP:20”, “OP:21″,”OP:22”, “OP:23”, “OP:20” …..in cycle.
4) Press “
” to save the current setting. After saved, “OP: – -” display again.
5) During setting process, press “
” to enter Door Open Mode. Close the door will enter Ready Mode.
6) If “
” button not pressed at the last step, the program cannot be saved but stay at previous way. - Factory-default setting
In the Ready Mode, pressing ” ” and ” 0 ” to factory-default setting.
1) Press “
” and ” 0 “, the buzzer sounds once, and the screen will display “CHECK”.
If it is in the factory-default setting, the screen will display ” 11 “,after three seconds, the oven turn to the ready mode Press”
” to cancel the display ang back to ready back in the process of display.
If not in the factory-default setting, the screen will display ” 00 “, press”
” to the factory-default setting, the screen will display ” CLEAR “. the buzzer sounds once, after self-testing, the screen will display “11” or”00″.
2) If do not press “
” when the screen display ” 00 “,the setting will cancel.
Note: Be careful in the operation as it will restore all configure to factort-default setting.
How to set the U disk
- Insert the U disk to computer and open the file calledS “ Setup ”.

- Double-click “MenuEdit” to enter editable interface.
(Recommendation: Right-click and choose “Run as administrator “)
- Set the maximum cooking time of single menu.

- Set the first menu, two stages of cooking can be maximumly set. And you can set the cooking time and power.

- Click “ New Line ” to create the second menu, the third menu , the forth menu … And 20 menus can be maximumly set.

- Click “ Export File ” to export the file to U disk. And the file will be named “ UTABLE.C ”.
Then click “ Save ” to finish the setting.
Filter cleaning
The front filter serves as the air inlet; the filter should be cleaned on time to keep the chamber clean.
- Turn counterclockwise to unscrew and take down the filter ; and wash it with warm soap water;
- Install the filter screen Tighten clockwise the screws to fix the filter ;
- Make sure the filter is installed before use of the microwave oven;
- The factory setting has the function to remind the user of washing the filter every 30 days.
(6) Splash shield cleaning
- 1. Detaching: Hold the two buckle positions in front of the splash shield with your hands (as shown by the arrows). Exert your strength following the direction of the arrows and pull downwards after you have pulled out the buckles:
- Wash the splash shield:
- Installation: Pick up the splash shield and obliquely put it into the chamber in the way that insert the first pin at the rear into the positioning hole on the rear plate of chamber, then push the other side to insert all positioning pins into their positioning holes.
Installation (supplement)
- The switching operation of this microwave oven can cause voltage fluctuations on the supply line. The operation of this oven under unfavorable voltage supply conditions can have adverse effects. This device is intended for the connection to a power supply system with a maximum permissible system impedance Zmax of 0.3 Ohms at the interface point of the user’s supply. The user has to ensure that this device is connected only to a power supply system which fulfills the requirement above. If necessary, the user can ask the public power supply company for the system impedance at the interface point.
- If there is no equipotential bonding conductor in the electric supply, an external equipotential bonding conductor must be installed at the rear of the appliance (see symbol).
This terminal shall be in effective electrical contact with all fixed exposed metal parts and shall allow the connection of a conductor having a nominal cross-sectional area up to 10 mm².
Symbol for the external connection of equipotential bonding conductors.
Trouble shooting
Normal | |
| Microwave oven interfering TV reception | Radio and TV reception may be interfered when microwave oven operating. It is similar to the interference of small electrical appliances, like mixer, vacuum cleaner, and electric fan. It is normal. |
| Dim oven light | In low power microwave cooking, oven light may become dim. It is normal. |
| Steam accumulating on door, hot air out of vents | In cooking, steam may come out of food. Most will get out from vents. But some may accumulate on cool place like oven door. It is normal. |
| Oven started accidentally with no food in. | It is forbidden to run the unit without any food inside. It is very dangerous. |
| Trouble | Possible Cause | Remedy |
| Oven can not be started. | (1) Power cord not plugged in tightly. | Unplug. Then plug again after 10 seconds. |
| (2) Fuse blowing or circuit breaker works. | Replace fuse or reset circuit breaker (repaired by professional personnel of our company) | |
| (3) Trouble with outlet. | Test outlet with other electrical appliances. | |
| Oven does not heat. | (4) Door not closed well. | Close door well. |
WEEE
According to Waste of Electrical and Electronic Equipment (WEEE) directive, WEEE should be separately collected and treated. If at any time in future you need to dispose of this product please do NOT dispose of this product with household waste. Please send this product to WEEE collecting points where available.



























