TORO CE Kit Multi Pro 5800-G Turf Sprayer
Safety
Safety and Instructional Decals
Safety decals and instructions are easily visible to the operator and are located near any area of potential danger. Replace any decal that is damaged or missing.

1. Grab boom here
1. Tank contents
Installation
Loose Parts
Use the chart below to verify that all parts have been shipped.
| Procedure | Description | Qty. | Use |
| 1 | No parts required | – | Prepare the machine. |
| Front fan guard | 1 | ||
| Rear fan guard | 1 | ||
| 2 | Carriage bolt (5/16 x 3/4 inch) Flange locknut (5/16 inch) Capscrew (5/16 x 2-3/4 inches) | 4 4 2 | Install the fan guard. |
| Washer (3/8 x 7/8 inch) | 2 | ||
| Spacer | 4 | ||
| 3 | Horn switch (switch, jam nut, and knurled nut) | 1 | Install the wire harness and horn switch. |
| Wire harness | 1 | ||
| 4 | Horn | 1 | |
| Capscrew (5/16 x 3/4 inch) | 1 | Install the horn. | |
| Flange locknut (5/16 inch) | 1 | ||
| 5 | Cable ties | 6 | Install the kit wire harness. |
| PPE storage bag | 1 | ||
| 6 | Hoop rod Mount bracket U-bolt | 1 1 1 | Install the PPE storage bag. |
| Flange locknut (3/8 inch) | 2 | ||
| 7 | Folding boom decal (104-8904) | 2 | |
| Tank contents-slate decal (119-9434) | 1 | Apply the decals on the booms. | |
| Regulatory decal | 1 |
Preparing the Machine
No Parts Required
Procedure
- Park the machine on a level surface with enough area to lower the booms.
- Engage the parking brake.
- Lower the booms.
- Shut off the engine and remove the key.
- Wait for all moving parts to stop.
- Allow the engine to cool.
Installing the Fan Guard5
Parts needed for this procedure:
| 1 | Front fan guard |
| 1 | Rear fan guard |
| 4 | Carriage bolt (5/16 x 3/4 inch) |
| 4 | Flange locknut (5/16 inch) |
| 2 | Capscrew (5/16 x 2-3/4 inches) |
| 2 | Washer (3/8 x 7/8 inch) |
| 4 | Spacer |
Removing the Air-Cleaner Hose
- Rotate both seats forward and secure them with the prop rods.
- Below the passenger seat area, remove the 2 hose clamps that secure the air-cleaner hose to the vent T-tube and the throttle-body inlet (Figure 1)

- Air-cleaner hose
- Hose clamp
- Vent T-tube
- Front of the machine
- Throttle-body inlet
3. Remove the air-cleaner hose from the vent tube and throttle body.
Installing the Forward Fan Guard
- Remove the 2 capscrews (5/16 x 3/4 inch), 2 lock washers (5/16), and 2 washers
(5/16) that secure the upper fan shroud (Figure 2).
Note: Discard the capscrews, lock washers, and washers.

- Upper fan shroud
- Washer (5/16 inch)
- Lock washer (5/16 inch)
- Capscrew (5/16 x 3/4 inch)
- Front of the machine
Position the forward fan guard under the center console
- Forward fan guard
- Spacers
- Fan shroud
- Washer (5/16 inch)
- Capscrew (5/16 x 2-3/4 inches)
- Front of the machine
Align the holes on the forward fan guard with the holes in the fan shroud (Figure 3).
Install the guard to the shroud (Figure 3) with the 4 spacers, 2 washers (5/16 inch), and 2 capscrews (5/16 x 2-3/4 inches).
Installing the Rear Fan Guard
- Align and rotate the rear fan guard under the center console as shown in Figure 4.

1. Front fan guard - Assemble the front fan guard to the rear fan guard (Figure 4) with 4 carriage bolts (1/4 x 3/4 inch) and 4 flange locknuts (1/4 inch).

1. Carriage bolt (1/4 x 3/4 inch)
2. Front fan guard
3. Mounting tab (rear fan guard)
4. Flange locknut (1/4 inch) - Torque the flange locknuts to 1017 to 1242 N∙cm (90 to 110 in-lb).
Installing the Intake Air Duct
- Assemble the air-cleaner hose onto the T-vent tube and the throttle-body inlet (Figure 6).

1. Air-cleaner hose
2. Vent T-tube
3. Front of the machine
4. Hose clamp
5. Throttle-body inlet - . Secure the air-cleaner hose to the vent tube and throttle body with the 2 hose clamps (Figure 6) that you removed in Removing the Air-Cleaner Hose (page 3).
Installing the Horn Switch
Parts needed for this procedure
| 1 | Horn switch (switch, jam nut, and knurled nut) |
| 1 | Wire harness |
Procedure
- Remove the knock-out plug from the dash panel (Figure 7).

1. Knock-out plug (dash panel) - Remove any burrs from the hole.
- Thread the jam nut onto the horn switch (Figure 8).

1. 2-socket connector (labeled HORN SWITCH—kit wire harness)
3. Jam nut
2. Horn switch - Plug the horn switch into the 2-socket connector labeled HORN SWITCH of the kit wire harness (Figure 8).
- From the bottom of the panel, insert the switch through the hole (Figure 9)

1. Knurled nut
2. Horn switch - . If needed, adjust the jam nut to position so that you expose enough threads of the horn switch to install the knurled nut (Figure 9).
- Secure the horn switch to the dash panel with the knurled nut (Figure 9).
Installing the Horn
Parts needed for this procedure:
| 1 | Horn |
| 1 | Capscrew (5/16 x 3/4 inch) |
| 1 | Flange locknut (5/16 inch) |
Procedure
- Assemble the bracket of the horn to the clutch plate (Figure 10) with a capscrew (5/16 x 3/4 inch) and a flange locknut (5/16 inch).

1. Flange locknut (5/16 inch)
2. Clutch plate
3. Bracket (horn)
4. Capscrew (5/16 x 3/4 inch) - Torque the capscrew and locknut to 1978 to 2542 N∙cm (175 to 225 in-lb).
Installing the Kit Wire Harness
Parts needed for this procedure:
| 6 | Cable ties |
Routing the Harness through the Floor

- Route the kit wire harness across the bottom of the dash, and down along the machine wire harness (Figure 12 )

1. Kit wire harness - Route the kit wire harness through the grommet in the floor plate (Figure 12).

1. Kit wire harness
2. Grommet (floor plate) - Secure the kit wire harness to the machine wire harness with 2 cable ties.
Connecting the Harness to the Horn

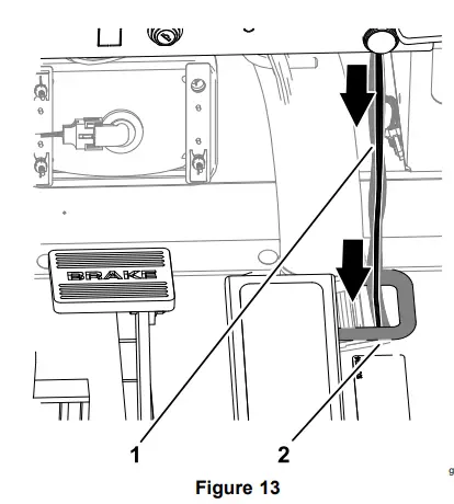
- Route the kit wire harness rearward, along the traction-control cable (Figure 15)

1. Floor-plate grommet
2. Front of the machine
3. Front of the machine
4. Traction-control cable - Route the 2 wires with the spade-terminal sockets to the horn (Figure 16).

1. Spade-terminal sockets (HORN + or HORN –—kit wire harness)
2. Spade terminals (horn) - Plug the terminal sockets labeled HORN + and HORN – into the spade terminals of the horn (Figure 16).
Note: Either wire terminal socket can connect to either horn terminal.
Routing the Harness to the Electrical Panel
- At the left side of the radiator, route connectors labeled OPTIONS POWER and HORN GROUND of the kit wire harness up and rearward, pushing the connectors through the overlapping foam blocks (Figure 17)

1. Overlapping foam blocks
2. Connector (labeled OPTIONS POWER)
3. Connector (labeled HORN GROUND) - ecure the kit wire harness to the chassis with 2 cable ties.
- Pull the kit wire harness toward the fuse block as shown in Figure 18.

1. Connectors (labeled OPTIONS POWER and HORN GROUND)
Connecting the Kit Wire Harness to the Ground Block and Fuse Block
Customer supplied part: Fuse (10 A)—fast-acting ATC/ATO blade type
- Remove one terminal screws from the ground block (Figure 19).

1. Ground block
2. Ring terminal (labeled HORN GROUND—kit wire harness)
3. Terminal screw - Install the ring terminal labeled HORN GROUND of the kit wire harness to the ground block with the terminal screw (Figure 19).
- Plug the insulated spade connector labeled OPTIONS POWER of the fuse block into the spade terminal labeled HORN POWER of the kit wire harness (Figure 20).

1. Spade-terminal socket (labeled HORN POWER—kit wire harness)
2. Insulated spade connector (labeled OPTIONS POWER—fuse block) - Secure the kit wire harness to the machine wire harness with 2 cable ties.
- Insert the fuse (10 A) into the fuse block slot for the OPTIONS POWER connector (Figure 21)

1. Fuse (10 A) - Secure the kit wire harness to the machine wire harness with 2 cable ties.
- Rotate the seats down.
Installing the Personal Protective Equipment Storage Bag
Parts needed for this procedure:
| 1 | PPE storage bag |
| 1 | Hoop rod |
| 1 | Mount bracket |
| 1 | U-bolt |
| 2 | Flange locknut (3/8 inch) |
Procedure
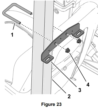
- Insert a hoop rod into the sleeve of the PPE storage bag as shown in Figure 22.

1. Hoop rod
2. Sleeve (PPE storage bag) - Install the mount bracket to the rollbar tube (Figure 23) with a U-bolt and 2 flange locknuts (3/8 inch).
Note: Ensure that the bracket location does not cover the rollbar decals.
1. U-bolt
2. Rollbar tube
3. Mount bracket
4. Flange locknut (3/8 inch) - Insert the hooks of the hoop rod into the slots in the mount bracket (Figure 24).

1. Hook (hoop rod)
2. Slot (mount bracket)
Installing the Decals
Parts needed for this procedure:
| 2 | Folding boom decal (104-8904) |
| 1 | Tank contents-slate decal (119-9434) |
| 1 | Regulatory decal |
Applying the Folding Boom Decals
- Measure from the end of the booms as shown in Figure 25.

1. Folding boom decal (104-8904
2. Boom
3. Measure 90 cm (35-1/2 inches) - Clean the truss tube of the boom at the area where you measured in step 1.
Note: Ensure that the tube surface is free of dirt, grease, or other foreign material. - Remove the backing from the folding boom decal (104-8904), and adhere it to the truss tube of the boom (Figure 25).
- Repeat steps 1 through 3 at the other boom
Applying the Tank Contents-Slate Decal
Apply the erasable tank contents-slate decal (119-9434) onto the ROPS bar to install.
Note: The magnetic backing of the contents-slate decal allows it to affix to any ferrous metal surface. Position the tank contents-slate decal on the roll bar behind the operator’s seat.
1. Roll bar
Applying the Regulatory Decal
- Clean the surface of the step below the model-serial plate and the emissions decal

1. Regulatory decal
2. Step - Remove the backing from the regulatory decal, and adhere it to the step.
- Adhere the regulatory decal below the emissions decal.








































