AG neovo TM-23 23 Inch LCD Monitor

FOR YOUR SAFETY
Before operating the monitor, please read this manual thoroughly. This manual should be retained for future reference.
SAFETY PRECAUTIONS
Federal Communications Commission (FCC) Notice (U.S. Only) This equipment has been tested and found to comply with the limits for a Class B digital device, pursuant to part 15 of the FCC Rules. These limits are designed to provide reasonable protection against harmful interference in a residential installation. This equipment generates, uses and can radiate radio frequency energy and, if not installed and used in accordance with the instructions, may cause harmful interference to radio communications. However, there is no guarantee that interference will not occur in a particular installation. If this equipment does cause harmful interference to radio or television reception, which can be determined by turning the equipment off and on, the user is encouraged to try to correct the interference by one or more of the following measures:
- Reorient or relocate the receiving antenna.
- Increase the separation between the equipment and receiver.
- Connect the equipment into an outlet on a circuit different from that to which the receiver is connected.
- Consult the dealer or an experienced radio/TV technician for help.
Changes or modifications not expressly approved by the party responsible for compliance could void the user’s authority to operate the equipment. Use only an RF shielded cable that was supplied with the display when connecting this display to a computer device. To prevent damage which may result in fire or shock hazard, do not expose this appliance to rain or excessive moisture. THIS CLASS B DIGITAL APPARATUS MEETS ALL REQUIREMENTS OF THE CANADIAN INTERFERENCE- CAUSING EQUIPMENT REGULATIONS. This device complies with Part 15 of the FCC Rules. Operation is subject to the following two conditions: (1) this device may not cause harmful interference, and (2) this device must accept any interference received, including interference that may cause undesired operation.
WARNING:
To prevent fire or shock hazard, do not expose the monitor to rain or moisture. Dangerously high voltages are present inside the monitor. Do not open the cabinet. Refer servicing to qualified personnel only.
PRECAUTIONS
- Do not use the monitor near water, e.g. near a bathtub, washbowl, kitchen sink, laundry tub, swimming pool or in a wet basement.
- Do not place the monitor on an unstable cart, stand, or table. If the monitor falls, it can injure a person and cause serious damage to the appliance. Use only
a cart or stand recommended by the manufacturer or sold with the monitor. If you mount the monitor on a wall or shelf, use a mounting kit approved by the manufacturer and follow the kit instructions. - Slots and openings in the back and bottom of the cabinet are provided for ventilation. To ensure reliable operation of the monitor and to protect it from overheating, be sure these openings are not blocked or covered. Do not place the monitor on a bed, sofa, rug, or similar surface. Do not place the monitor near or over a radiator or heat register. Do not place the monitor in a bookcase or cabinet unless proper ventilation is provided.
- The monitor should be operated only from the type of power source indicated on the label. If you are not sure of the type of power supplied to your home, consult your dealer or local power company.
- The monitor is equipped with a three-pronged grounded plug, a plug with a third (grounding) pin. This plug will fit only into a grounded power outlet as a safety feature. If your outlet does not accommodate the three-wire plug, have an electrician install the correct outlet, or ground the appliance safely. Do not defeat the safety purpose of the grounded plug.
- Unplug the unit during a lightening storm or when it will not be used for long period of time. This will protect the monitor from damage due to power surges.
- Do not overload power strips and extension cords. Overloading can result in fire or electric shock.
- Never push any object into the slot on the monitor cabinet. It could short circuit parts causing a fire or electric shock. Never spill liquids on the monitor.
- Do not attempt to service the monitor by yourself; opening or removing covers can expose you to dangerous voltages and other hazards. Please refer all servicing to qualified service personnel.
- To ensure satisfactory operation, use the monitor only with UL listed computers which have appropriate configured receptacles marked between 100 – 240V AC, Min. 5A.
- The wall socket shall be installed near the equipment and shall be easily accessible.
WEEE DECLARATION
Disposal of Waste Equipment by Users in Private Household in the European Union. This symbol on the product or on its packaging indicates that this product must not be disposed of with your other household waste.Instead, it is your responsibility to dispose of your waste equipment by handing it over to a designated collection point for the recycling of waste electrical and electronic equipment.The separate collection and recycling of your waste equipment at the time of disposal will help to conserve natural resources and ensure that it is recycled in a manner that protects human health and the environment. For more information about where you can drop off your waste equipment for recycling, please contact your local city office, your household waste disposal service or the shop where you purchased the product.
SPECIAL NOTES ON LCD MONITOR
The following symptoms are normal with LCD monitor and do not indicate a problem.
NOTES
- Due to the nature of the fluorescent light, the screen may flicker during initial use.
- Turn off the Power Switch and then turn it on again to make sure the flicker disappears.
- You may find slightly uneven brightness on the screen depending on the desktop pattern you use.
- The LCD screen has effective pixels of 99.99% or more. It may include blemishes of 0.01% or less such as a missing pixel or a pixel lit all of the time.
- Due to the nature of the LCD screen, an afterimage of the previous screen may remain after switching the image, when the same image is displayed for hours. In this case, the screen is recovered slowly by changing the image or turning off the Power Switch for hours.
- To declare the product is the Information Technical Equipment intended primarily for use in the domestic environment.
- The monitor is for computer use and not marketed and intended for displaying any television broadcast signals.
BEFORE YOU OPERATE THE MONITOR
FEATURES
- 54.69cm(21.53 inches) TFT Color LCD Monitor 58.42cm(23 inches) TFT Color LCD Monitor
- Crisp, Clear Display for Windows
- Recommended Resolutions: 1920×1080@60Hz
- Ergonomic Design
- Space Saving, Compact Case Design
CHECKING THE CONTENTS OF THE PACKAGE
The product package should include the following items:
- LCD Monitor
- Owner’s Manual (including CD-ROM & Warranty Card)
- Power Cord
- 15-pin D-Sub Cable
- Audio Cable
- USB Cable
INSTALLATION INSTRUCTIONS
For optimal viewing it is recommended to look at the full face of the monitor. You are able to adjust the monitor’s height (H):
- 122.0 mm-387.4 mm (TM-22)
- 131.5 mm-400.0 mm (TM-23)

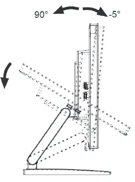
ADJUSTING THE VIEWING ANGLE
Hold the stand so that the monitor does not topple when you change the monitor’s angle.You are able to adjust the monitor’s angle from -5° to 90°.

- Put the monitor on a flat surface.
- Hold the panel so that the monitor does not topple.
- We recommend that you adjust the stand to its lowest position when using the monitor in the 90 degree upward tilt position.
Power Source:
- Make sure that the power cord is the correct type required in your area.
- This LCD monitor has an External universal power supply that allows operation in either 100/120V AC or 220/240V AC voltage area (No user adjustment is required.)
- Connect the AC-power cord into your LCD monitor’s AC-power-input. The AC power cord may be connected to either a wall power outlet or the power outlet socket on your PC, depending on the type of power cord supplied with your LCD monitor.
CONNECTING CABLES
SIGNAL CABLE
- Connecting the Signal Cable: Plug the Signal Cable one end to LCD monitor’s “D-SUB” socket, the other end to the computer’s VGA port and tighten the two screws on the cable connector.
- Connecting the DP Cable: Plug the DP Cable one end to the output port of DP video equipment, the other end to LCD monitor’s “ ” socket.
- Connecting the HDMI Cable: Plug the HDMI Cable one end to the output port of HDMI video equipment, the other end to LCD monitor’s “HDMI” socket.
- Connecting the Power Cord: Connect the AC-power cord into your LCD monitor’s “AC-IN”. The AC-power cord may be connected to either a wall power outlet or the power outlet socket on your PC, depending on the type of power cord supplied with your LCD monitor.
- Connecting the Audio Cable: Connect the audio cable between the monitor’s “AUDIO-IN” socket and the PC’s audio output (green port).
- Connecting the USB Cable: Plug the USB Cable one end to LCD Monitor’s USB upstream, the other end to the computer’s USB port. (Note: Touch or Webcam function can work only when this cable is connected.)

| Label | Cable Type |
| A | AC-IN socket |
| B | DisplayPort input socket |
| C | HDMI input socket |
| D | D-SUB input socket |
| E | AUDIO-IN socket |
| F | USB upstream |
| G | USB downstream |
OPERATING INSTRUCTIONS
GENERAL INSTRUCTIONS
Press the power button to turn the monitor on or off. The other control buttons are located at front panel of the monitor (See Figure 4). By changing these settings, the picture can be adjusted to your personal preferences.
- The power cord should be connected.
- Connect the video cable from the monitor to the video card.
- Press the power button to turn on the monitor position. The power indicator will light up.

EXTERNAL CONTROLS
| No. | Description |
| 1 | UP / Volume |
| 2 | DOWN / ECO hotkey |
| 3 | AUTO / SOURCE / EXIT |
| 4 | MENU / ENTER |
| 5 | Power Button |
| 6 | Power Indicator |
FRONT PANEL CONTROL
- Power Button:
Press this button to turn the monitor ON or OFF, and display the monitor’s state. - Power Indicator:
Blue — Power On mode. Orange — Standby mode. - MENU / ENTER:
Activate OSD menu when OSD is OFF or activate/de-activate adjustment function when OSD is ON or Exit OSD menu when in Volume Adjust OSD status. - DOWN / ECO hotkey:
Activates ECO control when the OSD is off or adjust a function when function is activated. - UP / Volume+:
Activates the volume control when the OSD is off or adjust a function when function is activated. - Auto/ Source / Exit:
- When OSD menu is in active status, this button will act as EXIT-KEY (EXIT OSD menu).
- When OSD menu is in off status, press this button to select input Source: D- SUB/DP/HDMI.
- When OSD menu is in off status, press this button for 2 seconds to activate the Auto Adjustment function. The Auto Adjustment function is used to set the HPos, VPos, Clock and Phase.
OSD Lock Function:
To lock the OSD, press and hold the MENU button while the monitor is off and then press power button to turn the monitor on. To unlock the OSD – press and hold the MENU button while the monitor is off and then press power button to turn the monitor on.
NOTES
- Do not install the monitor in a location near heat sources such as radiators or air ducts, or in a place subject to direct sunlight, or excessive dust or mechanical vibration or shock.
- Save the original shipping carton and packing materials, as they will come in handy if you ever have to ship your monitor.
- For maximum protection, repackage your monitor as it was originally packed at the factory.
- To keep the monitor looking new, periodically clean it with a soft cloth. Stubborn stains may be removed with a cloth lightly dampened with a mild detergent solution. Never use strong solvents such as thinner, benzene, or abrasive cleaners, since these will damage the cabinet. As a safety precaution, always unplug the monitor before cleaning it.
- Do not scratch the screen with hard things, it may cause permanent damage.
- Don’t leak liquid into monitor which will result in the damage of component.
HOW TO ADJUST A SETTING
- Press the MENU-button to activate the OSD window.
- Press UP or DOWN to navigate through the functions. Once the desired function ishighlighted, press the MENU-button to activate it. If the function selected
has a sub-menu, press UP or DOWN again to navigate through the submenu functions. Once the desired function is highlighted, press MENU-button to activate it. - Press UP or DOWN to change the settings of the selected function.
- To exit and save, select the exit function. If you want to adjust any other function, repeat steps 2-3.

ADJUSTING THE PICTURE
The descriptions for function control LEDS.
| Main Menu Item | Main Menu Icon | Sub Menu Item | Sub Menu | Description |
|
Luminance |
| Contrast | Contrast from Digital-register | |
| Brightness | Backlight Adjustment | |||
|
Eco Mode | Standard | Standard Mode | ||
| Text | Text Mode | |||
| Internet | Internet Mode | |||
| Game | Game Mode | |||
| Movie | Movie Mode | |||
| Sports | Sports Mode | |||
| DCR | Off | Disable dynamic contrast ratio. | ||
| On | Enable dynamic contrast ratio. | |||
|
Image Setup |
| Clock | Adjust Picture Clock to reduce Vertical-Line noise. | |
| Phase | Adjust Picture Phase to reduce Horizontal-Line noise. | |||
| H.Position | Adjust the horizontal position of the picture. | |||
| V.Position | Adjust the vertical position of the picture. | |||
| Image Ratio | Wide/ 4:3 | |||
|
Color Temp. |
| Warm | Recall Warm Color Temperature from EEPROM. | |
| Normal | Recall Normal Color Temperature from EEPROM. | |||
| Cool | Recall Cool Color Temperature from EEPROM. | |||
| sRGB | Recall SRGB Color Temperature from EEPROM. | |||
| User | User-B | Blue Gain from Digital-register | ||
| User-G | Green Gain from Digital-register | |||
| User-R | Red Gain from Digital-register |
| Main Menu Item | Main Menu Icon | Sub Menu Item | Sub Menu | Description |
|
OSD Setup |
| H.Position | Adjust the horizontal position of OSD. | |
| V.Position | Adjust the vertical position of OSD. | |||
| Timeout | Adjust the OSD Timeout. | |||
| Language | Select the OSD language. | |||
|
Extra |
|
Input Select | Auto | Source Detect. |
| D-Sub | Select analog input source. | |||
| HDMI | Select HDMI input source. | |||
| DisplayPort | Select DisplayPort input source. | |||
| DDC/CI | Turn ON/OFF DDC/CI Support. | |||
| Reset | Reset the menu to default. | |||
| Information | Show the information of the main image and sub-image source. |
PLUG AND PLAY
Plug & Play DDC1/2B Feature This monitor is equipped with VESA DDC1/2B capabilities according to the VESA DDC STANDARD. It allows the monitor to inform the host system of its identity and, depending on the level of DDC used, communicate additional information about its display capabilities. The communication channel is defined in two levels, DDC1 and DDC2B.
The DDC1 is a unidirectional data channel from the display to the host that continuously transmits EDID information. The DDC2B is a bidirectional data channel based on the I²C protocol. The host can request EDID information over the DDC2B channel. THIS MONITOR WILL APPEAR TO BE NON-FUNCTIONAL IF THERE I NO VIDEO INPUT SIGNAL. IN ORDER FOR THIS MONITOR TO OPERATE PROPERLY, THERE MUST BE A VIDEO INPUT SIGNAL This monitor meets the Green monitor standards as set by the Video Electronics Standards Association (VESA) and The Swedish Confederation Employee (NUTEK). This feature is designed to conserve electrical energy by reducing power consumption when there is no video-input signal present. When there is no video input signal this monitor, following a time-out period, will automatically switch to an OFF mode. This reduces the monitor’s internal power supply consumption. After the video input signal is restored, full power is restored and the display is automatically redrawn. The appearance is similar to a “Screen Saver” feature except the display is completely off. The display is restored by pressing a key on the keyboard, or clicking the mouse.
| Problem & Question | Possible Solution |
| Power LED is not on. | • Check if the Power Switch is in the ON position. • Power Cord should be connected. |
| No Plug & Play | • Check if the PC system is Plug & Play compatible. • Check if the Video Card is Plug & Play compatible. • Check if the 15-Pin D-Sub plug pin of Video Cable is bent. |
| Picture is fuzzy. | • Adjust the Contrast and Brightness Controls. |
| Picture bounces or a wave pattern is present in the picture. | • Move electrical devices that may cause electrical interference. |
| The power LED is ON but there’s no video or no picture. | • Computer Power Switch should be in the ON position. • Computer Video Card should be snugly seated in its slot • Make sure monitor’s video cable is properly connected to the computer. • Inspect monitor’s video cable and make sure none of the pins are bent. • Make sure computer is operational by hitting the CAPS LOCK key on the keyboard while observing the CAPS LOCK LED. The LED should either turn ON or OFF after hitting the CAPS LOCK key. |
| Missing one of the primary colors (RED, GREEN, or BLUE). | • Inspect the monitor’s video cable and make sure that none of the pins are bent. |
| Screen image is not centered or sized properly. | • Adjust pixel frequency (CLOCK) and PHASE or press hot-key (AUTO). |
| Picture has color defects (white does not look white) | • Adjust RGB color or select color temperature. |
| Horizontal or vertical disturbances on the screen. | • Use Win95/98/2000/ME/XP shut-down mode Adjust CLOCK and PHASE or perform hot- key (AUTO-key). |
CLOCK (pixel frequency) controls the number of pixels scanned by one horizontal sweep. If the frequency is not correct, the screen shows vertical stripes and the picture has not correct width. PHASE adjusts the phase of the pixel clock signal. With a wrong phase adjustment the picture has horizontal disturbances in light picture. For PHASE and CLOCK adjustment use “dot-pattern” or Win95/98/2000/ME/XP shut-down mode pattern.
TECHNICAL SUPPORT (FAQ)
ERROR MESSAGE & POSSIBLE SOLUTION
CABLE NOT CONNECTED :
- Check that the signal-cable is properly connected. If the connector is loose, tighten the connector’s screws.
- Check the signal cable connection pins for damage.
INPUT NOT SUPPORT :
Your computer has been set to unsuitable display mode, set the computer to display mode given in the following table.(page 18)
FACTORY PRESET TIMING TABLE
Preset Display Modes
HDMI & DP Timing Table
| Format | Resolution | Vertical Frequency |
| 480P | 640 x 480 | 60Hz |
| 480P | 720 x 480 | 60Hz |
| 576P | 720 x 576 | 50Hz |
| 720P | 1280 x720 | 50Hz,60Hz |
| 1080P | 1920 x 1080 | 50Hz,60Hz |
CONNECTOR PIN ASSIGNMENT
| Pin No. | Description | Pin No. | Description | |
| 1 | Red | 9 | +5V/Sense(+5V) | |
| 2 | Green | 10 | Monitor Gnd | |
| 3 | Blue | 11 | Logic Gnd | |
| 4 | Logic Gnd | 12 | DDC serial data | |
| 5 | Detect cable | 13 | H sync | |
| 6 | Red Gnd | 14 | V sync | |
| 7 | Green Gnd | 15 | DDC serial Clk. | |
| 8 | Blue Gnd | |||
PRODUCT SPECIFICATIONS
| TM-22 | TM-23 | ||
| Panel | Panel Type | LED-Backlit TFT LCD (TN Technology) | LED-Backlit TFT LCD (IPS Technology) |
| Panel Size | 21.5” | 23.0” | |
| Max. Resolution | FHD 1920 x 1080 | FHD 1920 x 1080 | |
| Pixel Pitch | 0.248 mm | 0.265 mm | |
| Brightness | 250 cd/m2 | 250 cd/m2 | |
| Contrast Ratio | 20,000,000:1 (DCR) | 20,000,000:1 (DCR) | |
| Viewing Angle (H/ V) | 170°/160° | 178°/178° | |
| Display Colour | 16.7M | 16.7M | |
| Response Time | 3 ms | 5 ms | |
| Frequency (H/V) | H Freq. | 30 kHz-83 kHz | 30 kHz-83 kHz |
| V Freq. | 50 Hz-76 Hz | 50 Hz-76 Hz | |
| Input | DisplayPort | x 1 | x 1 |
| HDMI | 1.3 x 1 | 1.3 x 1 | |
| VGA | 15-Pin D-Sub x 1 | 15-Pin D-Sub x 1 | |
| Other Connectivity | USB | USB HUB (3.0 x 4) | USB HUB (3.0 x 4) |
| Audio | Audio In | Stereo Audio Jack (3.5 mm) | Stereo Audio Jack (3.5 mm) |
| Internal Speakers | 2W x 2 | 2W x 2 | |
| Touch Screen | Technology | Projective Capacitive | Projective Capacitive |
| Positional Accuracy | ± 1.0 mm | ± 1.0 mm | |
| Panel Interface | USB (Type-B) | USB (Type-B) | |
| Multi-touch Plug & Play | 10-point touch for Windows 7/8/10 | 10-point touch for Windows 7/8/10 | |
| Single Touch Support by Driver | Windows XP | Windows XP | |
| Power | Power Supply | Internal | Internal |
| Power Requirements | AC 100-240V, 50/60 Hz | AC 100-240V, 50/60 Hz | |
| On Mode | 14W (On) | 14W (On) | |
| Standby Mode | < 0.5W | < 0.7W | |
| Off Mode | < 0.3W | < 0.3W |
| TM-22 | TM-23 | ||
| Glass | Thickness | 2.4 mm (0.09”) | 2.4 mm (0.09”) |
| Transmission Rate | > 90% | > 90% | |
| Hardness | > 7H | > 7H | |
| Operating Conditions | Temperature | 0°C-40°C (32°F-104°F) | 0°C-40°C (32°F-104°F) |
| Humidity | 10%-85% (non-condensing) | 10%-85% (non-condensing) | |
| Storage Conditions | Temperature | -25°C-55°C (-13°F-131°F) | -25°C-55°C (-13°F-131°F) |
| Humidity | 5%-93% (non-condensing) | 5%-93% (non-condensing) | |
| Mounting | VESA FPMPMI | Yes (100 x 100 mm) | Yes (100 x 100 mm) |
| Stand | Tilt | -5° to 90° | -5° to 90° |
| Height Adjustment | 122.0-387.4 mm | 131.5-400.0 mm | |
| Security | Kensington Security Slot | Yes | Yes |
| Dimensions | Product with Base (W x H x D) | 522.4 x 387.4 x 238.5 mm (20.6” x 15.3” x 9.4”) | 561.0 x 400.0 x 238.5 mm (22.1” x 15.7” x 9.4”) |
| Packaging (W x H x D) | 586.0 x 422.0 x 186.0 mm (23.1” x 16.6” x 7.3”) | 632.0 x 448.0 x 186.0 mm (24.9” x 17.6” x 7.3”) | |
| Weight | Product with Base | 6.3 kg (13.9 lb) | 6.6 kg (14.6 lb) |
| Packaging | 8.1 kg (17.9 lb) | 8.7 kg (19.2 lb) |
Note:
All specifications are subject to change without prior notice.
Copyright © 2021 AG Neovo. All rights reserved. TM-22/TM-23 Eprel registration number: 430365/619804
















