lalaloom clothes line Wooden Children’s Clothes Horse

Knowledge
WHAT DO WE LEARN?
Improved psychomotor skills: hanging clothes stimulates hand-eye coordination and trains children to do the thumb and forefinger tongs.
Collaboration: with Clothes Line the little ones will learn the importance of contributing and helping in household chores, valuing the importance of each one of them.
Socialization: toys such as wooden clotheslines promote the development of language and affectivity in children, as well as their operative capacity. They also promote socialization and enhance learning.
Creativity: housework games are very beneficial as they stimulate children’s creativity, inventing different situations and solutions, promoting language and socialization.
Warnings
ATTENTION
Not suitable for children under 36 months. Remove all items from the packaging before allowing the child to use the toy. The product contains small parts. Keep unassembled parts out of the reach of small children. It must be used under adult supervision. Adult assembly required. The box may contain brooches or other small parts. Chocking hazard.
Parts

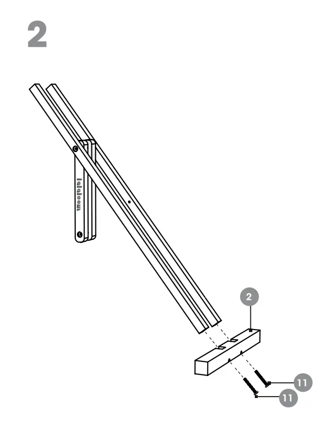
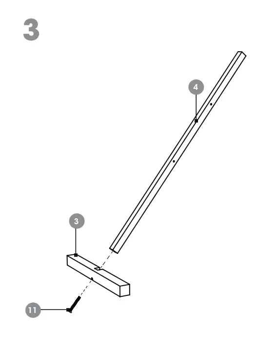
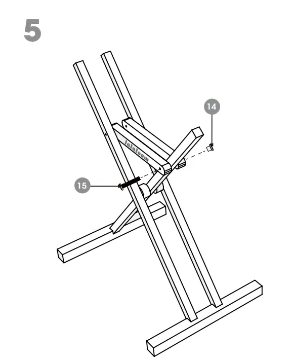
Assembly






Maintenance
Please check the assembly at regular intervals and tighten the fittings if necessary.
Clean the surface with a slightly damp cloth and a mild dishwashing detergent if necessary. Do not use any cleaning agents containing alcohol or ammonia.
We recommend testing all cleaning materials on the underside of any surface that is not visible during normal use of the product.
Recycling 
When you decide to dispose of the product, be sure to follow local regulations.
Dispose of the product with care for the environment. Do not simply throw it in the trash and prepare it for recycling. Take it to an authorized recycling center.
Packaging materials are recyclable. Please dispose of them in the appropriate waste bin.
Warranty
This product is warranted for 2 years. This warranty covers damage and malfunction only if the product has not been used improperly and all instructions have been followed correctly. To claim your warranty, you must present your purchase receipt. The product must be complete and have all parts.
The warranty does not cover wear, lack of maintenance, negligence, incorrect assembly and misuse (knocks, misuse of power supply, storage, conditions of use, etc.).
It is also excluded when non-original or inappropriate accessories or mounting parts have been used on the product.
Standards 
DECLARATION OF CONFORMITY (EC)
PRAT INTERNATIONAL BRANDS S.L. owner of LALALOOM brand, with legal address in c/Blanquers, 7-8 43800 – Valls SPAIN, declares that the wooden children’s clothes horse CLOTHING LINE from 2021 series onwards, is in accordance with the European Parliament Directives and of the Council.
Directive 2009/48/EC of the European Parliament and of the Council of 18 June 2009 on the safety of toys. The product delivered coincides with the prototype that was submitted for CE exam.
Under the standards: EN71-1: 2014+ A1: 2018 / EN71-2: 2011+A1: 2014 / EN 71-3:2019 / PHTHALATE FREE
Valls (SPAIN), 10 February 2021

Albert Prat Asensio, FOUNDER
Authorized representative and responsible for technical documentation.


knowledge
Lalaloom toys are designed to encourage learning.
conscious
Our Lalaloom kids don’t like plastic: they prefer to explore the world
around them in a healthy and funny way
design
Simple is better; minimal designs, major values.
equality
We do not define our kids dreams; toys are not for girls or boys, they are
for playing; without stereotypes or clichés.
quality
Quality over quantity. Less is more
timeless
Timeless and funny toys to bring anywhere and share with family.
commitment
Committed products as our Lalaloom kids will be.
respect
We believe the change is possible.
Because we want the best for our children and for the world we leave them
W




















