VICTROLA VA-55 Kit Record Cleaning System
Product Information
The VICTROLA MODEL VA-55 is a vinyl record stand that comes with a cleaning kit. It has a wooden base with two metal rods that can hold one vinyl record in place. The cleaning kit includes a cleaning solution, a brush, and a cleaning cloth. It is recommended to display only one vinyl record on the stand. The product size is 7.87 inches (200mm) in width, 7.52 inches (191mm) in height, and 3.93 inches (100mm) in length. The total weight of the product is 20 oz or 580 grams. The product comes with a warranty that covers repair or replacement as provided under the warranty.
Product Usage Instructions
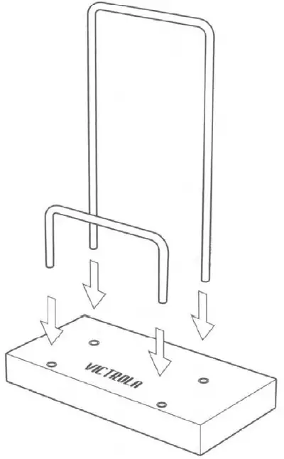
- Insert the metal rods into the base by pushing them firmly until they are secure. Place the short rod closer to the front edge of the base near the VICTROLA logo.
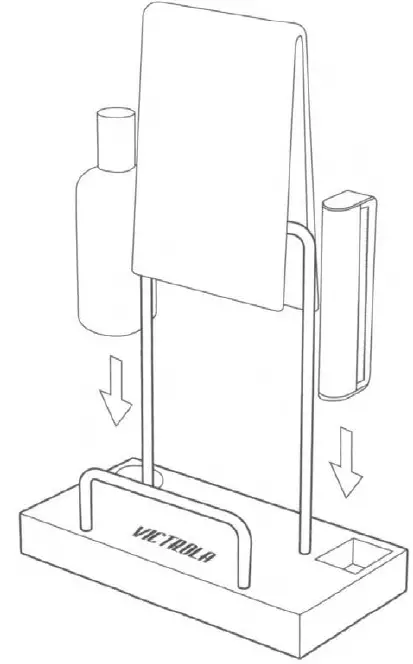
- Place the cleaning kit items onto the base. Put the cleaning solution on the left and the brush on the right.
- Fold the cloth into thirds and drape it half over the back rod.
- The product is now ready to use as a vinyl record stand. Display only one vinyl record on the stand.
Refer to the QR code on the cover for cleaning tips and assembly guides. Please read and follow all of the instructions and safety precautions detailed in the manual before using this product to avoid any personal injury or property damage.
MODEL: VA-55
PLEASE READ THIS INSTRUCTION MANUAL CAREFULLY. BEFORE USE AND KEEP IT FOR FUTURE REFERENCE.
INSTALLATION INSTRUCTIONS

- INSERT THE METAL RODS INTO THE BASE BY PUSHING FIRMLY UNTIL THEY ARE SECURE.
- THE SHORT ROD SHOULD BE PLACED CLOSER TO THE FRONT EDGE OF THE BASE NEAR THE VICTROLA LOGO.

- PLACE THE CLEANING KIT ITEMS ONTO THE BASE (SOLUTION ON THE LEFT, BRUSH ON THE RIGHT).
- FOLD THE CLOTH INTO THIRDS AND DRAPE IN HALF OVER THE BACK ROD.

- NOW READY TO USE AS A “NOW PLAYING” VINYL RECORD STAND!
- SCAN THE QR CODE ON THE COVER FOR CLEANING TIPS AND ASSEMBLY GUIDES.
- IT IS RECOMMENDED THAT ONLY 1 VINYL RECORD SHOULD BE DISPLAYED ON THE KIT.
SPECIFICATIONS
- Product Size: ……………………………………….. 7.87″ W x 7.52″ H x 3.93″ L
- 200mm W x 191mm H x 100mm L
- Weight: ……………………………………………….. 20 oz {580 g)
- Max Number of Records on Kit: ………………. 1
- Record Cleaning Fluid: …………………………… 2 oz (60 ml)
- Included in the Box: ………………………………. 2x Metal Bars, 1x Wooden Stand
- 1x Cleaning Cloth, 1x Brush
- 1 x Bottle of Cleaning Solution
WARNING
Please read and follow all of the instructions & safety precautions detailed below prior to using this product. Failure to do so may result in serious personal injury and / or property damage.
Safety Precautions
- Keep out of reach of children. This item is not a toy.
- Avoid contact with eyes – rinse with water if required.
- Do not ingest included liquid.
- Do not expose this product to heat sources (including open flame/direct sunlight).
- Do not modify the product.
- Avoid dropping this product.
CALIFORNIA PROP 65 WARNING
WARNING: This product can expose you Lil to chemicals including Bisphenol A (BPA), which is known to the State of California to cause birth defects or other reproductive harm. For more information go to www.P65Warnings.ca.gov.
WARRANTY
Victrola is a registered trademark of Innovative Technology Electronics LLC. Innovative Technology Electronics LLC. (11) warrants the product to be free from “Defects” in materials under normal use for a period of “One Year· from the date of the original purchase. The Warranty is “Not” transferable. IT agrees, within the initial “One Year” period, to replace the product if it is determined to be defective at “No Charge” or offer a merchandise credit if proof of purchase is provided or if the original product is no longer in stock. It is further agreed that IT will cover the cost to repair or replace damaged “Parts” only for a total period of “One Year” from the date of the original purchase. The warranty does not cover cosmetic damage, antennas, AC cords, cabinets, headbands, ear-pads, or damage due to line power surges, connection to an improper voltage supply or setting, misuse, mishandling, accident, acts of God or attempted repair by an unauthorized service agent.
Repair or Replacement as provided under this warranty is the exclusive remedy of the customer, (II) shall not be liable for any incidental or consequential damages for breach of any implied warranty on this product except to the extent prohibited by applicable law. Any implied warranty of merchantability or fitness for a particular purpose on this product is limited in duration to the duration of this warranty.
Some states do not allow the exclusion or limitation of incidental or consequential damages, or limitations on how long an implied warranty lasts, so the above exclusions or limitations may not apply to you. This warranty gives you specific legal rights and you may also have other rights, which vary from state to state.
Contact
- Website: www.victrola.com/support
- Phone: (877) 483-2497
- (Monday – Friday, 10 am – 6 pm, ESl)
Made In China.






















