Techwood TAS-651 Vacuum Cleaner
Product Information
This is a household vacuum cleaner available in four different models: TAS-651, TAS-655, TAS-658, and TAS-659. The appliance is designed to be used for domestic purposes only. It comes with a power cord and plug and should be used with a power supply that corresponds to the voltage stated on the appliance. The device is not intended to be operated by means of an external timer or remote-control system.
Important Safeguards
- Read the instructions carefully before using the vacuum cleaner.
- Keep the instructions for future reference.
- Check that the mains voltage corresponds to that stated on the appliance.
- Children should not play with the appliance.
- Cleaning and user maintenance should not be made by children unless they are supervised.
- Keep the appliance and its cord out of reach of children aged less than 8 years of age when it is energized or cooling down.
- The device is not a toy, do not leave small children or people with disabilities to play with it.
- Keep all packaging (plastic bags, boxes, polystyrene, etc.) out of reach of children to ensure their safety.
- Do not allow small children to play with the foil as there is a danger of suffocation.
- Check the cord for damages from time to time. Never use the appliance if the cord or appliance shows any signs of damage.
- Never immerse the appliance in water or any other liquid for any reason whatsoever.
- Never place the appliance in the dishwasher.
- Do not operate the appliance with a damaged cord or plug, or after the appliance has been damaged in any manner.
- Ensure that the power cord does not come into contact with hot parts of this unit.
- Make sure the appliance has cooled down before cleaning and storing it.
- The temperature of accessible surfaces may be very high when the appliance is operating. Never touch these parts, of the apparatus, to avoid burning itself.
- Make sure the appliance never comes into contact with flammable materials, such as curtains, cloth, etc. The power cord and plug should not come in contact with water.
- Before cleaning, always unplug the appliance from the power supply and let it cool down.
- Always place the unit on a flat surface. Ensure, also, not to cover the device and not to put anything on it.
- Always remove the plug from the wall socket when the appliance is not in use.
- When using an extension lead always make sure that the entire cable is unwound from the reel. Use solely CE-approved extension leads. Input power must be at least 16A, 250V, 3000W.
- Incorrect operation and improper use can damage the appliance and cause injury to the user.
- The appliance must be used and rested on a table or flat and stable surface.
- The item must not be left unattended when it is connected to main supply.
- The item is not to be used if it has been dropped or if there are visible signs of damage or if it is leaking.
Product Usage Instructions
- Ensure that the power supply voltage corresponds to that stated on the appliance.
- Before using the vacuum cleaner, read the instructions carefully and keep them for future reference. Pay particular attention to the safety guide.
- Do not allow children to play with the vacuum cleaner. Cleaning and user maintenance should not be made by children unless they are supervised.
- Keep the appliance and its cord out of reach of children aged less than 8 years of age when it is energized or cooling down.
- Do not allow small children or people with disabilities to play with the vacuum cleaner.
- Ensure that all packaging materials are kept out of reach of children to avoid suffocation.
- Check the cord for damages from time to time. Never use the appliance if the cord or appliance shows any signs of damage.
- Do not immerse the appliance in water or any other liquid for any reason whatsoever.
- Do not place the appliance in the dishwasher or use it near hot surfaces.
- If the supply cord or appliance is damaged, do not use it. It must be repaired by a qualified technician.
- Ensure that the power cord does not come into contact with hot parts of this unit.
- Make sure the appliance has cooled down before cleaning and storing it.
- Do not touch the accessible surfaces of the appliance when it is operating as they may be very hot.
- Do not allow the appliance to come into contact with flammable materials such as curtains or cloth. The power cord and plug should not come in contact with water.
- Before cleaning, always unplug the appliance from the power supply and let it cool down.
- Place the unit on a flat and stable surface and do not cover it or put anything on it.
- Remove the plug from the wall socket when the appliance is not in use.
- When using an extension lead, ensure that the entire cable is unwound from the reel. Use solely CE-approved extension leads with input power of at least 16A, 250V, and 3000W.
- Do not use the appliance if it has been dropped or if there are visible signs of damage or if it is leaking.
IMPORTANT SAFEGUARDS
- Please read these instructions carefully before use.
- Keep present instructions for future reference.
- Check that your mains voltage corresponds to that stated on the appliance.
- Only use the appliance for domestic purposes and household or similar applications such as:
- Staff kitchen areas, in shops, offices, and other working environments;
- By clients in hotels, motels, and other residential-type environments;
- Environment types like • Farm Houses • Bed and Breakfasts.
- Only use the appliance in the way indicated in these instructions.
- Never use this unit near the bathtub, shower, wash-hand basins, or other containers with water.
- Never use this apparatus near water projections.
- Never use this apparatus with wet hands.
- If, unfortunately, the apparatus is wet, immediately withdraw the cord of the socket-outlet.
- Inform potential users of these instructions.
- Never leave the appliance unsupervised when in use.
- The appliance must be used only for its intended purpose. No responsibility can be taken for any possible damage caused by incorrect use or improper handling.
- Children and persons with disabilities are not always aware of the danger posed by the use of appliances.
- This device can be used by children aged 8 years and older and adults, with reduced physical, sensory or mental capabilities or lack of experience and knowledge, if they have been given supervision or instruction concerning use of the appliance in a safe way and understand the hazards involved.
- Children shall not play with the appliance.
- Cleaning and user maintenance shall not be made by children unless they are supervised.
- Keep the appliance and its cord out of reach of children aged less than 8 years of age when it is energized or cooling down.
- This device is not a toy, do not leave small children or people with disabilities to play with.
- In order to ensure your children‘s safety, please keep all packaging (plastic bags, boxes, polystyrene, etc.) out of their reach.
- Caution! Do not allow small children to play with the foil :
THERE IS A DANGER OF SUFFOCATION
- From time to time check the cord for damages. Never use the appliance if the cord or appliance shows any signs of damage.
- Never immerse the appliance in water or any other liquid for any reason whatsoever.
- Never place it into the dishwasher.
- Never use the appliance near hot surfaces.
- Do not operate the appliance with a damaged cord or plug, or after the appliance has been damaged in any manner.
- If the supply cord or appliance is damaged, it must be replaced by the manufacturer or its service agent, or a similarly qualified person in order to avoid a hazard.
- Disconnect the power source cable before any operation of cleaning of maintenance and accessories assembly.
- Never use the appliance outside and always place it in a dry environment.
- Never use accessories, which are not recommended by the producer. They could constitute a danger to the user and risk damaging the appliance.
- Never use any other connector than the one provided.
- Never move the appliance by pulling the cord. Make sure the cord cannot get caught in any way.
- Never wind the cord around the appliance and do not bend it
- Ensure that the power cord does not come into contact with hot parts of this unit.
- Make sure the appliance has cooled down before cleaning and storing it.
- The temperature of accessible surfaces may be very high when the appliance is operating. Never touch these parts, of the apparatus, to avoid burning itself.
- Make sure the appliance never comes into contact with flammable materials, such as curtains, cloth, etc…& the power cord and plug does not come in contact with water.
- Before cleaning, always unplug the appliance from the power supply and let it cool down.
- This appliance is not intended to be operated by means of an external timer or a separate remote-control system.
- Always place the unit on a flat surface. Ensure, also, not to cover the device and not to put anything on it.
- Always remove the plug from the wall socket when the appliance is not in use.
- When using an extension lead always make sure that the entire cable is unwound from the reel. Use solely CE-approved extension leads. Input power must be at least 16A, 250V, 3000W.
- Incorrect operation and improper use can damage the appliance and cause injury to the user.
- This device, designed for home use, complies with standards relating to this type of product.
- The appliance must be used and rested on a table or flat & stable surface.
- The item must not be left unattended when it is connected to the main supply.
- The item is not to be used, if it has been dropped or if there are visible signs of damage, or if it is leaking.
- This appliance is only intended for household use.
GENERAL INFORMATION
The symbol “OPEN BOOK” means a recommendation to read important things contained in the record. The symbol “BIN” crossed out, abbreviation WEEE (Waste of Electrical and Electronic Equipment) means that at the end of life, it should not be discarded with household waste, but filed to the sorting of the locality. Waste recovery can help preserve our environment. The symbol “CE” is the guarantee of compliance with harmonized European standards, voluntary, reflecting the essential requirements into technical specifications. These standards are not mandatory but are guarantees of compliance with essential requirements. The symbol ROHS (Restriction of use of some Hazardous Substances) on the Environmental Protection, certifies that for each of the five hazardous substances
- Lead
- Mercury
- (hexavalent) chromium
products for protection against flames PBB and PBDE, the peak concentration is equal to or less than 0.1% of the weight of homogeneous material, and 0.01% for the 6th • cadmium. The symbol “DOUBLE SQUARE” means a double insulated. A basic insulation and supplementary insulation. This device requires no connection to the mass of a protective conductor grounded. The materials are said : double insulation class II. The symbol “TRIMAN” indicates that the consumer is invited to dispose the product as part of a separate collection (eg recycling bin, waste, voluntary intake
point).
For more information: http://www.quefairedemesdechets.fr
CLEANING AND MAINTENANCE
Before cleaning, always: switch off the appliance, disconnect the apparatus, and let it cool. Clean the outside of the apparatus with a sponge or slightly wet linen. Never plunge the apparatus into water or all other liquid! Do not use abrasive cleaners, gritting, metal brushes, or other cutting objects. Warning: Don’t wash the filter in the washing machine. Don’t dry it with an electrical heater. Don’t clean the outside of the vacuum cleaner in petrol oil-like liquid. Just rub it with water and soft soap liquid. Don’t let the water flow into the vacuum cleaner.
FIRST USE
Before first use, remove the unit and all accessories carefully. Clean the outside and inside of the machine cabinet with a damp cloth and wipe dry.
USE
- Unroll the power cord completely.
- Check that the tension in force in the country where you are corresponds to that indicated on the apparatus.
- Connect the apparatus in a correct socket-outlet, (and connected to the ground if the unit is Class I), to avoid any danger.
- Disconnect the power source cable before any operation of cleaning of maintenance and accessories assembly.
- Never modify the appliance in any way.
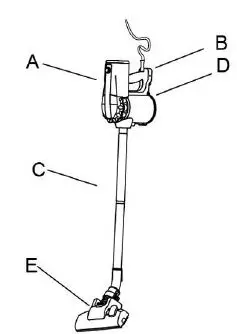
TO KNOW IT’S UNIT
- A. ON / Off Button
- B. Handle
- C. Hose
- D. Dust bin
- E. Floor brush

IMPORTANT
- Always remove the plug from the power socket when the appliance is not in use and before carrying out any cleaning or maintenance operations.
- Always remove the plug from the power sock before opening the appliance.
- Never use methylated spirits or other solvents to clean the appliance.
- Do not use the appliance to vacuum liquids.
- Never leave the appliance unattended when it is switched on.
- Do not switch the appliance on if it appears to be faulty in any way.
- For repairs or accessories. Contact your dealer or an authorized Service Centre.
BRIEF INFORMATION
| Do not remove the plug by pulling the cable the or appliance itself | Do not use the appliance over the power cable | Do not use the appliance to vacuum lighted matches, cigarettes end, or hot ash. |

| Do not use the appliance on wet surfaces. | Do not obstruct the air intake or outlet vent. | Do not use the appliance to vacuum needles, drawing –pins, or string. |

Do not place the appliance near the heat source.
ASSEMBLING THE VACUUM CLEANER
Assembling the flexible tube
Unplug the unit Put the end of the hose into the air intake socket. (on the tank) Fix the floor brush on the other end of the hose.
USE
- Before using the appliance, unwind the length of the cable and insert the plug into the power socket.
- Press the ON/OFF button to switch the appliance on.
- Adjust the angle between the brush and the body by rotating the handle.
- Stop the unit working by pressing the On / Off button.
- Unplug it and rotate the cable on the winding holder.
DUAL FLOOR BRUSH
This unit is provided with 2 position brush.
- Position 1: for hard floors
- Position2: for carpets

TO EMPTY & CLEAN THE DUST TANK
- Disconnect the appliance from the main POWER
- Open the hatch (under the appliance)
- Remove the dust filter and clean it (see next paragraph)
- Empty and clean the dust container.
- After drying, replace the filter and close the hatch.

TO CLEAN THE FILTER
- After removing the filter from the vacuum cleaner, remove the foam filter (when it is dirty).
- Clean it with water (possibly with a little detergent)
- Rinse gently and thoroughly!
- Allow it to dry naturally and when it is dry, reassemble it in the filter and reinsert the filter into the dust compartment.
NOTE: NEVER USE THE VACUUM WITHOUT THE FILTER.
STORAGE
- Ensure the unit is completely cool and dry.
- Do not wrap the cord around the appliance, as this will cause damage.
- Keep the appliance in a cool, dry place and out of reach from children.
SPECIFICATIONS
| BRAND | TECHWOOD |
| REFERENCE | TAS-655 TAS-659 TAS-651 TAS-658 |
| VOLTAGE | 220-240V |
| FREQUENCY | 50/60Hz |
| NOMINAL INPUT POWER | 600W |
| MADE | IN PRC |
The general-purpose vacuum cleaner (TAS-655 TAS-659 TAS-651 TAS-658), has been tested according to standard EN 60312-1: 2017 and complies with the essential requirements of Regulation (EU) 666/2013 for vacuum cleaners. The characteristics can change without preliminary preventing
CAUTION: In order to minimize the risks of electric shock, In the event of a breakdown, do not open the case but call upon a qualified technician for repairs. This apparatus satisfied EC directives, it was controlled according to all the European current directives, like electromagnetic compatibility (EMC) and low tension (LVD). This apparatus was designed and manufactured in respect of the last safety regulations and technical specifications.
Imported by Sotech International
” LE PERIPOLE ” N°A-103 33, Avenue du Marechal de Lattre de Tassigny 94120 Fontenay sous Bois – France The symbol ” CMIM ” is the guarantee of compliance with optional harmonized Moroccan Standards, which reflect the essential requirements in terms of technical specifications. These standards are not mandatory but ensure compliance with the essential requirements.
Dear consumer
Please read these instructions carefully before use in order to avoid damage due to incorrect use and to better understand the functions of this product. Please pay particular attention to the safety guide. If you pass the device on to a third party, these Operating Instructions must also be handed over. Please keep them for future reference.






















