Contents hide
The RF Bug Detector is for personal privacy protection. The bug camera detector included help assist in sweeping the unauthorized surveillance devices. Locate hidden cameras, wireless signals that could be invading your private space at home and office, or during travel and shopping etc. It’s portable and tiny for along carry in handbag, key chain, suitcase or briefcase.
Usage area
- Hotel
- Air BnB
- Apartment
- Dressing Room
- Public Toilet
- Gym
TIPS:
Device Charging: When plug in power, battery indicator is always on and off when fully charged.
| Battery | 950mA |
| Power consumption of Mode 1 | 20mA |
| Power consumption of Mode 2 | 50mA |
| Battery life of Mode 1 | Around 40 hours |
| Battery life of Mode 2 | Around 16 hours |
| Charging time | Around 5 hours |
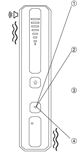
Product structure

- Frequency indicator
- Charging indicator
- Lens finder switch
- Wireless signals detector switch
- Speaker
- USB port
- View finder(Slide the red part up)
- Ultra red led’s
In the box:
- 1 x RF bug detector
- 1 x User manual
- 1 x USB cable
- 1 x Test lens
- Slide back view finder part up;

- Long press the lens finder switch for 3 seconds to start, look through the view finder and slowly scan the room’s suspected area to look for any cameras; ( Press the lens finder switch to change the speed flashing LEDs. )

- The lens of the hidden cameras will appear as a bright red point of blinking light when you illuminate itac with the light beam;

- Long press lens finder switch 3 seconds to turn off the lens detector.
(included pinhole lens to test)
How to detect the wireless signals? ( Wireless Signals Detector )
Wireless Signals detect

- Long press the wireless signals detector switch for 3 seconds to start; Device will enter Grade 7 automatically with highest Vibration/Blue led/Sound.
- Press the switch again to low the grade from 7 to 2 or 3 to adapts to its surroundings (While changing grade, there is only led indicator);
- Move it to close to suspicious objects or directions. If there are working wireless devices shows above, the indicator, speaker and vibration will work at the same time according to its signal strength of wireless devices.
- Long press the wireless signals detector switch for 3 seconds to shut down (7 leds blink twice).






(included pinhole lens to test)




















