![]()
Installation Guide
AWMS-NDB
AWM Dynamic Notebook Arm

COMPONENT CHECKLIST
![]() | ![]() | ![]() | ![]() | ![]() |
AWM-FFF Clamp(x1) | AWM-LB Base (x1) | AWM-AD Dynamic Arm (x1) | AWM-HN | REQUIRED TOOLS
|
IMPORTANT INFORMATION
! Please ensure this product is installed as per these installation instructions.
! Do not remove/ throw away the plastic cap on the base.
! This product is compatible with Atdec AWM Series products.
! Curved monitors, deep devices (such as all-in-one PCs) and offset VESA locations exert additional leverage that can exceed the capacity of the mount even though the monitor weight may be within the stated range.
! The manufacturer accepts no responsibility for incorrect installation.
F Clamp AWM-FF
COMPONENT CHECKLIST
![]() | ![]() | ![]() | |
A | B | C | D |
1. Attach base to upper clamp

- Fasteners supplied with base
2. Attach lower clamp to upper clamp
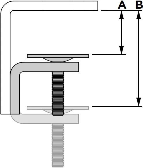
2.1 Measure the worksurface thickness and choose the suitable lower clamp position
A – Normal 0 – 36mm (0.00 – 1 3/8”)
2.2 If using inverted position change the screw direction of the lower clamp

B – Inverted 36 – 79mm (1 3/8” – 3”)
2.3 Attach lower clamp to upper clamp in the suitable position using the two provided screws. (Normal position shown here)

Note: If there is only a small gap behind the worksurface, perform Step 3.1 before this step.
3. Fit fixing to work surface
3.1 Place in desired location on worksurface

3.2 Screw in pressure plate and tighten firmly.

- Mounting surface
- 5mm allen key
Base AWM-LB
COMPONENT CHECKLIST
A Base (x1)
B Screw M8 x 16mm (x1)
C Screw M8 x 30mm (x1)
1. Attach Base to Fixing

1.1 Follow the F Clamp installation guide on pages 2 of this booklet or provided with your alternate fixing option.
Supplied

F Clamp
AWM-FF
Also Compatible

Bolt Through Kit AWM-FB Heavy Duty F Clamp AWM-FH

C Clamp AWM-FC Grommet Clamp AC-GC
2. Set arm rotation to 180° (optional)
Note: default arm rotation is set to rotate 360°
2.1 Remove plastic sleeve.

2.2 To remove rotation ring press down on front edge and lift.

1. Press
2. Lift
2.3 Replace rotation ring in the desired orientation and replace plastic sleeve.

- Default Position
- Flipped Position
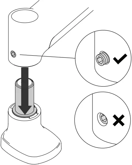
3. Fit arm onto Base
3.1 Push arm onto base, grub screw must be backed off at this time.
NOTE: Ensure plastic sleeve is on shaft before fitting arm.

3.2 Ensure arm is fully pushed onto base.

3.3 Tighten set screw.

NOTE: Check the arm pan adjustment is smooth after tightening.
Dynamic Arm AWM-AD
COMPONENT CHECKLIST

A Display Arm (x1) B VESA head (x1)
![]()
C Screw M4x25mm (x4) D Screw M4x16mm (x4)

E Screw M4x12mm (x4) F Spacer (x4)

G Security screw (x1) H 4mm allen key (x1)
WEIGHT RANGE
Flat Monitors
0 – 9kg
(0 – 20lbs)
Curved Monitors
0 – 6kg
(0 – 13.5lbs)
Display weight should be within the weight range of all modular elements that make up the complete display mounting solution.
AWM Notebook Tray AWM-HN
COMPONENT CHECKLIST
![]()
A Notebook Tray (x1) B Hook-and-Loop Fasteners (x4)
WEIGHT RANGE
0 – 8kg
(0 – 18lb)
Device weight should be within the weight range of all modular elements that make up the complete display mounting solution.
1. Set arm rotation to 180° (optional)
1.1 Remove plastic sleeve.

1.2 Remove rotation ring.

1. Press
2. Lift
1.3 Place rotation ring in the desired position. The tag on the ring should always face towards the user.

- Default
Position - Flipped
Position
2. Fit arm onto Base
2.1 Push arm onto shaft.

2.2 Ensure arm is fully pushed onto shaft.

2.3 Tighten joint screw.

Note: Check the arm rotation is smooth after tightening.
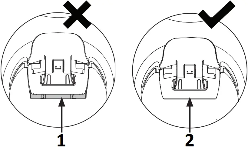
3. Mount Notebook Tray onto arm
3.1 Insert Notebook Tray into the display arm

Note: Ensure the lever is unlocked when fitting.
3.2 Ensure that the Notebook Tray is seated fully into the receptacle at the end of the display arm. There should be no gap.

- Gap
- No gap
3.3 Push the lever down to secure it to the arm assembly.

4. Mount notebook computer
4.1 Adjust the support tabs to suit the width of the notebook computer ensuring that cable ports are not obstructed.


4.2 To increase stability, use the self adhesive Hook-and-Loop Fasteners supplied.
a. Peel off the backing paper to the fasteners.
b. Attach fasteners to both the Notebook Tray and notebook computer.
c. Ensure that each set of fasteners are correctly aligned i.e. Hook to Loop.
5. Adjust tilt tension & install security screw
5.1 Use the allen key to adjust the tilt tension until the tray holds in a vertical position at the end of the arm.
Note: Support tray while adjusting.

- Loosen
- Tighten
5.2 (Optional) Tilt the head upwards to install the optional security screw.

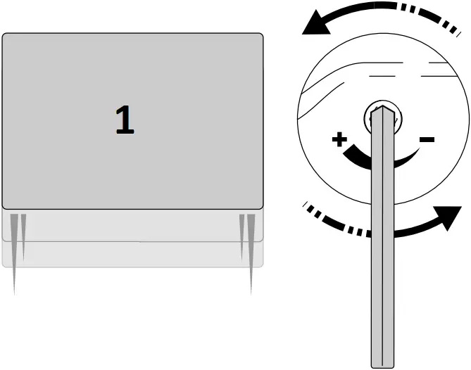
6. Adjust arm tension
6.1 To accurately set the tension of the arm, position the device at 90 degrees

6.2 Use the allen key to adjust the arm tension to the weight of the device. Follow steps 6.3 to 6.5 to set the tension.

- Heavier Monitor
- Lighter Monitor
6.3 If the device sags or falls down, increase the arm tension by rotating the screw clockwise.

+ Increase Tension
- Device Falls
(from top)
6.4 If the device springs upwards from the bottom position, decrease the arm tension by rotating the screw anti-clockwise.

– Reduce Tension
- Device Springs
(from bottom)
6.5 If the device floats or hovers in all positions the arm tension is balanced and does not require further adjustment.

Balanced
- Device ‘Floats’
(all positions)
7. Tension gauge
7.1 When installing multiple devices of a similar weight, use the tension gauge to make installation faster.

- Arm Tension Gauge
- Marker
1. Set up one device and record the position of the marker on the gauge.
2. When installing subsequent displays, pre-tension the arm to the recorded amount, then fine-tune the tension by following steps 6.3 to 6.5.
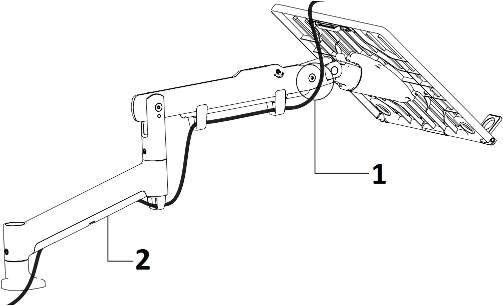
8. Cable management
8.1 Plug cables into the device and route the cables down the arm using the cable hooks and clips.

- Important!
Ensure enough cable slack is given in this area to allow for movement of the device. - See steps 8.2 to 8.4
8.2 Wedge cable into the central gap and slide it down the arm.

8.3 The cable should slip into the arm cavity

8.4 Slide the remaining loose cable from the central gap up the arm.

8.5 Cable clips and covers can be used to further manage cables.

- Note: Ensure enough cable slack is given to allow for movement.
- Note: After connecting the notebook computer cables, route them through the cable management clip on the back of the Notebook Tray.
9. Adjust Notebook Tray
9.1 Pan tray to desired position.

9.2 Position and align notebook with other monitors.

- +/- 5°
Levelling Adjustment
You may choose to convert your solution to mount a display, to do so:
10.1 VESA mounting compatibility

Note: For other sizes, use a suitable adaptor plate (sold separately).
10.2 Attach VESA head onto display with provided screws.

Note: Spacers may be required for curved, recessed or uneven display surfaces.
10.3 Be sure to use correct screw length

Flush Spacer

Too long Too short
10.4 Insert VESA head into the display arm

- Display arm
10.5 Ensure that the VESA head sits flush within the display arm. There should be no gap.

- Gap
- No Gap
10.6 Push the lever down to secure it to the arm assembly

No portion of this document or any artwork contained herein should be reproduced in any way without the express written consent of Atdec Pty Ltd. Due to continuing product development, the manufacturer reserves the right to alter specifications without notice. ©20220509B
Please Recycle ![]()
AWMS-NDB-F


























