ZG9500B 36 Inch 5-Burners Gas Hob
User Manual
Before operating this unit, please read the user manual completely and keep it.
If the manual is lost, you can send an e-mail to [email protected] to request an electronic manual.
WARNING:
Never Operate the Top Surface Cooking Section of this Appliance Unattended.
- Failure to follow this warning statement could result in fire, explosion, or burn hazards that could cause property damage, personal injury, or death.
- If a fire should occur, keep away from the appliance and immediately call your fire department.
DO NOT ATTEMPT TO EXTINGUISH AN OIL/GREASE FIRE WITH WATER.
IMPORTANT:
Installer: Leave installation instructions with the homeowner.
Homeowner: Keep installation instructions for future reference.
COOKTOP SAFETY
Your safety and the safety of others are very important.
We have provided many important safety messages in this manual and on your appliance. Always read and obey all safety messages.
This is the safety alert symbol. This symbol alerts you to potential hazards that can kill or hurt you and others. All safety messages will follow the safety alert symbol and either the word “DANGER” or “WARNING.” These words mean:
DANGER: You can be killed or seriously injured if you don’t immediately follow instructions.
WARNING: You can be killed or seriously Injured If you don’t follow the instructions.
All safety messages will tell you what the potential hazard is, tell you how to reduce the chance of injury, and tell you what can happen if the instructions are not followed.
WARNING: If the information in this manual is not followed exactly, a fire or explosion may result causing property damage, personal injury or death.
– Do not store or use gasoline or other flammable vapors and liquids in the vicinity of this or any other appliance.
– WHAT TO DO IF YOU SMELL GAS:
- Do not try to light any appliance.
- Do not touch any electrical switch.
- Do not use any phone in your building.
- Immediately call your gas supplier from a neighbor’s phone. Follow the gas supplier’s instructions.
- If you cannot reach your gas supplier, call the fire department.
– Installation and service must be performed by a qualified installer, service agency or gas supplier.
WARNING: Gas leaks cannot always be detected by smell.
Gas suppliers recommend that you use a gas detector approved by UL or CSA.
For more information, contact your gas supplier. If a gas leak is detected, follow the “What to do if you smell gas” instructions.
IMPORTANT: Do not install a ventilation system that blows air downward toward this gas cooking appliance. This type of ventilation system may cause ignition and combustion problems with this gas cooking appliance resulting in personal injury or unintended operation.
In the State of Massachusetts, the following installation instructions apply:
- Installations and repairs must be performed by a qualified or licensed contractor, plumber, or gasfitter qualified or licensed by the State of Massachusetts.
- If using a ball valve, it shall be a T-handle type.
- A flexible gas connector, when used, must not exceed 3 feet.
INSTALLATION REQUIREMENTS
Toob and Pads
Gather the required tools and parts
Tools needed
- Tape measure
- Flat-blade screwdriver
- Phillips screwdriver
- 15/16″ combination wrench
- Pipe wrench
- Wrench or pliers
- Marker or pencil
- Pipe-joint compound resistant to LP gas
- Noncorrosive leak-detection solution
Parts supplied
- Gas pressure regulator
- Burner grates
- Burner caps
- Sumer base
- Clamping brackets (2)
- Bracket attachment screws (2)
Parts needed
Check local codes and consult the gas supplier. Check existing gas supply and electrical supply. See “Electrical Requirements” and -Gas Supply Requirements” sections.
Location Requirements
IMPORTANT: Observe all governing codes and ordinances. Do not obstruct the flow of combustion and ventilation air.
- It is the installer’s responsibility to comply with Installation clearances specified on the model serial rating plate. The model serial rating plate is located on the underside of the cooktop base.

- To eliminate the risk of burns or fire by reaching over heated surface units, cabinet storage space located above the surface units should be avoided. If cabinet storage is to be provided, the risk can be reduced by installing a range hood that projects horizontally a minimum of 5″ (12.7 cm) beyond the bottom of the cabinets.
- The cooktop must be a specified cooktop that is approved to be installed either alone or over an under-counter built-in oven. Check the cooktop base approved installation label for your cooktop model number and approved combinations of cooktops and ovens that can be installed. If you do not find this label, your cooktop may not be approved for use over an under-counter built-in oven. Contact your dealer to confirm that your cooktop is approved.
- Ovens approved for this type of installation will have an approval label located on the top of the oven. If you do not find this label, contact your dealer to confirm that your oven is approved. Refer to the oven manufacturer’s Installation Instructions for approval for built-in under-counter use and proper cutout dimensions.
- The cooktop should be installed in a location away from strong draft areas, such as windows, doors, and strong heating vents or fans.
- All openings in the wall or floor where the cooktop is to be installed must be sealed.
- Cabinet opening dimensions that are shown must be used. Given dimensions are minimum clearances.
- A grounded electrical supply is required. See the “Electrical Requirements’ section. A proper gas supply connection must be available. See the “Gas Supply Requirements” section.
- The cooktop is designed to hang from the countertop by Its side or rear flanges.
- The gas and electric supply should be located as shown in the “Cabinet Dimensions” section so that they are accessible without requiring the removal of the cooktop.
- Provide a cutout in the right rear corner of the cutout enclosure as shown to provide clearance for the gas inlet, and power supply cord, and to allow the rating label to be visible.
IMPORTANT: To avoid damage, check with your builder or cabinet supplier to make sure that the materials used will not discolor, delaminate or sustain other damage.
Mobile Home – Additional Installation Requirements
The Installation of this cooktop must conform to the Manufactured Home Construction and Safety Standard, Title 24 CFR, Part 3280 (formerly the Federal Standard for Mobile Home Construction and Safety, Title 24, HUD Part 280). When such a standard is not applicable, use the Standard for Manufactured Home Installations, ANSI A225.1/NFPA 501A, or with local codes.
In Canada, the installation of this cooktop must conform with the current standards CAN/CSA-A240-latest edition, or with local codes.
Product Dimensions
ZG9500B MODEL
A. 181/2″( 47.0Cm)
B. 357/13″ ( 90.0cm)
C. 201,n6″ ( 52.5Cm)
D. 32ve ( 8.2.0Cm)
E. 1 nue’ ( 4.6cm)
F. 21/13″ ( 5.2cm)
G. 24)5nes (2.4cm)
Cabinet Clearances
A. 13″ (33.0 cm) recommended upper cabinet depth.
B. 30″ (76.0 cm) for 30″ models; 36″ (91.0 cm) for 36″ models.
C. 18″ (45.7 cm) minimum clearance from upper cabinet to countertop within minimum horizontal clearances to the cooktop.
D. 30″ (76.0 cm) minimum clearance between the top of cooktop platform and bottom of an uncovered wood or metal cabinet 24″ [61 cm] minimum clearance if the bottom of wood or metal cabinet is covered by not less than 1/4″ [0.6 cm] flame retardant millboard covered with not less than No. 28 MSG sheet steel, 0.015″ [0.04 cm] stainless steel, or 0.024″ [0.06 cm] aluminum or 0.020″ [0.05 cm] copper.
E. 36″ (91.0 cm) top of the countertop to floor.
F. Gas line opening – Wall: anywhere 5″ (12.7 cm) below the underside of the countertop. Cabinet floor: anywhere within 6″ (15.2 cm) of the rear wall is recommended.
Cutout Dimensions-Top View

Countertop Front Edge
| Cutout (Product Opening) Dimensions | ||||
| 36″ (90.0 cm) Models | ||||
| Models | A | B | ||
| Min | Recommended | Min | Recommended | |
| ZG9500B | 321/2- (82.5cm) | 326/8- (82.8cm) | 1811/16- (47.5cm) | 1813/16- (47.8cm) |
| Side Walls (Combustible Surfaces) | |
| Models | H and I |
| ZG9500B | H and I added together must be at least 48″(122.0cm), with each side individually being at least 8″( 20.3cm). |
| Back Wall and Countertop Front Dimensions | |||
| Models | C | D | E |
| ZG9500B | 29″(73.6cm) | 51/3″(15.3cm) | 4″(10.2cm) |
NOTES: After making the countertop cutout, some installations may require notching down the base cabinet side walls to clear the cooktop base. To avoid this modification, use a base cabinet with sidewalls wider than the cutout.
If the cabinet has a drawer, a 4″ (10.2 cm) depth clearance from the countertop to the top of the drawer (or other obstruction) in the base cabinet is required. The drawer depth may need to be shortened to avoid interfering with the regulator.
IMPORTANT: If a built-in wall oven is to be installed below this cooktop, the grounded outlet and gas supply piping must be located in an adjacent cabinet.
This cooktop and its gas and electrical supply sources must be installed before the under-counter built-in wall oven is installed.
Electrical Requirements
WARNING
Electrical Shock Hazard
Plug into a grounded 3-prong outlet.
Do not remove the ground prong.
Do not use an adapter.
Do not use an extension cord.
Failure to follow these instructions can result in death, fire, or electrical shock.
WARNING
Electrical Grounding Instructions
This appliance is equipped with a (four-prong) (four-prong) grounding plug for your protection against shock hazards and should be plugged directly into a properly grounded receptacle. Do not cut or remove the grounding prong from this plug.
IMPORTANT: The cooktop must be electrically grounded in accordance with local codes and ordinances, or in the absence of local codes, with the National Electrical Code, ANSI/NFPA 70 or Canadian Electrical Code, CSA C22.1-02.
If codes permit and a separate ground wire is used, it is recommended that a qualified electrical installer determine that the ground path is adequate.
A copy of the above code standards can be obtained from
National Fire Protection Association
One Batterymarch Park Quincy, MA 02269
CSA International 8501 East Pleasant Valley Road
Cleveland, Ohio 44131-5575
- A 120 volt, 60 Hz, AC-only, 15-amp, the fused electrical circuit is required. A time-delay fuse or circuit breaker is also recommended. It is recommended that a separate circuit serving only this cooktop be provided.
- Electronic ignition systems operate within wide voltage limits, but proper grounding and polarity are necessary. Check that the outlet provides 120-volt power and is correctly grounded.
- The wiring diagrams are provided with this cooktop. See “Wiring Diagrams” on a separate sheet. The wiring diagrams are located on the left underside of the cooktop base.
Gas Supply Requirements
WARNING
Explosion Hazard
Use a new CSA International approved gas supply line.
Install a shut-off valve.
Securely tighten all gas connections.
If connected to LP, have a qualified person make sure gas pressure does not exceed the 14″ (36 cm) water column.
Examples of qualified persons include:
licensed heating personnel, authorized gas company personnel, and authorized service personnel.
Failure to do so can result in death, explosion, or fire.
Observe all governing codes and ordinances.
IMPORTANT: This installation must conform with all local codes and ordinances. In the absence of local codes, installation must conform with American National Standard, National Fuel Gas Code ANSI Z223.1 – the latest edition of CAN/CGA B149 – the latest edition.
Type Of Gas
Natural Gas:
- This cooktop is factory set for use with Natural gas. If converting to Propane gas, see the “PropaneGas Conversion” instructions provided in the package containing the literature. The model/serial rating plate located on the underside of the cooktop base has information on the types of gas that can be used. If the types of gas listed do not include the type of gas available, check with the local gas supplier.
Propane Gas Conversion:
The conversion must be done by a qualified service technician.
No attempt shall be made to convert the cooktop from the gas specified on the model/serial rating plate for use with a different gas without consulting the serving gas supplier. See the Gas Conversion instructions provided in the package containing the literature.
WARNING:
NEVER use this appliance as a space heater to heat or warm the room. Doing so may result in carbon monoxide poisoning.
Gas Supply line
- Provide a gas supply line of 3/4″ (1.9 cm) rigid pipe to the cooktop location. A smaller size pipe on longer runs may result in insufficient gas supply. Pipe-joint compounds that resist the action of LP gas must be used. Do not use TEFLON” tape. With LP gas, piping or tubing size should be 1/2′ minimum. Usually, LP gas suppliers determine the size and materials used in the system.
Flexible metal appliance connector:
- If local codes permit, use a 1/2″ or 3/4′ I.D. flexible stainless steel tubing gas connector, designed by CSA to connect the cooktop to the rigid gas supply line.

- A 1/2″ male pipe thread is needed for connection to the female pipe threads of the inlet to the cooktop pressure regulator.
- Do not kink or damage the flexible metal tubing when moving the cooktop.
- Must include a shutoff valve:
The supply line must be equipped with a manual shutoff valve. This valve should be located in the same room but external to the cooktop opening, such as in an adjacent cabinet. It must be accessible without removing the cooktop, and it should be in a location that allows ease of opening and closing. Do not block access to the shutoff valve. The valve is for turning on or shutting off gas to the cooktop.
- Leak testing of the appliance shall be conducted according to the manufacturer’s instructions.
Gas Pressure Regulator
The gas pressure regulator supplied with this cooktop must be used. The inlet pressure to the regulator should be as follows for proper operation:
Natural Gas:
Minimum pressure: 4″(9.9cm)WCP
Maximum pressure: 7′ to 14″ (17.8 cm to 35.5 cm) WCP
Propane Gas:
Minimum pressure: 10″ (25.4 cm) WCP
Maximum pressure: 14″ (35.5 cm) WCP
Contact a local gas supplier if you are not sure about the inlet pressure.
Burner Input Requirements
Input ratings shown on the model/serial rating plate are for elevations up to 2,000 ft (609.6 m).
For elevations above 2,000 ft (609.6 m), ratings should be reduced at a rate of 4% for every 1,000 ft (304.8 m) above sea level (not applicable for Canada).
Gas Supply Pressure Testing
Gas supply pressure for the testing regulator must be at least 1″ water column pressure above the manifold pressure shown on the model/serial rating plate.
Line pressure testing above 1/2 psi gauge (14″ WCP)
The cooktop and its individual shutoff valve must be disconnected from the gas supply piping system during any pressure testing of that system at test pressures in excess of 1/2 psi (3.5 kPa).
Line pressure testing at 1/2 psi gauge (14″ WCP) or lower
The cooktop must be isolated from the gas supply piping system by closing its individual manual shutoff valve during any pressure testing of the gas supply piping system at test pressures equal to or less than 1/2 psi (3.5 kPa).
If you need to replace the gas source .please go to the designated vendor to purchase the conversion package corresponding to the product.
Product model: ZG9500B corresponding PART NO 880
Please follow the conversion instructions.
The seller’s contact details are as follows: See the cover
Save the orifices removed from the appliance for future use
INSTALLATION INSTRUCTION
Install Cooktop
WARNING
Excessive Weight Hazard
Use two or more people to move and Install the cooktop.
Failure to do so can result In the back or other Injuries.
Decide on the final location for the cooktop. Avoid drilling into or severing existing wiring during installation.
- Determine whether your cabinet construction provides clearance for installing clamping brackets at cooktop base ends. This is the recommended location. Clamping brackets can be installed on the front and back of the cooktop base bottom, if necessary.
A. Attachment screw holes for optional front and back location
B. Cooktop base bottom
C. Attachment screw
D. Clamping bracket (end locations recommended) - Using 2 or more people, place the cooktop right side up into the cutout.
NOTE: Make sure that the front edge of the cooktop is parallel to the front edge of the countertop. If repositioning is needed, lift the entire cooktop up from the cutout to avoid scratching the countertop. - Remove the attachment screws for the selected bracket locations from the bottom of the cooktop base.
A. Edge of cooktop base bottom
B. Clamping bracket - Attach brackets to cooktop base bottom with bracket attachment screws. Securely tighten screws.
A. Cooktop
B. Cooktop base
C. 2′ (5.1 cm) bracket attachment screw
D. Clamping bracket (extends far enough beyond cooktop base to allow installation of clamping screws)
E. Countertop
Make Gas Connection
WARNING
Explosion Hazard
Use a new CSA International approved gas supply line.
Install a shut-off valve.
Securely tighten all gas connections.
If connected to propane, have a qualified person make sure gas pressure does not exceed the 14″ (36 cm) water column.
Examples of a qualified person Include:
licensed heating personnel, authorized gas company personnel, and authorized service personnel.
Failure to do so can result in death, explosion, or fire.
Typical flexible connection
- Apply pipe-joint compound made for use with Natural and propane gas to the smaller thread ends of the flexible connector adapters (see C and G in the following illustration).
- Attach one adapter to the gas pressure regulator and the other adapter to the gas shutoff valve. Tighten both adapters.
- Use a ‘Vie” combination wrench and channel lock pliers to attach the flexible connector to the adapters. Check that connector is not kinked.
IMPORTANT: All connections must be wrench-tightened. Do not make connections to the gas regulator too tight. Making the connections too tight may crack the regulator and cause a gas leak. Do not allow the regulator to turn when tightening fittings.
No appliance/obstructions below the cooktop
Suggested installation to avoid Interference below the cooktop
A. Manifold entrance
B. 3/4,” elbow
C. Use pipe-joint compound.
D. Adapter (must have 3/4″ male pipe thread)
E. Flexible connector (pass-through wall between cabinets)
F Adapter (must have 3/4″ male pipe thread)
G. Use pipe-joint compound.
H. Appliance pressure regulator (supplied)
I. 1/2″ or 3/4″ gas pipe
J. Manual gas shutoff valve
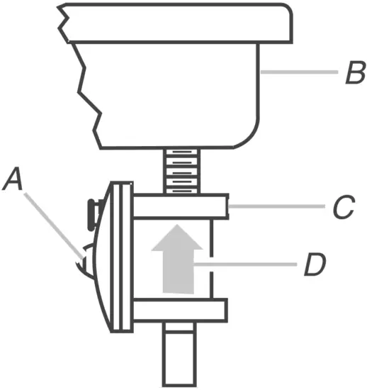
K. 1/2″ or 3/4″ gas pipe - Install the pressure regulator with the arrow pointing in the direction toward the bottom of the cooktop base and in a position where you can reach the regulator access cap.
A. Access cap
B. Rear of the cooktop
C. Gas pressure regulator
D. Up arrow. The regulator must be installed with the arrow pointing toward the cooktop bottom.
Use only pipe-joint compound made for use with Natural and LP gas.
Do not use TEFLON* tape. You will need to determine the fittings required depending on your installation.
Complete Connection
- Open the manual shutoff valve in the gas supply line. The valve is open when the handle is parallel to the gas pipe.

- Test all connections by brushing on an approved noncorrosive leak-detection solution. Bubbles will show a leak. Correct any leak found.
- Remove surface burner caps, a burner base, and grates from the parts package. Align notches in burner caps with pins in burner base. Align orifice holder in burner base with igniter electrode. Burner caps should be level when properly positioned. If burner caps are not properly positioned, surface burners will not light. Place burner grates over burners and caps.
A. Orifice holder
B. Burner cap
C. Gas tube opening
D. Burner base
E. Igniter electrode
Complete Installation
Electronic Ignition System
The following symbols will appear on the control panel next to each control knob:
•: Gas Off
: Ignition position
: Maximum Setting
: Minimum Setting
- The minimum setting is at the end of the anti-clockwise rotation of the control knob.
- All operation positions must be selected between the maximum and minimum position
- Never select a knob position between the maximum and off position.
- The symbol on the control panel next to the control knob will indicate which gas burner it operates. Automatic ignition with flame failure safety device the appliance is fitted with a flame failure safety device on each burner, which is designed to stop the flow of gas to the burner head in the event of the flame going out.
WARNING
That top burner flame size should be adjusted so it does not extend beyond the edge of the cooking utensil. This instruction is based on safety considerations.
To ignite a burner
- Check if the burner copper cap copper core or other parts are positioned correctly and confirm the knob button(Picture 1) position then turn on the gas valve.
- If you keep the control knob depressed the automatic ignition for the burner will operate.
- Ignition: Press the control button then contra rotate 90 degrees accordingly, it’s a large flame. You should hold down the control knob for 15 seconds after the flame on the burner has lit. If after 15s the burner has not lit, stop operating the device and open the compartment door and wait at least 1 min before attempting a further ignition of the burner.
- After this 15-second interval to regulate the flame you should continue turning the control knob anti-clockwise until the flame is at a suitable level . The operating position must be at a position between the maximum position (Picture 3)and minimum position(Picture 4).
- To switch the burner off turn the control knob fully clockwise to the gas-off position.
- In case of power failure, the burners can be lit by carefully using a match.
- Extinguish: the burner will be extinguished when the knob turns to(Picture) the position.
- The use method of hob at low temperature is the same as in normal temperature.
Check Flame Height
Adjust the height of surface burner flames. The surface burner “low” flame should be a steady blue flame approximately 1/2″ (6.4 mm) high.
A. Low flame
B. High flame
Clean And Maintenance
Cleaning
CLEANING OPERATIONS MUST ONLY BE CARRIED OUT WHEN THE HOB IS COOL. THE APPLIANCE SHOULD BE DISCONNECTED FROM YOUR MAIN SUPPLY BEFORE COMMENCING ANY CLEANING PROCESS.
- Cleaning of the hob should be carried out on a regular basis, and suggest taking a full check every 12 months.
- Keeping appliance area dear and free from combustible materials, gasoline, and other flammable vapors and liquids.
- Not obstructing the flow of combustion and ventilation air.
- You should not use a steam jet or any other high-pressure cleaning equipment to clean the appliance.
After each use
- Remove the pan stands and wipe the appliance over with a soft, damp cloth that has been put into warm soapy water. The cloth should be wrung out after being taken out of the soapy water.
- Dry the appliance by rubbing the surface with a soft, clean cloth.
Cleaning the hob top
- Any residues that are left on the hob top surface from cleaning agents will damage it. you should remove any residues with warm soapy water
- Abrasive cleaners or sharp objects will damage the hob surface you should clean it using warm soapy water.
- Although it is easier to clean some deposits whilst the hob surface is still warm, make sure that the hob surface, pan supports, and hob burners have all cooled sufficiently before you attempt to touch them
Cleaning the hob burners
- The hob burners should be cleaned once a week or more frequently if they get soiled.
- Remove the hob burners by pulling them upwards and away from the hob top.
- Soak them for about ten minutes in hot water and a little detergent.
- After cleaning and washing them wipe and dry them carefully.
- Before placing the burners back on the hob top make sure that the gas jet is not blocked
- IMPORTANT: Make sure that you reassemble the burners in an original way Visually checking pilots and burner flame, refer to aforesaid Check Flameheight

(The figure is provided for reference only and subjects to the actual product.)



A. Attachment screw holes for optional front and back location
A. Edge of cooktop base bottom
A. Cooktop
A. Manifold entrance
A. Access cap
A. Orifice holder
















