We advise you to read this manual carefully, which contains all the instructions for maintaining the appliance’s aesthetic and functional qualities. For further information on the product: www.smeg.com
These instructions apply only to the destination countries listed on the appliance’s data plate. This is a class 3 built-in hob.
PRECAUTIONS
General safety instructions
Risk of personal injury
- During use the appliance and its accessible parts become very hot. Keep children well away from the appliance.
- Protect hands with heat resistant gloves during use.
- Never try to put out a fire or flames with water: Turn off the appliance and smother the flames with a fire blanket or other appropriate cover.
- This appliance may only be used by children aged 8 years and over, and by people of reduced physical, sensory or mental capacity, or lacking in experience in the use of electrical appliances, provided that they are supervised or have been given instructions on the safe use of the appliance and of the hazards associated with it.
- Children must not play with the appliance.
- Keep children under the age of eight at a safe distance unless they are constantly supervised.
- Keep children under the age of 8 away from the appliance when it is in use.
- Cleaning and maintenance must not be carried out by unsupervised children.
- Make sure that the flame spreader crowns are correctly positioned in their housings with their respective burner caps.
- The cooking process must always kept under control. A short cooking process must be continuously monitored.
- WARNING: Cooking foods containing fat and/or oil without monitoring them can be dangerous and can cause a fire.
- Fats and oils can catch fire if they overheat. Do not leave the appliance unattended while preparing foods containing oils or fats. If fats or oils catch fire, never put water on them. Place the lid on the saucepan and turn off the burner.
- Do not place metal objects, such as dishes or cutlery, on the surface of the hob during cooking as they may overheat.
- WARNING: leaving food unattended when cooking using fat or oil can be dangerous and can cause a fire. DO NOT attempt to extinguish a fire with water. Turn off the appliance and smother the flames, for example with a lid or a blanket.
- Do not cook foods in closed tins or containers or plastic containers.
- Do not insert pointed metal objects (cutlery or utensils) into the slots in the appliance.
- Do not use or store flammable materials near the appliance or directly underneath the hob.
- Switch off the appliance immediately after use.
- Do not pull the cable to unplug the appliance (if present).
- DO NOT USE AEROSOLS IN THE VICINITY OF THIS APPLIANCE WHILST IT IS IN USE.
- DO NOT MODIFY THIS APPLIANCE.
- Always wear personal protective equipment (PPE) before carrying out any work on the appliance (installation, maintenance, positioning or moving).
- Do not clean the appliance if it is still hot or in operation.
- Before performing any work on the appliance, switch off the power supply.
- Do not try to repair the appliance yourself or without the assistance of a qualified technician.
- If the power cable becomes damaged, contact technical support immediately to arrange for it to be replaced in order to avoid possible hazards.
- WARNING: A gas cooking appliance produces heat, humidity and combustion products in the room where it is installed. Make sure there is good ventilation, especially when the appliance is in use: keep the natural ventilation openings open or install a mechanical ventilation device.
- Intensive and prolonged use of the appliance may require additional ventilation, for example opening a window or more effective ventilation; for example by increasing the power of any mechanical suction devices.
Risk of damaging the appliance
- Do not sit on the appliance.
- Do not use the appliance as a support surface.
- Do not obstruct ventilation openings and heat dispersal slots.
- Do not use the hob if the pyrolytic cycle is taking place inside any oven installed below.
- Do not use steam jets to clean the appliance.
- Never leave the appliance unattended during cooking operations where fats or oils could be released, as these could then heat up and catch fire. Be very careful.
- Fire hazard: Never leave objects on the cooking surfaces.
- DO NOT FOR ANY REASON USE THE APPLIANCE AS A SPACE HEATER.
- Cooking vessels or griddle plates should be placed inside the perimeter of the hob.
- All pans must have smooth, flat bottoms.
- If any liquid does boil over or spill, remove the excess from the hob.
- Take care not to spill acid substances such as lemon juice or vinegar on the hob.
- Do not spill sugar or sweet mixtures on the hob during cooking.
- Do not place materials or substances that could melt or catch fire (paper, plastic or aluminium foil) on the appliance while it is in use.
- Place the cookware directly onto the grids above the burners.
- Do not put empty pans or frying pans on burners that are lit.
- Do not use rough or abrasive materials or sharp metal scrapers.
- Do not use cleaning products containing chlorine, ammonia or bleach on parts made of steel or that have metallic surface finishes (e.g. anodizing,
nickel- or chromium-plating). - Do not wash removable parts such as the hob pan support grids, flame-spreader crowns and burner caps in the dishwasher.
- This appliance is not designed to operate with external timers or with remote-control systems.
- This appliance can be used up to a maximum altitude of 2,000 metres above sea level.
Installation
- THIS APPLIANCE MUST NOTBE INSTALLED IN BOATS OR CARAVANS.
- This appliance must not be installed on a dishwasher.
- Position the appliance into the cabinet cut-out with the help of a second person.
- Before installation, make sure that the local distribution conditions (type and pressure of the gas) and the regulation of the appliance are compatible.
- This appliance is not connected to a system for extracting combustion products. It should be installed and connected in compliance with current
installation regulations. Pay particular attention to the requirements regarding ventilation. - The settings for this appliance are shown on the gas settings label.
- Have the gas connection performed by authorised personnel.
- Have the electrical connection performed by authorised technical personnel.
- Installation using a hose must be carried out so that the length of the hose does not exceed 2 metres when fully extended for steel hoses and 1.5 metres for rubber hoses.
- The gas connection hoses must not come into contact with moving parts of the built-in module (for example a drawer) and must not be routed through a space that could cause it to be pinched.
- If required, use a pressure regulator that complies with current regulations.
- After carrying out any operation, check that the tightening torque of gas connections is between 10 Nm and 15 Nm.
- At the end of the installation, check for any leaks with a soapy solution, never with a flame.
- Check that the carcase has the required openings.
- Check that the carcase material is heat resistant.
- Installation and servicing should be carried out by qualified personnel in accordance with current standards.
- The appliance must be connected to earth in compliance with electrical system safety standards.
- Use cables that can withstand temperatures of at least 90°C.
- Run the power cable in the rear part of the unit. Make sure that it does not come into contact with the lower part of the hob or a built-in oven below it.
- Be careful when connecting additional electrical appliances. Connection cables must not come into contact with hot cooking zones.
- The tightening torque of the screws of the terminal supply wires must be 1.5 – 2 Nm.
- • The power cable must only be installed or replaced by a qualified technician.
• If the power cable becomes damaged, contact technical support immediately to arrange for it to be replaced in order to avoid possible hazards.
• Always use any necessary/ required personal protective equipment (PPE) before performing any work on the appliance (installation, maintenance, positioning or movement).
• Before performing any work on the appliance, switch off the power supply.
• Allow the appliance to be disconnected after installation, via an accessible plug or a switch in the case of a fixed connection.
• Fit the power line with an allpole circuit breaker with a contact separation distance sufficient to provide complete disconnection in category III overvoltage conditions, pursuant to installation regulations.
Appliance purpose
This appliance is intended for cooking food in the home environment. Every other use is considered inappropriate. It cannot be used:
- in employee kitchens, shops, offices and other working environments.
- in farms/farmhouses.
- by guests in hotels, motels and residential environments.
- In bed and breakfast accommodation.
This user manual
- This user manual is an integral part of the appliance and must therefore be kept in its entirety and within the user’s reach for the whole working life of the appliance.
- Read this user manual carefully before using the appliance.
- The explanations in this manual include images, which describe all that regularly appears on the display. However, it should be kept in mind that the appliance may be equipped with an updated version of the system, and as such, all that appears on the display may differ from those in the manual.
Manufacturer’s liability
The manufacturer declines all liability for damage to persons or property caused by:
- use of the appliance other than that specified;
- failure to comply with the instructions in the user manual;
- tampering with any part of the appliance;
- use of non-original spare parts.
Identification plate
The identification plate bears the technical data, serial number and brand name of the appliance. Do not remove the identification plate for any reason
Disposal

This appliance conforms to the WEEE European directive (2012/19/EU) and must be disposed of separately from other waste at the end of its service life.
The appliance does not contain substances in quantities sufficient to be considered hazardous to health and the environment, in accordance with current European directives.
Power voltageDanger of electrocution • Disconnect the mains power supply. • Unplug the appliance. |
To dispose of the appliance:
- Cut the power cable and remove it.
- Deliver the appliance to the appropriate recycling centre for electrical and electronic equipment waste, or return it to the retailer when purchasing an equivalent product, on a one for one basis.
Our appliances are packaged in non-polluting and recyclable materials. - Deliver the packing materials to the appropriate recycling centre.
Plastic packagingDanger of suffocation • Do not leave the packaging or any part of it unattended. • Do not let children play with the plastic bags. |
Energy efficiency information
The information according to the European Eco design directive can be found in a separate document together with the product instructions. This information can be found in the “Product information sheet” that can be downloaded from the page for the specific product on the website.
To save energy
- When buying a pan, check whether the diameter indicated is that of the base or the top of the pan, as the top is almost always larger than the base.
- When preparing dishes with long cooking times, you can save time and energy by using a pressure cooker, which also helps to retain vitamins contained in the food.
- Make sure that the pressure cooker contains enough liquid as, if there is not enough and it overheats, this may cause damage to both the pressure cooker and the cooking zone.
- If possible, always cover pans with a suitable lid.
- Choose a pan suitable for the quantity of food to be cooked. A large, half-empty saucepan leads to a waste of energy
How to read the user manual
This user manual uses the following reading conventions:
Warning/Caution |
Information/Advice |
DESCRIPTION
General description

1: Control panel
AUX: Auxiliary burner
SR: Semi-rapid burner
UR2: Ultra-rapid burner
Gas cooking zone
Front left zone
Rear left zone
Rear right zone
Front right zone
Rear central zone
Front central zone
Burner knobs
For lighting and adjusting the hob burners. Press and turn the knobs anti-clockwise to in
order to light the relative burners. Turn the knobs to the zone between the maximum
and minimum
setting to adjust the flame. Return the knobs to the
position to turn off the burners.
Accessories
• Not all accessories are available on some models.
• The accessories intended to come into contact with food are made of materials that comply with the provisions of current legislation.
• Original supplied and optional accessories can be requested to Authorised Assistance Centres. Use only original accessories supplied by the manufacturer.
Raised pan support

Useful when using pans of up to 30 cm in diameter.
USE
Precautions
See General safety instructions. |
A gas leak can cause an explosion.
If you smell gas or there are faults in the gas system:
- Immediately turn off the gas supply or close the valve on the gas cylinder.
- Extinguish all naked flames and cigarettes.
- Do not turn on power switches or appliances and do not remove plugs from power sockets. Do not use phones or mobile phones inside the building.
- Open the window in order to ventilate the room.
- Call customer assistance services or your gas supplier.
Malfunctions
Any of the following indicate a malfunction and you should contact a service centre.
- The burners do not ignite properly.
- It is difficult to keep the burners lit.
- The burners go out when the appliance is in use.
- It is difficult to turn the gas cocks.
Preliminary operations
See General safety instructions. |
• Remove any protective film from the outside or inside of the appliance, including accessories.
• Remove any labels (apart from the technical data plate) from the accessories and shelves.
• Remove and wash all the appliance accessories (see “CLEANING AND MAINTENANCE”).
Practical tips for using the hob
For better burner efficiency and to minimise gas consumption, use pans with lids and of suitable size for the burner, so that the flames do not reach up the sides of the pan. Once the contents come to the boil, turn down the flame far enough to ensure that the liquid does not boil over.
Using the accessories
Raised pan support
• Only use the raised pan support on the UR2 burner.• Pan diameters that can be used with the raised pan support: 26 |
The raised pan supports should be placed on the hob pan supports. Make sure they are placed properly.

Using the hob
All the appliance’s control and monitoring devices are located together on the front panel. The burner controlled by each knob is shown next to the knob. The appliance is equipped with an electronic ignition device. Simply press the knob and turn it anti-clockwise to the maximum flame symbol, until the burner ignites. If the burner does not light in the first 15 seconds, turn the knob
to and wait 60 seconds before trying again. After lighting, keep the knob
pressed in for a few seconds to allow the thermocouple to heat up. The burner may go out when the knob is released: In this case, the thermocouple has not heated up sufficiently. Wait a few moments and repeat the operation. Keep the knob pressed in longer.
In case of an accidental switching off, a safety device will be tripped, cutting off the gas supply, even if the gas cock is open. Return the knob |
Usable cookware diameters
Burner | Pan diameter |
AUX | 12 – 16 cm |
SR | 18 – 24 cm |
| UR2 | 22 – 26 cm |
Using cookware

To prevent burns or damage to the hob or the counter top during cooking, all pans or griddles must be placed inside the perimeter of the hob.
Always make sure that the control knobs are in the |
Precautions when using the griddle

A few precautions are necessary if you wish to use a griddle:
- The griddle must not extend beyond the edge of the hob.
- Do not place the griddle over more than one burner at the same time.
- The griddle can be pre-heated on the burner at maximum power for no more than 10 minutes.
- Make sure that the burner flame does not extend beyond the edge of the griddle.
- Keep a distance of at least 160 mm between the griddle and the side and/or rear wall, especially if it is placed on an Ultra-Rapid burner.
- It is not recommended to use earthenware or steatite griddles.
- Never use the griddle for more than 40 minutes.
Correct positioning of the flame-spreader crowns and burner caps

Before lighting the hob burners, make sure that the flame-spreader crowns are correctly positioned in their housings with their respective burner caps. Make sure that the holes 1 in the flame-spreader crowns are aligned with the igniters 3 and thermocouples 2.
Correct positioning of the pan supports
The pan support grids are provided unassembled on the hob. To position the pan support grids correctly, follow the instructions shown in figure.

Make sure that the pan supports are simply centred on their respective burners, without forcing them to be raised or tilted. If they are, repeat the positioning procedure. If you find that a pan is particularly unstable, make sure that the grids have not been positioned incorrectly
CLEANING AND MAINTENANCE
Cleaning the hob
Cooking hob pan support grids
Remove the pan support grids and clean them in lukewarm water and non-abrasive detergent. Make sure to remove any encrustations. Dry them thoroughly and return them to the hob.
The continuous contact between the pan supports and the flame can cause modifications to the enamel over time in those parts exposed to heat. This is a completely natural phenomenon which has no effect on the operation of this component. |
Flame-spreader crown and burner caps
For easier cleaning, the flame-spreader crowns and the burner caps can be removed. Wash them in hot water and non-abrasive detergent. Carefully remove any encrustation, then wait until they are perfectly dry. Replace the flamespreader crowns, making sure that they are correctly positioned in their housings with their respective burner caps.
Igniters and thermocouples
For correct operation the igniters and thermocouples must always be perfectly clean. Check them frequently and clean them with a damp cloth if necessary. Remove any dry residues with a wooden toothpick or a needle.
Cleaning the hob
See General safety instructions. |
Cleaning the surfaces
To keep the surfaces in good condition, they should be cleaned regularly after use. Let them cool first.
Ordinary daily cleaning
Always and only use specific products that do not contain abrasives or chlorine-based acids. Pour the product onto a damp cloth and wipe the surface, rinse thoroughly and dry with a soft cloth or a microfibre cloth.
Weekly cleaning
Clean and maintain the hob once a week using an ordinary glass cleaning product. Always follow the manufacturer’s instructions. The silicon in these products creates a protective, water repellent membrane which also resists dirt. All marks stay on the membrane and can therefore be removed easily. After cleaning, dry the surface with a clean cloth. Make sure that there is no detergent left on the cooking surface as it might undergo an aggressive reaction when heated up and could modify the structure of the cooking surface.
Food stains or residues
Light coloured marks from pans with aluminium bases can be easily cleaned off with a cloth moistened in vinegar. Remove any burnt-on residues after cooking; then rinse with water and dry thoroughly with a clean cloth. Changes in colour do not affect the operation and stability of the glass. These are not alterations to the material of the hob but just residues which have not been removed and have then carbonised. Shiny surfaces can form due to the use of
inappropriate cleaning products. They are difficult to remove using conventional cleaning products. It may be necessary to repeat the cleaning process several times. Using harsh detergents can wear away the decoration on the hob over time and contribute to the formation of stains
We recommend the use of cleaning products distributed by the manufacturer. |
After cleaning, dry the appliance thoroughly to prevent any water or detergent from interfering with its operation or creating unsightly marks. |
What to do if…
The hob does not work:
• Make sure that the hob is connected and that the main switch is turned on.
• Make sure that there is no power failure.
• Make sure that the fuse has not blown. In this case replace the fuse.
• Make sure that the circuit breaker of the residential electrical system has not tripped. In this case, reset the circuit breaker. The cooking results are unsatisfactory:
INSTALLATION
The appliance must be installed by a qualified technician and according to the regulations in force. |
Appliance factory set for: natural gas G20 at a pressure of 20 mbar. |
Gas connection
See General safety instructions. |
Connection to the gas mains can be made using a continuous wall steel hose in compliance with the guidelines established by the standards in force. To use other types of gas, see the chapter “Adaptation to different types of gas”. The appliance’s gas connector has a ½” external thread (ISO 228-1).
Connection with a steel hose
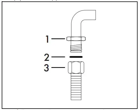
Make the connection to the gas mains using a continuous wall steel hose whose specifications comply with the applicable standard.

Carefully screw the connector 3 to the gas connector 1 of the appliance, placing the seal 2 between them.
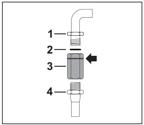
Connection with a steel hose with bayonet fitting
Carry out the connection to the gas mains using a steel hose with bayonet fitting compliant with

Apply insulating material to the thread of the gas hose connector 4 and screw the adapter 3 onto it. Screw the assembly onto the movable connector 1 of the appliance, inserting the seal provided 2 between them.
Connection with a steel hose with conical fitting
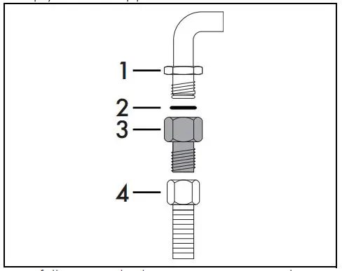
Make the connection to the gas mains using a continuous wall steel hose whose specifications comply with the applicable standard.

Carefully screw the hose connector 3 to the appliance’s gas connector 1 (½” thread ISO 228-1), placing the seal 2, provided, between them. Apply insulating material to the thread of connector 3 and then screw the steel hose 4 onto the connector 3.
Connection to LPG

Use a pressure regulator and make the connection on the gas cylinder following the guidelines set out in the standards in force. The supply pressure must comply with the values indicated in the “Burner and nozzle characteristics table”.
Room ventilation
The appliance should be installed in rooms that have a permanent air supply in accordance with the standards in force. The room where the appliance is installed must have enough air flow for the regular combustion of gas and the necessary air change in the room itself. The air vents, protected by grilles, must be the right size to comply with current regulations and positioned so that no part of them is obstructed, not even partially.
The room must be kept adequately ventilated in order to eliminate the heat and humidity produced by cooking: In particular, after prolonged use, you are recommended to open a window or to increase the speed of any fans.
Extraction of the combustion products
The combustion products may be extracted by means of hoods connected to a natural draught chimney whose efficiency is certain or via forced extraction. An efficient extraction system requires precision planning by a specialist qualified in this area and must comply with the positions and clearances indicated by the applicable standards.
When the job is complete, the installer must issue a certificate of conformity.

1 Extraction using a hood
2 Extraction without a hood
A Extraction with a single natural draught chimney
B Extraction with a single chimney with extractor fan
C Extraction directly outdoors with wall- or window-mounted extractor fan
D Extraction directly outdoors through wall
Air
Combustion products
Extractor fan
Adaptation to different types of gas
In case of operation with other types of gas, the burner nozzles must be changed and the minimum flame adjusted on the gas cocks.
Replacing nozzles

1. Remove the pan supports, burner caps and flame-spreader crowns to access the burner cups.
2. Replace the nozzles using a 7-mm wrench according to the type of gas to be used (see the “Burner and nozzle characteristics table”).
3. Replace the burners in their respective housings.
Adjusting the minimum setting for natural or town gas
1. Light the burner and turn it to the minimum position.
2. Remove the gas tap knob and turn the adjustment screw next to the gas cock spindle (depending on the model) until the correct minimum flame is achieved.

3. Refit the knob and verify that the burner flame is stable.
4. Turn the knob rapidly from the maximum to the minimum setting: The flame should not go out.
5. Repeat the operation on all the gas taps.
Adjusting the minimum setting for LPG
Tighten the screw located at the side of the cock spindle clockwise all the way.
Following adjustment to a gas other than the one originally set in the factory, replace the gas setting label on the appliance with the one corresponding to the new gas. The label is inserted inside the nozzle pack (where present). |
Lubricating the gas cocks
Over time the gas cocks may become difficult to turn and get blocked. Clean them internally and replace the lubrication grease.
Lubrication of the gas cocks should be performed by a specialized technician. |
Gas types and Countries
| Gas types | IT | GB IE | FR BE | ES | PT | RU | SE DK | FI NO | PL | HU |
1 Natural Gas G20 | ||||||||||
G20 20 mbar | . | . | . | . | . | . | . | . |
| |
G20/25 20/25 mbar |
| . |
| |||||||
2 Natural Gas G20 | ||||||||||
G20 25 mbar |
| . | ||||||||
3 Natural Gas G25.1 | ||||||||||
G25.1 25 mbar | . | |||||||||
4 Natural Gas G2.350 | ||||||||||
G2.350 13 mbar | . | |||||||||
5 LPG G30/31 | ||||||||||
G30/31 28-30/37 mbar | . | . | . | . | . | . |
| |||
G30/31 30/30 mbar | . | . | . | |||||||
6 LPG G30/31 | ||||||||||
G30/31 37 mbar | . | |||||||||
7 Town Gas G110 | . | |||||||||
G110 8 mbar | . |
It is possible to identify the available gas types based on the country the appliance is to be installed in. Refer to the heading number to identify the correct values in the “Burner and nozzle characteristics tables”.
Burner and nozzle characteristics tables
| 1 | Natural Gas G20 – 20 mbar | AUX | SR | UR2 |
| Rated heating capacity (kW) | 1.05 | 1.75 | 4.0 | |
| Nozzle diameter (1/100 mm) | 72 | 97 | 150 | |
| Pre-chamber (printed on nozzle) | (X) | (Z) | (H3) | |
| Reduced flow rate (W) | 400 | 500 | 1400 | |
| 2 | Natural Gas G20 – 25 mbar | AUX | SR | UR2 |
| Rated heating capacity (kW) | 1.05 | 1.75 | 3.9 | |
| Nozzle diameter (1/100 mm) | 72 | 94 | 140 | |
| Pre-chamber (printed on nozzle) | (X) | (Z) | (H3) | |
| Reduced flow rate (W) | 400 | 500 | 1400 | |
| 3 | Natural Gas G25.1 – 25 mbar | AUX | SR | UR2 |
| Rated heating capacity (kW) | 1.05 | 1.75 | 3.9 | |
| Nozzle diameter (1/100 mm) | 77 | 100 | 148 | |
| Pre-chamber (printed on nozzle) | (F1) | (Y) | (F3) | |
| Reduced flow rate (W) | 400 | 500 | 1400 | |
| 4 | Natural Gas G2.350 – 13 mbar | AUX | SR | UR2 |
| Rated heating capacity (kW) | 1.05 | 1.75 | 3.9 | |
| Nozzle diameter (1/100 mm) | 92 | 120 | 200 | |
| Pre-chamber (printed on nozzle) | (Y) | (Y) | (H1) | |
| Reduced flow rate (W) | 400 | 500 | 1400 | |
| 5 | LPG G30/31 – 30/37 mbar | AUX | SR | UR2 |
| Rated heating capacity (kW) | 1.05 | 1.75 | 4.0 | |
| Nozzle diameter (1/100 mm) | 50 | 65 | 100 | |
| Pre-chamber (printed on nozzle) | – | – | – | |
| Reduced flow rate (W) | 400 | 500 | 1600 | |
| Rated flow rate G30 (g/h) | 76 | 135 | 291 | |
| Rated flow rate G31 (g/h) | 75 | 125 | 286 | |
| 6 | LPG G30/31 – 37 mbar | AUX | SR | UR2 |
| Rated heating capacity (kW) | 1.05 | 1.85 | 4.0 | |
| Nozzle diameter (1/100 mm) | 50 | 65 | 96 | |
| Pre-chamber (printed on nozzle) | – | – | (S4) | |
| Reduced flow rate (W) | 400 | 500 | 1600 | |
| Rated flow rate G30 (g/h) | 76 | 135 | 291 | |
| Rated flow rate G31 (g/h) | 75 | 125 | 286 | |
| 7 | Town gas G110 – 8 mbar | AUX | SR | UR2 |
| Rated heating capacity (kW) | 1.0 | 1.7 | 3.5 | |
| Nozzle diameter (1/100 mm) | 145 | 185 | 340 | |
| Pre-chamber (printed on nozzle) | /8 | /2 | – | |
| Reduced flow rate (W) | 400 | 500 | 1400 |
The nozzles not provided are available at Authorised Service Centres
Electrical connection
See General safety instructions |
General information
Check the mains characteristics against the data indicated on the plate. The identification plate bearing the technical data, serial number and brand name is visibly positioned on the appliance. Do not remove this plate for any reason. The appliance must be connected to ground using a wire that is at least 20 mm longer than the other wires.
The appliance can work in the following modes:
- 220-240 V 1N~

The values indicated refer to the crosssection of the internal conductor. |
Fixed connection
Fit the power line with an all-pole circuit breaker with a contact separation distance sufficient to provide complete disconnection in category III overvoltage conditions, pursuant to installation regulations.
For the Australian/New Zealand market:
The circuit breaker incorporated in the fixed connection must comply with AS/NZS 3000.
Connection with plug and socket
Make sure that the plug and socket are of the same type.
Avoid using adapters, gang sockets or shunts as these could cause overheating and a risk of burns
Section cut from the countertop
Safety instructions for positioning and installation
See General safety instructions. |
- Installation can be carried out on various materials such as masonry, metal, solid wood or plastic laminated wood as long as they are heat resistant (>90°C).
- Veneers, adhesives or plastic coatings on adjacent furniture should be temperature resistant (>90°C), otherwise they might warp over time.
- If the piece of furniture does not have the required recess opening, either it will have to be cut or masonry work carried out by a competent technician.
- The minimum clearance between exhaust hoods and the cooking surface must be at least the distance indicated in the exhaust hood installation instructions.
- The minimum clearances must also be respected for the edges of the hob on the back as indicated in the assembly instructions.
- If the appliance is to be installed above an oven, the oven must be fitted with a cooling fan.
Appliance overall dimensions (mm)

Built-in cabinet dimensions (mm)

*If there is a kitchen unit positioned above the hob. In the case of a hood, refer to the measurements indicated in the relative manual.
Fastening to the built-in cabinet
To prevent leakage of liquid between the frame of the hob and the countertop, place the adhesive seal provided along the entire outer edge of the hob before assembly.
1. Refer to the dimensions indicated in the figure, bearing in mind that the long front and rear sides must be flush with the hole.

2. Press lightly to make the seal stick to the edge around the hole in the worktop. The front and rear sides of the seal must be flush with the hole.

3. Place the hob on the insulating seal and fix it to the supporting structure using the screws and fastening brackets supplied (A) so that the hob is perfectly level.

4. Carefully trim the excess away from the edge of the seal (B).

The brackets should be positioned only after having placed the hob on the seal. |
Connection positions (mm)

Electrical connection
Gas connection
Mounting
Over built-in oven unit
The clearance between the hob and the kitchen units or other built-in appliances must be enough to ensure sufficient ventilation and air discharge. If installed above an oven, a space must be left between the bottom of the hob and the top of the appliance installed below.

1 Opens on bottom
2 Opens on bottom and back
On an empty kitchen
If there are other pieces of furniture under the hob, a double-layer wooden base must be installed at least 20 mm from the bottom of the hob to avoid any accidental contact. It must only be possible to remove the double-layer base using suitable equipment.

1 Opens on bottom
2 Opens on back
A min. 20 mm – max. 50 mm
B max. 50 mm
C max. 50 mm
Failure to install the double-layer wooden base exposes the user to possible accidental contact with sharp or hot parts. |
Instructions for the installer
- If you use a plug to connect to the power supply, the plug must be accessible after installation.
- Do not bend or trap the power cable.
- The appliance must be installed according to the installation diagrams.
- Do not try to unscrew or force the threaded elbow of the fitting. You may damage this part of the appliance, which may void the manufacturer’s warranty.
- Use soap and water to check for gas leak son all connections. DO NOT use naked flames to search for leaks.
- Turn on all the burners separately and at then all together to make sure that the gas valve, burner and ignition are working properly.
- Turn the burner knobs to the minimum position and check that the flame is stable for each individual burner and all the burners together.
- If the appliance does not work correctly after having carried out all the checks, contact your local Authorised Service Centre.
- Once the appliance has been installed, please explain to the user how to use it correctly.
Power voltage
Warning/Caution
Information/Advice













