User Manual
GETTING STARTED?
EASY.
ZGH66424BB
ZGH66424XX
VISIT OUR WEBSITE TO:
Get usage advice, brochures, trouble shooter, service and repair information: www.zanussi.com/support
SAFETY INFORMATION
Before the installation and use of the appliance, carefully read the supplied instructions. The manufacturer is not responsible for any injuries or damage that are the result of incorrect installation or usage. Always keep the instructions in a safe and accessible location for future reference.
CHILDREN AND VULNERABLE PEOPLE SAFETY
- This appliance can be used by children aged from 8 years and above and persons with reduced physical, sensory or mental capabilities or lack of experience and knowledge if they have been given supervision or instruction concerning the use of the appliance in a safe way and understand the hazards involved.
Children of less than 8 years of age and persons with very extensive and complex disabilities shall be kept away from the appliance unless continuously supervised. - Children should be supervised to ensure that they do not play with the appliance.
- Keep all packaging away from children and dispose of it appropriately.
- WARNING: Keep children and pets away from the appliance when it operates or when it cools down. Accessible parts become hot during use.
- If the appliance has a child safety device, it should be activated.
- Children shall not carry out cleaning and user maintenance of the appliance without supervision.
GENERAL SAFETY
- This appliance is for cooking purposes only.
- This appliance is designed for single household domestic use in an indoor environment.
- This appliance may be used in, offices, hotel guest rooms, bed & breakfast guest rooms, farm guest houses and other similar accommodation where such use does not exceed (average) domestic usage levels.
- WARNING: The appliance and its accessible parts become hot during use. Care should be taken to avoid touching heating elements.
- WARNING: Unattended cooking on a hob with fat or oil can be dangerous and may result in fire.
- Never use water to extinguish the cooking fire. Switch off the appliance and cover flames with e.g. a fire blanket or lid.
- WARNING: The appliance must not be supplied through an external switching device, such as a timer, or connected to a circuit that is regularly switched on and off by a utility.
- CAUTION: The cooking process has to be supervised. A short term cooking process has to be supervised continuously.
- WARNING: Danger of fire: Do not store items on the cooking surfaces.
- Metallic objects such as knives, forks, spoons and lids should not be placed on the hob surface since they can get hot.
- Do not use the appliance before installing it in the built-in structure.
- Do not use a steam cleaner to clean the appliance.
- If the supply cord is damaged, it must be replaced by the manufacturer, an authorized Service or similarly qualified persons in order to avoid a hazard.
- Where the appliance is directly connected to the power supply, an all-pole isolating switch with a contact gap is required.
Complete disconnection in compliance with the conditions specified in overvoltage category III must be guaranteed. The earth cable is excluded from this. - When you route the mains cable, make sure that the cable doesn’t come into direct contact (for example using insulating sleeving) with parts that can reach temperatures of more than 50°C above room temperature.
- WARNING: Use only hob guards designed by the manufacturer of the cooking appliance or indicated by the manufacturer of the appliance in the instructions for use as suitable or hob guards incorporated in the appliance. The use of inappropriate guards can cause accidents.
SAFETY INSTRUCTIONS
This appliance is suitable for the following markets:
INSTALLATION
WARNING! Only a qualified person must install this appliance.
WARNING! Risk of injury or damage to the appliance.
- Remove all the packaging.
- Do not install or use a damaged appliance.
- Follow the installation instructions supplied with the appliance.
- Keep the minimum distance from other appliances and units.
- Always take care when moving the appliance as it is heavy. Always use safety gloves and enclosed footwear.
- Seal the cut surfaces with a sealant to prevent moisture to cause swelling.
- Protect the bottom of the appliance from steam and moisture.
- Do not install the appliance adjacent to a door or under a window. This prevents hot cookware falling from the appliance when the door or the window is opened.
- If the appliance is installed above drawers make sure that the space, between the bottom of the appliance and the upper drawer, is sufficient for air circulation.
- The underside of the appliance can get hot when in use. If an oven has not been fitted underneath the hob and underside of the appliance is accessible and could allow a user or items stored beneath the hob to come in direct contact with the underside of the hob, an intermediate protection panel must be fitted.
- Plywood or kitchen carcass material is acceptable for the panel.
- The panel must be removable for servicing. Screws used to fix the panel must be accessible after installation.
ELECTRICAL CONNECTION
WARNING! Risk of fire and electric shock.
- All electrical connections should be made by a qualified electrician.
- The appliance must be earthed.
- Before carrying out any operation make sure that the appliance is disconnected from the power supply.
- Make sure that the parameters on the rating plate are compatible with the electrical ratings of the mains power supply.
- Make sure the appliance is installed correctly.
Loose and incorrect electricity mains cable or plug (if applicable) can make the terminal become too hot. - Use the correct electricity mains cable.
- Do not let the electricity mains cable tangle.
- Make sure that a shock protection is installed.
- Use the strain relief clamp on the cable.
- Make sure the mains cable or plug (if applicable) does not touch the hot appliance or hot cookware, when you connect the appliance to the near sockets.
- Do not use multi-plug adapters and extension cables.
- Make sure not to cause damage to the mains plug (if applicable) or to the mains cable.
Contact our Authorised Service Centre or an electrician to change a damaged mains cable. - The shock protection of live and insulated parts must be fastened in such a way that it cannot be removed without tools.
- Connect the mains plug to the mains socket only at the end of the installation. Make sure that there is access to the mains plug after the installation.
- If the mains socket is loose, do not connect the mains plug.
- Do not pull the mains cable to disconnect the appliance. Always pull the mains plug.
- Use only correct isolation devices: line protecting cut-outs, fuses (screw type fuses removed from the holder), earth leakage trips and contactors.
- The electrical installation must have an isolation device which lets you disconnect the appliance from the mains at all poles. The isolation device must have a contact opening width of minimum 3 mm.
GAS CONNECTION
CAUTION! When using a gas cylinder, always keep it on a flat horizontal surface (with the gas valve on top).
- All gas connections should be made by a qualified person.
- Before installation, make sure that the local distribution conditions (nature of the gas and gas pressure) and the adjustment of the appliance are compatible.
- Make sure that there is air circulation around the appliance.
- The information about the gas supply is on the rating plate.
- This appliance is not connected to a device, which evacuates the products of combustion.
Make sure to connect the appliance according to current installation regulations. Pay attention to requirements regarding adequate ventilation.
USE
WARNING! Risk of injury, burns and electric shock.
CAUTION! The use of a gas cooking appliance results in the production of heat, moisture and products of combustion in the room in which it is installed. Ensure that the kitchen is well ventilated especially when the appliance is in use.
Prolonged intensive use of the appliance may require additional ventilation, for example the increasing of mechanical ventilation where present, additional ventilation to safely remove the products of combustion to outside (external) air whilst also providing room air changes with additional ventilation. Consult a qualified person before installation of the additional ventilation.
- Do not change the specification of this appliance.
- Remove all the packaging, labelling and protective film (if applicable) before first use.
- Make sure that the ventilation openings are not blocked.
- Do not let the appliance stay unattended during operation.
- Set the cooking zone to “off” after each use.
- Do not put cutlery or saucepan lids on the cooking zones. They can become hot.
- Do not operate the appliance with wet hands or when it has contact with water.
- Do not use the appliance as a work surface or as a storage surface.
- When you place food into hot oil, it may splash.
WARNING! Risk of fire and explosion - Fats and oil when heated can release flammable vapours. Keep flames or heated objects away from fats and oils when you cook with them.
- The vapours that very hot oil releases can cause spontaneous combustion.
- Used oil, that can contain food remnants, can cause fire at a lower temperature than oil used for the first time.
- Do not put flammable products or items that are wet with flammable products in, near or on the appliance.
WARNING! Risk of damage to the appliance. - Do not keep hot cookware on the control panel.
- Do not let cookware boil dry.
- Be careful not to let objects or cookware fall on the appliance. The surface can be damaged.
- Never leave a burner on with empty cookware or without cookware.
- Do not put aluminium foil on the appliance.
- Use only stable cookware with the correct shape and diameter larger than the dimensions of the burners.
- Make sure cookware is centrally positioned on the burners.
- Do not use large cookware that overlap the edges of the appliance. This can cause damage to the worktop surface.
- Make sure the flame does not go out when you quickly turn the knob from the maximum to the minimum position.
- Use only the accessories supplied with the appliance.
- Do not install a flame diffuser on the burner.
- Do not let acid liquids, for example vinegar, lemon juice or limescale remover, touch the hob.
This can cause matt patches. - Discoloration of the enamel or stainless steel has no effect on the performance of the appliance.
CARE AND CLEANING
WARNING! Do not remove the buttons, knobs or gaskets from the control panel. Water may get inside the appliance and cause damage.
- Clean the appliance regularly to prevent the deterioration of the surface material.
- Switch off the appliance and let it cool down before cleaning.
- Do not use water spray and steam to clean the appliance.
- Clean the appliance with a moist soft cloth. Only use neutral detergents. Do not use abrasive products, abrasive cleaning pads, solvents or metal objects.
- Do not clean the burners in the dishwasher.
SERVICE
- To repair the appliance contact the Authorised Service Centre. Use original spare parts only.
DISPOSAL
WARNING! Risk of injury or suffocation.
- Contact your municipal authority for information on how to dispose of the appliance.
- Disconnect the appliance from the mains supply.
- Cut off the mains electrical cable close to the appliance and dispose of it.
- Flat the external gas pipes.
INSTALLATION
WARNING! Refer to Safety chapters.
BEFORE THE INSTALLATION
Before you install the hob, write down the information bellow from the rating plate. The rating plate is on the bottom of the hob.
Model …………………………………
PNC …………………………………..
Serial number ………………………
IMPORTANT SAFETY REQUIREMENTS
This hob must be installed in accordance with the Gas Safety (Installation and Use) Regulations (Current Edition) and the IEE Wiring Regulations (Current Edition).
Provision for ventilation
Detailed recommendations are contained in the following British Standards Codes Of Practice:
B.S. 6172/B.S. 5440, Par. 2 and B.S. 6891 Current Editions.
The hob should not be installed in a bed sitting room with a volume of less than 20 m³. If it is installed in a room of volume less than 5 m³ an air vent of effective area of 100 cm² is required. If it is installed in a room of volume between 5 m³ and 10 m³ an air vent of effective area of 50 cm² is required, while if the volume exceeds 11 m³ no air vent is required.
However, if the room has a door which opens directly to the outside no air vent is required even if the volume is between 5 m³ and 11 m³.
If there are other fuel burning appliances in the same room, B.S. 5440 Part 2 Current Edition, should be consulted to determine the requisite air vent requirements.
Location
The hob may be located in a kitchen, a kitchen/ diner or bed sitting room (with a volume greater than 20 m³), but not in a bathroom or shower room.
The minimum distance combustible material can be fitted above the hob in line with the edges of the hob is 400 mm. If it is fitted below 400 mm a space of 50 mm must be allowed from the edges of the hob.
GAS CONNECTION
WARNING! Any gas installation must be carried out by a GAS SAFE REGISTER installer.
Make sure that, once the hob is installed, it is easily accessible for the engineer in the event of a breakdown.
The manufacturer will not accept liability, should the above instructions or any of the other safety instructions incorporated in this instruction booklet be ignored.
On the end of the shaft, which includes the R 1/2″ threaded elbow, adjustment is fixed so that the washer is fitted between the components as shown in the diagram. Screw the parts together without using excessive force.
A. End of shaft with nut
B. Washer supplied with the appliance
C. Elbow supplied with the appliance
Connection to the gas supply should be with either rigid or semi-rigid pipe, i.e. steel or copper.
The connection should be suitable for connecting to R 1/2 (1/2 BSP male thread).
When the final connection has been made, it is essential that a thorough leak test is carried out on the hob and installation.
Make sure that the main connection pipe does not exert any strain on the hob.
If you use flexible metal pipes make sure that they agree to ISO 10380 and ISO 10807 standards. Be careful they do not come in touch with mobile parts or they are not squeezed. Also be careful when the hob is put together with an oven.
CAUTION! It is important to install the elbow correctly, with the shoulder on the end of the thread, fitted to the hob connecting pipe.
CAUTION! Failure to ensure the correct assembly will cause leakage of gas.
CAUTION! Make sure that the gas supply pressure of the appliance obeys the recommended values.
Rigid connection:
Carry out connection by using metal rigid pipes (copper with mechanical end).
INJECTORS REPLACEMENT
- Remove the pan supports.
- Remove the caps and crowns of the burner.
- With a socket spanner 7 remove the injectors and replace them with the ones which are necessary for the type of gas you use (see table in “Technical Data” chapter).
- Assemble the parts, follow the same procedure backwards.
- Replace the rating plate (it is near the gas supply pipe) with the one for the new type of gas supply. You can find this plate in the package supplied with the appliance.
If the supply gas pressure is changeable or different from the necessary pressure, you must fit an applicable pressure adjuster on the gas supply pipe.
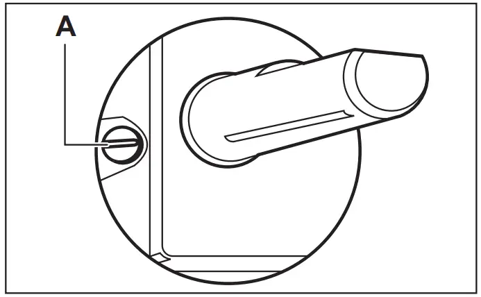
ADJUSTMENT OF MINIMUM LEVEL
To adjust the minimum level of the burners:
- Light the burner.
- Turn the knob on the minimum position.
- Remove the knob and the gasket.

- With a thin screwdriver, adjust the bypass screw position (A).

- If you change:
• from natural gas G20 20 mbar to liquid gas, fully tighten the bypass screw in.
• from liquid gas to natural gas G20 20 mbar, undo the bypass screw approximately 1/4 of a turn (1/2 of a turn for Multi Crown burner). - Reassemble the gasket and the knob.

WARNING! Make sure the flame does not go out when you quickly turn the knob from the maximum position to the minimum position.
ELECTRICAL CONNECTION
- Do not pull the mains cable to disconnect the appliance. Always pull the mains plug (if applicable).
- The appliance must not be connected with an extension cable, an adapter or a multiple socket. There is a risk of fire.
- Do not let the power cable to heat up to a temperature of more than 90° C. The cable should be guided by means of clamps fixed to the side of the cabinet, in order to avoid any contact with the appliance beneath the cooktop.
- Make sure that there is access to the mains plug after the installation.
Electrical Requirements
Permanent electrical installation must agree with the latest I.E.E. Regulations and local Electricity Board regulations. For your own safety the installation must be done by a qualified electrician (e.g. your local Electricity Board, or a contractor who is on the roll of the National Inspection Council for Electrical Installation Contracting [NICEIC]).
The manufacturer refuses to be held responsible, if these safety measures are not abided by.
Supply connections
This hob has to be connected to 220-240 V (~ 50-60 Hz ) electricity supply.
The hob has a terminal block which is marked as follows:
- L — Live terminal
- N — Neutral terminal
or E — Earth terminal
Before carrying out the connection, make sure:
- The limiter valve and the electrical system can take the appliance load (see the rating plate)
- The supply system is equipped with an efficient earth connection in compliance with the current standards and regulations
- The outlet or omnipolar switch used for connection is easily accessible with the appliance installed.
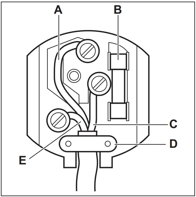
The appliance is supplied with a 3 core flexible power cable with a 3 amp plug. If it is necessary to change the fuse, use a 3 amp ASTA-approved (BS 1362) fuse.
A. Green and Yellow
B. 3 amp fuse
C. Brown
D. Cord clamp
E. Blue
The wires in the cord are coloured as follows:
| Green and yellow | – Earth |
| Blue | – Neutral |
| Brown | – Live |
WARNING! A cut off plug inserted into a 13 amp socket is a serious shock hazard. Ensure that the cut off plug is disposed of safely.
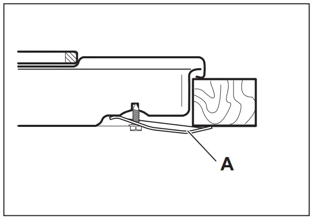
REPLACEMENT OF THE CONNECTION CABLE
The replacement of electric cable must be carried out exclusively by the service force centre or by personnel with similar competencies, in accordance with the current regulations.
To replace the connection cable use only H03V2V2-F T90 or equivalent type. Make sure that the cable section is applicable to the voltage load and the working temperature. The yellow/ green earth wire (B) must be approximately 2 cm longer than the live and neutral wire (A).
- Connect the green and yellow (earth) wire to he terminal which is marked with the letter ‘E’, or the earth symbol , or coloured green and yellow.
- Connect the blue (neutral) wire to the terminal which is marked with the letter ‘N’ or coloured blue.
- Connect the brown (live) wire to the terminal which is marked with the letter ‘L’. It must always be connected to the network phase. There must be no cut or stray strands of wire present. The cord clamp must be correctly attached to the outer sheath.
ASSEMBLY




If a furniture unit is installed at a distance of 400 mm above the hob, there must be a minimum safety distance of 50 mm to the left or right from the edge of the hob.



A) supplied bracket

CAUTION! Install the appliance only on a worktop with flat surface.
POSSIBILITIES FOR INSERTION
The panel installed below the hob must be easy to remove and let an easy access in case a technical assistance intervention is necessary.
Kitchen unit with door or drawer
A. Removable panel
B. Space for connections
Kitchen unit with oven
The electrical connection of the hob and the oven must be installed separately for safety reasons and to allow for easy removal of the oven from the unit.
Kitchen unit with double oven
PRODUCT DESCRIPTION
COOKING SURFACE LAYOUT

- Semi-rapid burner
- Multi Crown burner
- Auxiliary burner
- Control knobs
CONTROL KNOB
| Symbol | Description |
| no gas supply / off position | |
| ignition position / maximum gas supply | |
| minimum gas supply |
DAILY USE
WARNING! Refer to Safety chapters.
BURNER OVERVIEW

A. Burner cap
B. Burner crown
C. Ignition candle
D. Thermocouple
IGNITION OF THE BURNER
Always light the burner before you put on the cookware.
WARNING! Be very careful when you use open fire in the kitchen environment. The manufacturer declines any responsibility in case of the flame misuse.
- Push the control knob down and turn it counterclockwise to the maximum gas supply position (
). - Keep the control knob pushed for equal or less than 10 seconds. This lets the thermocouple arm up. If not, the gas supply is interrupted.
- Adjust the flame after it is regular.
If after some tries the burner does not light, check if the crown and its cap are in correct positions.
WARNING! Do not keep the control knob pushed for more than 15 seconds. If the burner does not light after 15 seconds, release the control knob, turn it into off position and try to light the burner again after minimum 1 minute.
CAUTION! In the absence of electricity you can ignite the burner without electrical device; in this case approach the burner with a flame, turn the control knob counter-clockwise to maximum gas supply position and push it down. Keep the control knob pushed for equal or less than 10 seconds to let the thermocouple warm up.
If the burner accidentally goes out, turn the control knob to the off position and try to light the burner again after minimum 1 minute.
The spark generator can start automatically when you switch on the mains, after installation or a power cut. It is normal.
The hob is supplied with the progressive valves. They make the flame regulation more precise.
TURNING THE BURNER OFF
To put the flame out, turn the knob to the off position .
WARNING! Always turn the flame down or switch it off before you remove the pans from the burner.
HINTS AND TIPS
WARNING! Refer to Safety chapters.
COOKWARE
CAUTION! Do not use cast iron pans, clay or earthenware pots, grill or toaster plates. The stainless steel can become tarnished if it is too much heated.
WARNING! Do not put the same pan on two burners.
WARNING! Do not put unstable or damaged pots on the burner to prevent spills and injuries.
CAUTION! Make sure that the bottoms of pots do not stand too close to the control knob, otherwise the flame heats the control knob up.
CAUTION! Make sure that pot handles are not above the front edge of the cooktop.
CAUTION! Make sure that the pots are placed centrally on the burner in order to get the maximum stability and a lower gas consumption.
DIAMETERS OF COOKWARE
Use cookware with diameters applicable to the size of burners.
| Burner | Diameter of cookware (mm) |
| Multi Crown | 180 – 260 |
| Semi-rapid | 120 – 220 |
| Auxiliary | 80 – 180 |
CARE AND CLEANING
WARNING! Refer to Safety chapters.
GENERAL INFORMATION
- Clean the hob after each use.
- Always use cookware with a clean base.
- Scratches or dark stains on the surface have no effect on how the hob operates.
- Use a special cleaner suitable for the surface of the hob.
Stainless steel
- Wash stainless steel parts with water, and then dry them with a soft cloth.
- To remove burnt food, fat and stubborn stains let them soak in a small amount of mild detergent for a few minutes before cleaning.
- Use cleaning products designed specifically for cleaning stainless steel in order to protect the steel surfaces.
- Do not use cleaning products containing corrosive chemicals such as chlorides, do not clean the surface with disinfectants, stain or rust removers and immersion cleaners.
PAN SUPPORTS
The pan supports are not resistant to washing in a dishwasher. They must be washed by hand.
- Remove the pan supports to easily clean the hob.
Be very careful when you replace the pan supports to prevent the hob top from damage. - The enamel coating occasionally can have rough edges, so be careful when you wash the pan supports by hand and dry them. If necessary, remove stubborn stains with a paste cleaner.
- After you clean the pan supports, make sure that they are in correct positions.
- For the burner to operate correctly, make sure that the arms of the pan supports are aligned with the centre of the burner.

CLEANING THE HOB
- Remove immediately: melted plastic, plastic foil, sugar and food with sugar, otherwise, the dirt can cause damage to the hob. Take care to avoid burns.
- Remove when the hob is sufficiently cool: limescale rings, water rings, fat stains, shiny metallic discoloration. Clean the hob with a moist cloth and a non-abrasive detergent. After cleaning, wipe the hob dry with a soft cloth.
- To clean the enamelled parts, caps and crowns, wash them with warm soapy water and dry them carefully before you put them back on.
CLEANING THE SPARK PLUG
This feature is obtained through a ceramic ignition candle with a metal electrode. Keep these components well clean to prevent difficult lighting and check that the burner crown holes are not obstructed.
PERIODIC MAINTENANCE
Speak to your local Authorised Service Centre periodically to check the conditions of the gas supply pipe and the pressure adjuster, if fitted.
TROUBLESHOOTING
WARNING! Refer to Safety chapters.
WHAT TO DO IF…
| Problem | Possible cause | Remedy |
| There is no spark when you try to activate the spark generator. | The hob is not connected to an electrical supply or it is connected incorrectly. | Check if the hob is correctly connected to the electrical supply. |
| The fuse is blown. | Make sure that the fuse is the cause of the malfunction. If the fuse is blown again and again, contact a qualified electrician. | |
| Burner cap and crown are placed incorrectly. | Place the burner cap and crown correctly. | |
| The flame extinguishes immediately after ignition. | Thermocouple is not heated up sufficiently. | After lightning the flame, keep the knob pushed for equal or less than 10 seconds. |
| The flame ring is uneven. | Burner crown is blocked with food residues. | Make sure that the injector is not blocked and the burner crown is clean. |
IF YOU CANNOT FIND A SOLUTION…
If you cannot find a solution to the problem yourself, contact your dealer or an Authorised Service Centre. Give the data from the rating plate. Make sure, you operated the hob correctly. If not the servicing by a service technician or dealer will not be free of charge, also during the warranty period.
The instructions about the Service Centre and conditions of guarantee are in the guarantee booklet.
LABELS SUPPLIED WITH THE ACCESSORIES BAG
Stick the adhesive labels as indicated below:
A. Stick it on Guarantee Card and send this part (if applicable).
B. Stick it on Guarantee Card and keep this part (if applicable).
C. Stick it on instruction booklet.
TECHNICAL DATA
HOB DIMENSIONS
| Width | 595 mm |
| Depth | 510 mm |
BYPASS DIAMETERS
| BURNER | Ø BYPASS 1/100 mm |
| Multi Crown | 57 |
| Semi-rapid | 32 |
| Auxiliary | 28 |
OTHER TECHNICAL DATA
| TOTAL POWER: | Gas original: | G20 (2H) 20 mbar | 9 kW |
| G30 (3+) 28-30 mbar | 621 g/h | ||
| Gas replacement: | G31 (3+) 37 mbar | 611 g/h | |
| Electric supply: | 220-240 V ~ 50-60 Hz 3 core flexible cable with non rewireable plug fitted with a 3 amp cartridge fuse | ||
| Appliance category: | II2H3+ | ||
| Gas connection: | R 1/2″ | ||
| Appliance class: | 3 | ||
GAS BURNERS FOR NATURAL GAS G20 20 mbar
| BURNE | NORMAL POWER kW | MINIMUM POWER kW | INJECTOR MARK |
| Multi Crown | 4,0 | 1,4 | 146 |
| Semi-rapid | 2,0 | 0,45 | 96 |
| Auxiliary | 1,0 | 0,33 | 70 |
GAS BURNERS FOR LPG G30/G31 28-30/37 mbar
| BURNER | NORMAL POWER kW | MINIMUM POWER kW | INJECTOR MARK | NOMINAL GAS FLOW g/h | |
| G30 28-30 mbar | G31 37 mbar | ||||
| Multi Crown | 3,55 | 1,4 | 95 | 258 | 254 |
| Semi-rapid | 2,0 | 0,45 | 71 | 145 | 143 |
| Auxiliary | 1,0 | 0,33 | 50 | 73 | 71 |
ENERGY EFFICIENCY
PRODUCT INFORMATION ACCORDING TO UK ECODESIGN REGULATION
| Model identification | ZGH66424BB, ZGH66424XX | |
| Type of hob | Built-in hob | |
| Number of gas burners | 4 | |
| Energy efficiency per gas burner (EE gas burner) | Left rear – Semi-rapid | 54.50% |
| Right rear – Semi-rapid | 58.10% | |
| Left front – Multi crown | 59.70% | |
| Right front – Auxiliary | not applicable | |
| Energy efficiency for the gas hob (EE gas hob) | 57.40% |
BS EN 30-2-1: Domestic cooking appliances burning gas – Part 2-1 : Rational use of energy – General
ENERGY SAVING
- Before use, make sure that the burners and pan supports are assembled correctly.
- Use cookware with diameters applicable to the size of burners.
- Center the pot on the burner.
- When you heat up water, use only the amount you need.
- If it is possible, always put the lids on the cookware.
- When the liquid starts to boil, turn down the flame to barely simmer the liquid.
- If it is possible, use a pressure cooker. Refer to its user manual.
ENVIRONMENTAL CONCERNS
Recycle materials with the symbol
. Put the packaging in relevant containers to recycle it. Help protect the environment and human health by recycling waste of electrical and electronic appliances. Do not dispose of appliances marked with the symbol
with the household waste.
Return the product to your local recycling facility or contact your municipal office.
Electrolux Appliances AB – Contact Address: Al.
Powstańców Śląskich 26, 30-570 Kraków, Poland
WWW.ZANUSSI.COM/SHOP
867345144-I-132022































