
OPERATOR’S MANUAL
GENERAL SAFETY WARNINGS
WARNING:
Read all safety warnings and all instructions. Failure to follow the warnings and instructions may result in electric shock, fire, and/or serious injury.
READ ALL INSTRUCTIONS
- Know your product. Read the operator’s manual carefully. Learn its applications and limitations, as well as the specific potential hazards related to this product. Following this rule will reduce the risk of serious personal injury.
- The maximum weight of all the items placed on this cabinet must not exceed 330 lbs.
- Do not exceed the maximum weight capacity for the shelves, side walls, or cubicles.
- This is a cabinet. Do not use for any other purpose than supporting tools or products. Do not use it as a seat, ladder, or standing platform.
- Keep the area around the cabinet clean and well-lit. Cluttered or dark areas invite accidents.
- Mount the cabinet in a dry, indoor place protected from wet conditions.
- Keep cabinet dry, clean, and free from oil and grease.
- Do not use the cabinet if it is damaged or broken. A damaged or broken cabinet may not mount securely and/or it might not provide adequate support for the items stored on it.
- When servicing this product, use only identical replacement parts. The use of unauthorized parts may create a risk of injury.
- Mount the cabinets to sound structural supports. NEVER mount the cabinets to drywall or plaster without the mounting fastener going into structural support.
ALWAYS use concrete anchors when installing cabinets into concrete, brick, or another masonry. Failure to properly mount the cabinet could result in a falling hazard that can cause death or serious personal injury. - Mount the cabinet on smooth and flat surfaces capable of bearing the weight of the cabinet and the items stored on it.
- Use extra care when mounting the unit. Keep proper footing and balance at all times.
- Ensure the cabinet is securely mounted. Make sure it does not rock, slide, or move before storing products or tools.
- Always wear eye protection with side shields marked to comply with ANSI Z87.1 during installation. Following this rule will reduce the risk of serious personal injury.
- Do not allow children or untrained individuals to use this cabinet.
- Always get help when lifting, moving, and mounting the cabinet. When lifting, hold the cabinet close to your body. Bend your knees so you can lift with your legs, not your back.
- SAVE THESE INSTRUCTIONS. Refer to them frequently and use them to instruct other users. If you loan someone this product, also loan these instructions.
SYMBOLS
The following signal words and meanings are intended to explain the levels of risk associated with this product.
| SYMBOL | SIGNAL | MEANING |
| DANGER: | Indicates a hazardous situation, which, if not avoided, will result in death or serious injury. | |
| WARNING | Indicates a hazardous situation, which, if not avoided, could result in death or serious injury. | |
| CAUTION: | Indicates a hazardous situation, that, if not avoided, may result in minor or moderate injury. |
NOTICE:(Without Safety Alert Symbol) Indicates information considered important, but not related
to a potential injury (e.g. messages relating to property damage).
Some of the following symbols may be used on this product. Please study them and learn their meaning. Proper interpretation of these symbols will allow you to operate the product better and safer.
| SYMBOL | NAME | DESIGNATION/EXPLANATION |
| Safety Alert | Indicates a potential personal injury hazard. | |
| Read Operator’s Manual | To reduce the risk of injury, users must read and understand the operator’s manual before using this product. | |
| Eye Protection | Always wear eye protection with side shields marked to comply with ANSI Z87.1. |
FEATURES
PRODUCT SPECIFICATIONS
Maximum Weight Capacity
Entire cabinet ……………………………………..330 lbs.
Top Shelf ………………………………………….77 lbs.
Bottom Shelf ……………………………………..143 lbs.
Cubicles …………………………………….. 22 lbs. per cubicle
Side Wall ………………………………………..11 lbs. per sidewall
INSTALLATION
WARNING:
To reduce the risk of injury, do not attempt to use this product until you have read thoroughly and understand completely this operator’s manual and the operator’s manual for any power tools used.
TOOLS NEEDED (NOT INCLUDED)
AC or DC Drill, Hammer, Level, Pencil, Screws (#10 x 2-1/2 in.) [4], Concrete Anchors (4), and Phillips Screwdriver
MOUNTING THE CABINET
WARNING:
Only install screws and anchors into sound structural supports (such as studs and concrete) in areas where no electrical wires, utility cables, pipes, or other obstructions are located. Failure to follow these instructions can result in death, electrical shock, or another serious personal injury.
WARNING:
Do not lift the product without help. Hold it close to your body. Keep your knees bent and lift with your legs, not your back. Ignoring these precautions can result in back injury.
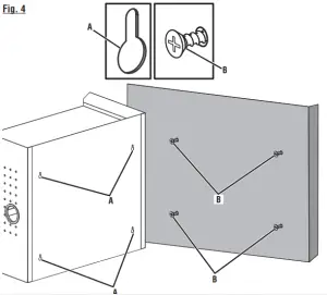
- Locate the wooden studs behind your wall.
- Using a pencil and a level, mark four screw holes. The top two screw holes should be 16 in. apart on studs. The bottom screw holes should be 10.4 inches below the top screws.
- Using an AC or DC drill make four pilot holes slightly smaller than the screws.
- Using a Phillips screwdriver install the screws through each of the pilot holes. Leave the head of the screw approximately 1/4 in. off the wall.
NOTE: Use screws and concrete anchors when installing the cabinet into concrete. Use your fingers to press the anchor into the pilot hole. Tap the head of the anchor lightly with the hammer until it is flush with the wall. Then install the screws. - With the help of at least one other person, carefully lift the cabinet and align the keyholes on the back with the screws in the walls.
NOTE: If necessary, open the door for the bottom shelf so you can see the keyholes from the front of the cabinet. - Place the wide portion of each keyhole over the head of each screw.
- To lock the cabinet in place, slide the cabinet down until the screws are inside the narrow portions of each keyhole.
NOTE: Check cabinet installation by verifying it is level, plumb, and secure to the wall.
To unmount the cabinet:
- Remove all of the items stored on the cabinet.
- With the help of at least one other person, carefully lift the cabinet until the screws are inside the wide portions of each keyhole and remove the cabinet from the wall.
A – Top shelf
B – Bottom shelf
C – Cubicle
D – Keyhole hanger
E – Sidewall

A – Stud
A- Screw
B – Concrete anchor
C – Concrete
D – Stud
A – Keyhole hanger
B – Screw
A – Keyhole hanger
B – Screw
C – Bottom shelf
ONE WORLD TECHNOLOGIES, INC.
P.O. Box 1288, Anderson, SC 29622
• Phone 1-800-525-2579
www.ryobitools.com
















