UEi EM720 Digital Manometer

FEATURES
- Measurement range: -80 to +80 inH20
- Differential Pressure
- Units of Measure: bar, ozin2, psi, inHg, mbar, mmHg, Pa(kPa), kgcm2, inH2O, ftH2O, cmH2O
- Magnetic Mount
- Backlight
- HOLD
- MIN/MAX/AVG Capture
- Ambient temperature measurement
- Auto Power off
- Low Battery Indicator
- Zero Button
IMPORTANT SAFETY WARNINGS
WARNING
Read entire Safety Notes section regarding potential hazard and proper instructions before using this meter. In this manual the word “WARNING” is used to indicate conditions or actions that may pose physical hazards to the user. The word “CAUTION” is used to indicate conditions or actions that may damage this instrument.
- To avoid false readings, replace the batteries if a low battery indicator appears.
WARNING
- Do not exceed Maximum Over Pressure of ±10 PSI. WARNING
- Do not use the manometer if it operates abnormally.
- Always test the manometer before use to ensure it is operating properly.
- Always ensure that the connection hoses you are using are free from kinks, blockage or splits.
- Always double-check all connections before testing.
- While using the manometer, if you suspect gas is leaking, or if you smell gas, close off gas supply and ventilate the occupied space. Identify and repair the source of the leak before continuing with the test.
- Never connect the manometer to an unknown pressure source if the source is twice the working pressure of the instrument; the sensor may be damaged and it may cause injury to the user.
- Never open the manometer or attempt to modify it in any way. Otherwise, accident and injury may occur. And the warranty is voided.
- These manometers do not measure water pressure; under these conditions they will fail.
WARNING
This manometer is designed for trained trade professionals who are familiar with the hazards of their trade. Observe all recommended safety procedures and use of personal protective equipment.
SYMBOLS
![]()
- Hold/Capture Value
- Maximum measured value displayed
- Minimum measured value displayed
- Timed mean average calculated
- values displayed
- Record measured values
- Differential Pressure
- Warning or Caution
- Negative Pressure
- Battery Indicator
GENERAL SPECIFICATIONS
- Operating Temperature: 32°F to 104°F/ 0°C to 40°C
- Storage Temperature: 14°F to 122°F/ -10°C to 50°C
- Operating Humidity: maximum relative humidity 80% for temperatures up to 88°F (31°C) decreasing linearly to 50% relative humidity at 104°F (40°C).
- Operating Altitude: Up to 2000m
- Pollution Degree: 2
- Overvoltage Category: I
- Over-range: OL is displayed
- Apo: Auto Power off after 30 minutes
- Dimensions: 2.95 x 6.25 x 1.41 in
- Item Weight: 0.65 lbs
- Calibration: Recommended Annually
- Certifications: UKCA, CE, FCC, RoHS, REACH Compliant, ISED (CAN ICES-003(B) / NMB-003(B))
- Rated Power: 4.5 VDC (3X1.5 VDC, LR6, AA type batteries)
- Accuracy: ±0.03 < 3 inH2O, ±1%rdg > 3 inH2O
- Resolution: 0.001”(-9.999 to +9.999 inH2O), 0.01” (< -10, > +10 inH2O)
OVERVIEW AND OPERATING INSTRUCTIONS
- A. Pressure Sensor Inputs
- Left Connection: Negative pressure input
- Right Connection: Positive pressure input
- B. Display with Backlight
- Hold: Values are captured/held
- Dif: Differential Pressure
- REC: The manometer will record the Minimum pressure, the Maximum pressure, and Average pressure
- MAX/MIN/AVG
- MAX: Maximum value captured is displayed
- MIN: Minimum value captured is displayed
- AVG: Timed mean value calculation is displayed
NOTE: REC/MAX/MIN/AVG function does not work
- Battery: When battery is too low for safe operation, the Low Battery indicator will display
. See Battery Replacement section at the end of this manual. - Time: (H/M/S) Hours/Minutes/Seconds
- C. DIF ZERO Button
- Press to start Differential Pressure test. Press to stop Differential pressure test.
- To zero the Manometer, press and hold for 4 seconds.
- D. POWER Button (Red)
- Press to power on manometer. Press to power off manometer.
- E. HOLD BACKLIGHT Button
- Press to hold pressure reading on display.
- Press and hold to turn on display backlight. Back light has a 60 second duration.
- F. REC MAX/MIN Button
- Press to record MIN/MAX/AVG values
- Press and hold to exit.
- G. UNITS Button
- 11 Selectable units of measurement
- H. Magnetic Mount
- I. Battery Compartment Cover
- J. Serial Number
SPECIFICATIONS
| Units | Range (Max.) | Resolution | Accuracy |
| bar | ±0.199 | 0.001 |
± 0.03 < 3 inH2O, ±1% rdg > 3 inH2O) |
| ozin2 | ±46.24 | 0.01 | |
| psi | ±2.890 | 0.001 | |
| InHg | ±5.884 | 0.001 | |
| mbar | ±199.3 | 0.001 | |
| mmHg | ±149.5 | 0.1 | |
| Pa/kPa | ±19.93 kPa | 0.1 Pa | |
| kgcm2 | ±0.203 | 0.001 | |
| inH2O | ±80.00 | 0.001 | |
| ftH2O | ±6.667 | 0.001 | |
| cmH2O | ±203.2 | 0.1 |
OPERATING INSTRUCTIONS
- A. DIFFERENTIAL PRESSURE
- Press DIF ZERO button to start Differential Pressure test.
- Press to DIF ZERO button stop Differential pressure test.

- NOTE: Prior to use the Manometer must be zeroed. To do this, ensure the Manometer is in a non-pressurized area and no hoses are connected. The Manometer has a 10 second count down upon powering on.
- B. ZERO
- To zero the manometer, press and hold the DIF ZERO button for 4 seconds.
- The display will show ‘8888’ to indicate that the Zero function has occurred.

- C. HOLD
- Press HOLD BACKLIGHT button to hold pressure reading on display.
- Press to HOLD BACKLIGHT button again to return to live readings on display.

- D. BACKLIGHT
- Press HOLD BACKLIGHT button and hold to turn on display back light.
- Press HOLD BACKLIGHT button and hold to turn off display back light.
NOTE: Backlight has a 60 second duration.
- E. RECORD/MAX/MIN/AVERAGE
- Press REC/MAX/MIN button to record the Minimum pressure, the Maximum pressure, and Average pressure
- Press REC/MAX/MIN button again to view Maximum value captured
- Press REC/MAX/MIN button again to view Minimum value captured
- Press REC/MAX/MIN button again to view Timed mean average calculated
- Press and hold the REC MAX/MIN button to exit.

- Press x 1 = REC
- Press x 2 = MAX
- Press x 3 = MIN
- Press x 4 = AVG
- F. UNITS
- To change the measuring unit
- Press UNITS button to change the selected unit
- PRESS UNITS button again to scroll to the desired unit
- Once the measuring unit is selected, it will remain until another unit is selected.
- Unit options:
- bar
- mbar
- psi
- inHg
- Pa/kPa
- zin2
- kgcm2
- inH2O
- ftH2O
- cmH2O
- mmHg
G. PRESSURE TEST
- Left Port: negative pressure port, applying pressure on this port will display a negative pressure.
- Right Port: positive pressure port: applying pressure on this port will display a positive pressure.
- Use either port to a single source, by venting the other port into the atmosphere.
- The manometer will continually provide a pressure reading.
- Connect hoses to both ports from source for differential pressure mode.
- Press DIF ZERO button to toggle Differential Pressure on and off.
WARNING: Maximum over pressure for this meter is 10 psi
PRESSURE CONVERSIONS
| Multiply | By | To Get |
| In. of H2O | 0.002490891 | bar |
| In. of H2O | 0.577886661 | ozin2 |
| In. of H2O | 0.036127441 | psi |
| In. of H2O | 0.073555975 | InHg |
| In. of H2O | 2.490890781 | mbar |
| In. of H2O | 1.868321732 | mmHg |
| In. of H2O | 249.0890781 | Pa |
| In. of H2O | 0.249089078 | kPa |
| In. of H2O | 0.002540709 | kgcm2 |
| In. of H2O | 0.083320297 | ftH2O |
| In. of H2O | 2.538217706 | cmH2O |
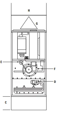
I. EM720 TEST SOURCES
- A. Positive Pressure Input
- B. Negative Pressure Input
- C. Return Plenum
- D. Gas Value
- E. Pressure Switch
- F. Inducer
- G. Evaporator Coil
- H. Supply Plenum


J. BATTERY REPLACEMENT
- When the battery indicator its low.
- Loosen the screws;captive screws are used to insure screws do not get lost, (Phillips-head screws)
- Remove battery cover.
- Replaced the batteries (3) AA batteries
- Replace battery cover, tighten screws.
DISPOSAL
CAUTION: This symbol indicates that equipment and its accessories shall be subject to separate collection and correct disposal.
WARRANTY
The EM720 is warranted to be free from defects in materials and workmanship for a period of one year from the date of purchase. If within the warranty period your instrument should become inoperative from such defects, the unit will be repaired or replaced at UEi’s option. This warranty covers normal use and does not cover damage which occurs in shipment or failure which results from alteration, tampering, accident, misuse, abuse, neglect or improper maintenance. Batteries and consequential damage resulting from failed batteries are not covered by warranty. Any implied warranties, including but not limited to implied warranties of merchantability and fitness for a particular purpose, are limited to the express warranty. UEi shall not be liable for loss of use of the instrument or other incidental or consequential damages, expenses, or economic loss, or for any claim or claims for such damage, expenses or economic loss. A purchase receipt or other proof of original purchase date will be required before warranty repairs will be rendered. Instruments out of warranty will be repaired (when repairable) for a service charge. This warranty gives you specific legal rights. You may also have other rights, which vary from state to state.
FCC STATEMENT
FCC/IC INFORMATION
This equipment has been tested and found to comply with the limits for a Class B digital device,
pursuant to part 15 of the FCC Rules. These limits are designed to provide reasonable protection against harmful interference in a residential installation.
This equipment generates, uses and can radiate radio frequency energy and, if not installed and used in accordance with the instructions, may cause harmful interference to radio communications. However, there
is no guarantee that interference will not occur in a particular installation. If this equipment does cause harmful interference to radio or television reception, which can be determined by turning the equipment off and on, the user is encouraged to try to correct the interference by one or more of the following measures:
- Reorient or relocate the receiving antenna.
- Increase the separation between the equipment and receiver.
- Connect the equipment into an outlet on a circuit different from that to which the receiver is connected.
- Consult the dealer or an experienced radio/TV technician for help.
This equipment complies with FCC RSS102 radiation exposure limits set forth for an uncontrolled environment.
FCC NOTICE
This device complies with Part 15 of the FCC rules and Industry Canada license-exempt RSS 247. Operation is subject to the following two conditions: (1) This device may not cause harmful interference; and (2) this device must accept any interference received, including interference that may cause undesired operation.
FCC CAUTION
The device must not be co-located or operated in conjunction with any other antenna or transmitter. Caution the user that changes or modifications not expressly approved by the party responsible for compliance could void the user’s authority to operate the equipment.
CLEANING
Periodically clean your meter’s case using a damp cloth. DO NOT use abrasive, flammable liquids, cleaning solvents, or strong detergents as they may damage the finish, impair safety, or affect the reliability of the structural components.
Keep pressure ports clean and free of grease and other deposits; clean with a moist cloth as required.
STORAGE
Remove the battery when instrument is not in use for a prolonged period of time. Do not expose to high temperatures or humidity. After a period of storage in extreme conditions exceeding the limits mentioned in the General Specifications section, allow the instrument to return to normal operating conditions before using it.
Contact
- tell: 1-800-547-5740
- web: www.ueitest.com
- email: [email protected]
























