RICOO LH054-F Speaker Stands Instruction Manual
Assembly Instructions
Warning:
Do not exceed listed load weight. Property damage oder serious injury may occur!
Scope of delivery

The numbering on the plastic bag may differ / missing completely!
NOTE: READ THE ENTIRE INSTRUCTION MANUAL BEFORE YOU START INSTALLATION AND ASSEMBLY
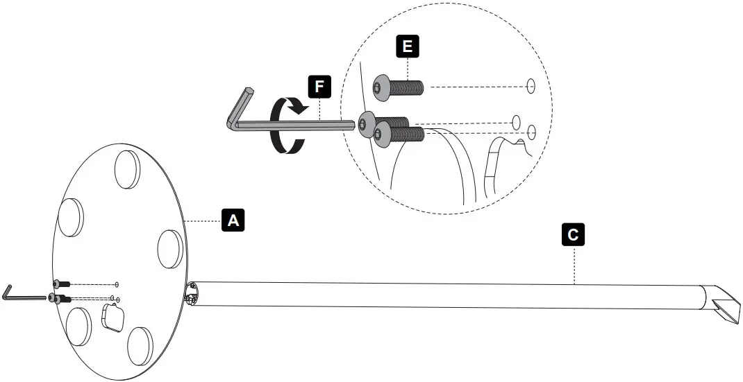
Please note: Images in these assembly instructions are only technical presentation of the product. Actual product design may vary minimally. Do not begin the installation until you have read and understood all the instructions and warnings contained in this installation sheet. If you have any questions regarding any of the instructions or warnings, please contact your local distributor. This product was designed to be installed and used ONLY as specified in this manual. Improper installation of this product may cause damage or serious injury. This product may only be assembled / installed by the technical staff. Make sure that the supporting surface will safely support the combined weight of the equipment and all attached hardware and components. Always use an assistant or mechanical lifting equipment to safely lift and position the equipment. Make sure that before and after the installation of the product neither you nor somebody else can be injured and other objects can be damaged. In case of doubt request for help from an expert. This product is intended for indoor use only. Using this product outdoors could lead to product failure and personal injury. Tighten screws firmly, but do not over tighten. Over tightening can cause damage the items, this greatly reduces their holding power.











