kogan OVPIZ2DNNA Pizzola 2 Drawer Nightstand

COMPONENTS


ASSEMBLY
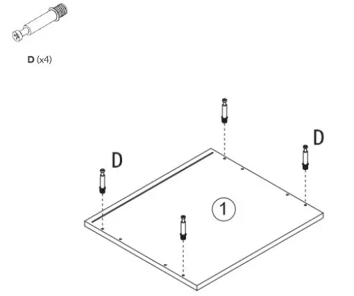
Step 1:
Step 2:

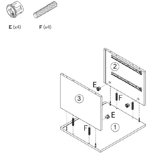
Step 3: Insert F onto part 1. Slot parts 2 and 3 onto part 1.
Use a Phillips head screwdriver (not supplied) to secure E to Don parts 2 and 3.

Step 4:

Step 5:

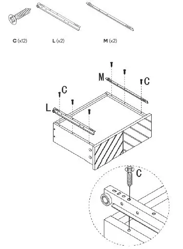
Step 6:

Step 7:

Step 8: Repeat this process twice to create two drawer assemblies.

Step 9: Repeat this process again for the other part labelled 13.

Step 10: Repeat this process twice for both drawer assemblies.

Step 11: Repeat this process twice for both drawer assemblies.
Step 12:

Assembly complete.

Need more information?
We hope that this user guide has given you the assistance needed for a simple set-up.
For the most up-to-date guide for your product,
as well as any additional assistance you may require, head online to help.kogan.com



















