109290 Cayuga 3-Drawer Natural Nightstand

Product Information
The product is a 3-drawer chest manufactured by Noble House Home Furnishings LLC. The product comes with a warning about the risk of furniture tip over and includes tip restraints to minimize the risk. The user manual provides detailed instructions on how to install the tip restraints and prevent tip over. The product also comes with a part list and hardware list for assembly.
Product Usage Instructions
Warning: Children have died from furniture tip over. It is essential to install the tip restraints included the product to minimize the risk of furniture tipping. If you have any questions about the product or the tip restraint, please send an email to [email protected].
- Never allow children to climb or hang on furniture, including drawers or cabinet doors.
- Do not put a TV or other heavy objects on top of this product.
- Do not stand on the product.
Assembly Instructions
The assembly process requires up to 60 minutes and involves multiple parts. Before beginning assembly, unpack all parts and place them on a clean, non-marring surface. Follow the steps below:
- Step 1
Apply the Glue (L), and insert the Wood Dowel M8 x 25mm (A) into the Left Side Panel 1, Right Side Panel 2, Top Panel 4, Support Panel 8, Left Drawer Side Panel 11, and Right Drawer Side Panel 12 using the Hammer (Q). Note: There are pre-existing mounting positions on the panels to insert the Wood Dowels (A). - Step 2
Insert the Cam Bolts (B) into the mounting positions on the Left Side Panel 1, Right Side Panel 2, Top Panel 4, Top Frame 5, Left Side Frame 6, Right Side Frame 7, and Drawer Front 10 using the Screwdriver (S).
Note: There are pre-existing mounting positions on the panels to insert the Cam Bolts (B).
WARNING!!
Children have died from furniture tip over. Tip restraints have been included with this product; you must install the tip restraints according to these instructions in order to minimize the risk of furniture tipping. If you have any questions about this product or the tip restraint, please send us an
email at tip restraint [email protected]
NEVER allow children to climb or hang on furniture, including drawers or cabinet doors.
In addition to installing the restrains ,to help prevent tip over.
- NEVER put a TV or other heavy objects on top of this product.
- Do not stand on the product.

| Assembly Instructions | |||
| Caution : You must read this before you proceed | |||
| 3 DRAWER CHEST | |||
![]() | |||
| Part List | |||
| Label | Picture | Description | QTY |
| 1 | ![]() | Left Side Panel | 1 |
| 2 | ![]() | Right Side Panel | 1 |
| 3 | ![]() | Bottom Panel | 1 |
| 4 | ![]() | Top Panel | 1 |
| 5 | ![]() | Top Frame | 1 | |
| 6 | Left Side Frame | 1 | ||
| 7 | Right Side Frame | 1 | ||
| 8 | ![]() | Support Panel | 1 | |
| 9 | ![]() | Back Panel | 1 | |
| 10 | ![]() | Drawer Front | 3 | |
| 11 | ![]() | Left Drawer Side Panel | 3 | |
| 12 | ![]() | Right Drawer Side Panel | 3 | |
| 13 | ![]() | Drawer Back Panel | 3 | |
| 14 | ![]() | Drawer Panel | 3 | |
| Hardware | |||
| Label | Picture | Description | QTY |
| A | ![]() | Wood Dowel M8 x 25mm | 31 |
| B | ![]() | Cam Bolt | 22 |
| C | ![]() | Cam Lock (15/12.5mm) | 22 |
| D | ![]() | Screw M4.5 x 50mm | 5 |
| E | Screw M4.5 x 38mm | 13 | |
| F | ![]() | Slide | 3 |
| G | Screw M4 x 14mm | 43 | |
| H | ![]() | Truss Head Screw M4 x 22mm | 7 |
| I | ![]() | Handle | 3 |
| J | ![]() | Screw JCBC M6 x 10mm | 5 |
| K | ![]() | Screw Pan Head M4 x 30mm | 7 |
| L | ![]() | Glue | 2 |
| M | ![]() | Metal Plate | 2 |
| N | ![]() | Metal Leg | 2 |
| O | ![]() | Metal Leg | 2 |
| P | ![]() | Allen Wrench | 1 |
| Q | ![]() | Hammer (not provided) | 1 |
| R | ![]() | Power Drill (not provided) | 1 |
| S | Screwdriver (not provided) | 1 | |
| RHeasrdtrwaainret Device Hardware | |||
| T | ![]() | Screw M3.5 x 12mm | 2 |
![]() | Screw M3.5 x 38mm | 2 | |
![]() | Wall Plug | 2 | |
![]() | Webbing | 2 | |



This 3 Drawer Chest has multiple parts and may require up to 60 minutes to assemble. To give you an overview of the 3 Drawer Dresser parts, the above picture is to help you put the various part into perspective. Please read through the instructions below to familiarize yourself with the parts and steps before assembly.

Unpack and place all parts on a clean, non-marring surface. Apply the Glue (L), and insert the Wood Dowel M8 x 25mm (A) into the Left Side Panel 1 , Right Side Panel 2 , Top Panel 4 , Support Panel 8 , Left Drawer Side Panel 11 and Right Drawer Side Panel 12 using the Hammer (Q).
Note: There are pre-existing mounting positions on the panels to insert the Wood Dowels (A).

Insert the Cam Bolts (B) into the mounting positions on the Left Side Panel 1 , Right Side Panel 2 , Top Panel 4 ,Top Frame 5 , Left Side Frame 6 ,Right Side Frame 7 and Drawer Front 10 using the Screwdriver (S).
Note: There are pre-existing mounting positions on the panels to insert the Cam Bolts (B).

Insert the Cam Locks (C) into the mounting positions on the Left Side Panel 1 , Right Side Panel 2 , Top Panel 4 , Support Panel 8 , Left Drawer Side Panel 11 and Right Drawer Side Panel 12 .
CAUTION: Insert the Cam Locks (C) per the correct orientation as indicated in the above picture.
Note: There are pre-existing mounting positions on the panels to insert the Cam Locks (C).

Apply the Glue (L) into the dowel mounting positions on the Drawer Front 10 . Attach the Left Drawer Side Panel 11 and Right Drawer Side Panel 12 to Drawer Front 10 . Turn the Cam Locks (C) clockwise with the Screwdriver (S) until they all lock into place.

- Insert the Drawer Panel 14 along the grooves on the Drawer Front 10 , Left Drawer Side Panel 11 and Right Drawer Side Panel 12 .
- Attach the Drawer Back Panel 13 using the Screw M4.5 x 38mm (E) with the Screwdriver (S).
Note: There are pre-existing mounting positions on the panels for the Screws M4.5 x 38mm (E).

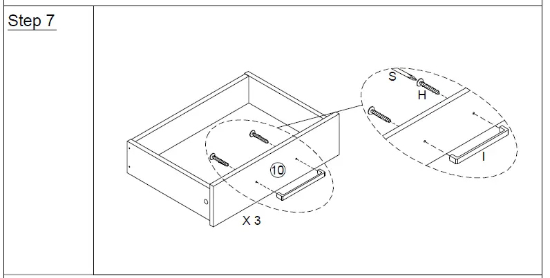
Attach the Left Drawer Slide (F) onto the Left Drawer Side Panel 11 and Right Drawer Slide (F) to the Right Drawer Side Panel 12 using the Screw M4 x 14mm (G) with the Screwdriver (S).
Caution: Ensure the Drawer Slide (F) touches the Drawer Front Panel 10 .
Note: There are pre-existing mounting positions on the panels to attach the Drawer Slide (F)

Attach the Handle (I) to the Drawer Front 10 using the Truss Head Screw M4 x 22m (H) with the Screwdriver (S).
Note: There are pre-existing mounting positions on the panels to attach the Handles (I).
Attach the Left Carcass Slide (F) onto the Left Side Panel 1 and the Right Carcass Slide (F) to the Right Side Panel 2 using the Screw M4 x 14mm (G) with the Screwdriver (S).
Note: There are pre-existing mounting positions on the panels to attach the Carcass Slide (F).

- Apply the Glue (L) into the slot on the Left Side Frame 6 and Right Side Frame 7 . Attach the Left Side Frame 6 and Right Side Frame 7 to Top Frame 5 .
- Assemble the Metal Plate (M) using the Screw M4 x 14mm (G) with the Screwdriver (S).
Note: There are pre-existing mounting positions on the panels to attach the Metal Plate (M).

- Slot on the Metal Leg (N) to Metal Leg (O).
- Assemble the Metal Leg using the Screw JCBC M6 x 10mm (J) with the Allen Wrench (P).

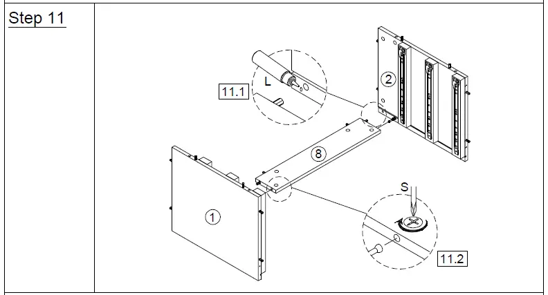
- Apply the Glue (L) into the dowel mounting positions on the Left Side Panel 1 and Right Side Panel 2 . Attach the Left Side Panel 1 and Right Side Panel 2 to the Support Panel 8 .
- Turn the Cam Locks (C) clockwise with the Screwdriver (S) until they all lock into place

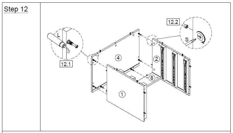
- Apply the Glue (L) into the dowel mounting positions on the Top Panel 4 . Attach the Left Side Panel 1 , Right Side Panel 2 and Support Panel 8 to Top Panel 4 .
- Turn the Cam Locks (C) clockwise with the Screwdriver (S) until they all lock into place.

Insert the Back Panel 9 along the grooves on the Left Side Panel 1 , Right Side Panel 2 and Top Panel 4 .

Apply the Glue (L) into the dowel mounting positions on the Bottom Panel 3 . Attach the Bottom Panel 3 to Left Side Panel 1 and Right Side Panel 2 using the Screw M4.5 x 50mm (D) with the Screwdriver (S).
Note: There are pre-existing mounting positions on the panel to attach the Screw M4.5 x 50mm (D).

Attach the Metal Leg (N) to the Bottom Panel 3 using the Screw M4 x 30mm (K) with the Screwdriver (S).
Note: There are pre-existing mounting positions on the panel to attach the Screw M4 x 30mm (D).

- Apply the Glue (L) into the dowel mounting positions on the Top Frame 5 , Left Side Frame 6 and Right Side Frame 7 . Attach the Frame to the Left Side Panel 1 , Right Side Panel 2 and Top Panel 4 .
- Turn the Cam Locks (C) clockwise with the Screwdriver (S) until they all lock into place

Insert the Drawers into the 3 Drawer Chest.
Cabinet Restraint Device Installation Instructions
WARNING
Serious or fatal crushing injuries can occur from tipping furniture. To help prevent tip over: ALWAYS secure this furniture to the wall using
Cabinet Restraint Device. See product instructions for more ways to help prevent furniture tip over

Usage For Restraint Device:
To secure the 3 Drawer Chest against the wall. Attach the two Webbings from the Harware Pack (T) on the wall and the product, using screws
Instructions:

Attach the Webbing (T) to the pre-holes on the back side of Top Panel 4 using the Screws M3.5 x 12mm (T) with the Screwdriver (S).
Note: There are pre-existing mounting positions on the panel for the Screws (T).

- Drill two holes on the wall at the same height as the Webbing (T) on the 3 Drawer Chest using a Power Drill (R) . Mark the holes by measuring the height of the Webbing (T) with a ruler/measuring tape and mark on the wall to keep them accurate and at the same height.
- Insert Wall Plugs (T) into the drilled holes on the wall with the Hammer (Q).
Move the 3 Drawer Chest to the wall, and secure the product using the
Screws M3.5 x 38mm (T) and the Screwdriver (S).

Your 3 Drawer Chest is ready to be used.
This 3 Drawer Chest can only be used on a flat level surface
Care & Maintenance

Noble House Home Furnishings LLC



















































