
IC8 Top and Bottom Freezer Refrigerator Ice Maker Kit Installation and Operating Instructions
Parts
Use listed part numbers only when ordering replacement parts. A part numbers are not used in installation instructions.

| Item | Description | Part number |
| 1 | Ice maker | D7824703 |
| 2 | Ice maker cover | 10519801 |
| 3 | 5/8″ long sheet metal screw (to secure ice maker) | MO211118 |
| 4 | Stainless steel clip | B5720302 |
| 5 | Ice maker wire harness clamp | 10526701 |
| 6 | Ice maker wire harness | D7813004 |
| 7 | Ice maker arm | 10884401 |
| 8 | Button plug | M0311301 |
| 9 | Oblong plug | A3124301 |
| 10 | Thermal fuse clip (attached to ice maker) | 10319801 |
| 11 | Plastic clips (4) | M0104106 |
| 12 | Ice storage bucket | 10476201 |
| 13 | Compression nut and sleeve | 10244904 |
| N/S | Warning level (attached to side of ice maker) | A3036901 |
| N/S | Diagnostic label (inside ice maker cover) | 10834701 |
| N/S | Installation Instructions | 10527033 |
| N/S= Not shown | ||
Introduction
Recognize this symbol as a safety precaution.
Read the entire manual before installing the kit. All necessary tools and materials must be available prior to installation. Verify all listed parts are included in the kit. If parts are missing, contact the source from whom the kit was purchased.
- Mechanical experience is required to install the kit.
- If unable to solve a problem during installation, contact an authorized Amana technician. Locate a Factory Service Center or independent authorized technician by calling 1-800-628-5782 inside U.S.A. and 1-319-6225511 outside the U.S.A.
Service is at the owner’s expense.
Safety Instructions
WARNING
To avoid electrical shock which can cause severe personal injury or death, unplug the power cord or open a household circuit breaker to the refrigerator before installing kit. After installing kit, reconnect power.
Caution
To avoid property damage, observe the following:
- Confirm water pressure to water valve is at least 20 pounds per square inch.
- Start nuts by hand to avoid cross-threading. Finish tightening nuts using a wrench. Do not overtighten.
- Check carefully for water leaks prior to returning the refrigerator to its normal location and 24 hours after connection.
Before Connecting Ice Maker
Important
- Before connecting the ice maker, contact a plumber to connect copper tubing for refrigerator water supply to household plumbing in compliance with local codes and ordinances.
Use 1 /4″ (6 mm) flexible copper tubing. Length of copper tubing must reach from water supply connection plus an additional 8′ (2.5 m) for service loop behind the refrigerator.
Tubing should be soft instead of rigid and ends should be free of burrs.
The copper tubing route must be above 35°F (2°C) to prevent the water line from freezing.
Do not use piercing type or 3 /16″ saddle valves! Both reduce water flow, become clogged with time, and may cause leaks over time if repair is attempted. The correct type of shut-off valve requires a 1 /4″ hole to be drilled in the water supply pipe prior to valve attachment.
- Amana Appliances recommends having a qualified plumber connect the water supply line to the water supply and refrigerator. If a plumber is not used, the following steps must be followed.
- Move the refrigerator away from the wall and unplug it.
- Seal the open end of copper tubing with masking tape to keep the inside of the tubing clean. After connecting copper tubing to water supply, route copper tubing to refrigerator providing 3 /8″ (10 mm) holes as required.
- Remove tape from the end of copper tubing. Put the end of copper tubing into the sink or bucket. Partially turn
on the water supply to the refrigerator. Water will be under considerable pressure. Allow water to flush through copper tubing for 1 minute. Turn off the water supply to refrigerator when flushing is complete.
Tools Required
- Electric drill (ground fault protected), and 3 /8″ drill bit
- 1 /4″ hex nut driver
- 1 /2″ open-end wrenches (2)
- Flat blade screwdriver
- Masking tape
- Tight-fitting gloves
Procedure
Connect Water Supply Line
Caution
To avoid property damage, protect soft vinyl or another flooring by adjusting leveling legs up, off of the floor before moving the refrigerator.
- Move the refrigerator away from the wall and unplug it.
- Remove the plastic cap from the water valve tube fitting on
the back of the refrigerator. Connect copper tubing to water
valve with nut and sleeve provided in kit.
- Insert copper tubing completely into the water valve inlet port. Start nut by hand to prevent cross-threading. Firmly connect brass nut on copper tubing to water valve inlet port fitting using two 1 /2″ open-end wrenches. Confirm copper tubing is secure by pulling on copper tubing. Do not overtighten.
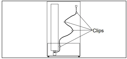
- Create service loop (approximately 8′) using extreme care to avoid kinks. Secure copper tubing at back bottom horizontal cover using “P”-clamp, provided.

- Partially turn on the water supply to the refrigerator and check for leaks. Turn off the water supply to the refrigerator and correct any leaks. Repeat this process until no leaks are found, then completely turn on the water supply to the refrigerator.
Install Water Inlet Tube
- Some refrigerators may have the water inlet tube already installed.
- Remove electrical and water connection cover inside the freezer compartment. The cover is located in the upper left corner of the freezer rear wall compartment.
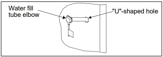
- Remove water tube inlet hole plug from rear of the refrigerator cabinet. Use a blade screwdriver or putty knife with the blade end covered in masking tape to pry the plug out of hole. Insert a screwdriver into the inlet hole and puncture sealing tape located 3″–4″ in the hole. Important: The water fill tube elbow is attached to the plastic water fill line with a clamp and should not be taken apart. During the installation of the water fill tube elbow, make sure enough slack exists in the water fill line to prevent the line from being pulled out.
- Cover end of water fill tube elbow (attached with a plastic water fill line to the back of the cabinet) with masking tape to prevent insulation beads from entering water fill tube elbow. Push gently on water fill tube elbow while twisting elbow slightly until elbow is firmly seated inside”U” shaped hole in the back of the refrigerator.

- Pull water fill tube elbow through a hole in the freezer.
Remove the masking tape from the end of water fill tube elbow. - Install plastic adhesive-backed clips on the back of the unit to remove slack from plastic water fill line. Do not over-stretch the plastic water fill line.

Install Ice Maker
- Remove any shelves that may obstruct the installation of ice maker module.
Models with ice service rack
Slide ice service rack toward the front of the freezer until screws are in the middle of mounting holes. Gently pull the ice service rack away from the freezer. Remove screws using a 1 /4″ hex nut driver. Insert provided plugs into screw holes.
Bottom Freezer models
Remove freezer shelf and basket.
Top Freezer models
Remove freezer shelf. - Install hole plugs to properly position for ice maker.
Models with half-width freezer shelves Push 2 oblong plugs provided, into 2 lowest shelf slots on left side.
Models with full freezer shelves
Push 1 oblong plug provided, into the lowest shelf slot on each side. - Remove ice maker from the shipping carton and discard packing material.
Important
Ice maker is shipped with arm down. This is the correct position for ice production. Do not force arm up or down. - Slip stainless steel clip over the rear wall of ice maker water cup.

- Remove and discard 3 button plugs from left freezer wall using flat blade screwdriver with blade covered with masking tape.
- Start 5 /8″ sheet metal screw in top front hole, and top rear hole in left wall. Leave heads out approximately 3 /8″.
Important
The ice makers can be installed one way only. Do not drill additional holes. - Hold ice maker in position. Verify two outside electrical flats line up with flats in the receptacle on freezer back wall. Insert wire harness plug into the receptacle on rear wall until locking fingers on plug snap into place. Slip ice maker hanger over sheet metal screw.


- Ease ice maker water cup toward the end of the water fill tube.
Water fill tube fits under a stainless steel clip. Water fill the tube must not be kinked. Water fill tube elbow should extend 3 /8″ into ice maker water cup and must be secured under stainless steel clip.
- Install remaining 5 /8″ long sheet metal screw to secure ice maker. Tighten all 3 screws.
- Reinstall the freezer shelf and any baskets.
- Position ice storage bucket on freezer shelf under ice maker.
Caution
To avoid property damage, all covers must be in place. - Plug in the refrigerator and move the refrigerator in place. Level if necessary.
- Check for water leaks 24 hours after installation.
Operating Instructions
- Confirm ice bucket is in place and ice maker arm is down.

- After the freezer section reaches normal temperature, the ice maker fills with water and begins operating. Allow 24–48 hours after installation before the first harvest of ice. Ice maker produces 7 to 9 harvests of ice in a 24-hour period under ideal conditions.
- After ice is formed, the ice maker drops ice cubes into the ice storage bucket. During ice production, the ice maker armraises and lowers. When ice storage bucket is full, ice maker arm turns the ice maker off. Discard the first 3 harvests of ice after initially connecting the refrigerator to the household water supply and after extended periods of non-use.
- Stop ice production by lifting ice maker arm. A definite click is heard when off position is reached. Ice maker arm will remain in off position until ice maker arm is pushed down.
Caution
To avoid damage to the ice maker, observe the following: - Do not force ice maker’s arm down or up.
- Do not place or store anything on an icemaker or in an ice storage bucket.
Before Calling For Service
Allow ice maker 1 overnight period to make ice before assuming a difficulty exists.
If ice maker is not producing ice - Confirm ice maker arm is down.
- Confirm household water supply is reaching water valve.
- Confirm ice maker wiring harness is completely inserted into an electrical receptacle.
- Check electrical connections to the water valve coil.
- Check for kinks in copper or plastic tubing. Remove kinks or replace tubing.
- Confirm the freezer is operating at the proper temperature.
If ice maker is not producing enough ice - Ice maker produces 7 to 9 harvests of ice in a 24-hour period under ideal conditions.
- See above section.
- These may be normal. Refer to Normal Operating
Sounds section in Owner’s Manual.
Warranty
Ice Maker Full One Year Warranty
First Year
Amana Appliances will repair or replace, free of charge, any part which is defective due to workmanship or materials.
Warranty Limitations
- Begins at date of original purchase.
- Applies to product used within the United States or in Canada if the product has Canadian Standards Association listing when shipped from the factory.
- Service must be performed by an authorized Amana technician.
Warranty Is Void If
- Product is used on a commercial, rental or leased basis.
- Product has defect or damage due to an accident, fire, flood, connection to an improper electrical or water supply, lightning, product alteration, shipping and handling, or other conditions beyond the control of Amana.
- Product is improperly installed or used.
Owner’s Responsibilities
- Provide proof of purchase (sales receipt).
- Provide normal care and maintenance. Replace owner replaceable items where directions appear in Owner’s
Manual and Installation Instructions. - Make product reasonably accessible for service.
- Pay for premium service costs for service outside technician’s normal business hours.
- Pay for service calls related to a product installation or customer education.
In no event shall Amana Appliances be liable for incidental or consequential damages*
*This warranty gives you specific legal rights and you may have others which vary from state to state. For example, some states do not allow the exclusion or limitation of incidental or consequential damages so this exclusion may not apply to you.
Part No. 10527033
Printed in U.S.A.
©1998 Amana Appliances
Amana, Iowa 52204




Important




















