

LAUREN ROBOT VACUUM 26BB
User manual
APPLIANCE SPECIFICATIONS
| Model | LBNRV26BB | |
| Design specifications | Diameter | 335 mm |
| Height | 79 mm | |
| Weight | 2.8 kg | |
| Electrical specifications | Battery voltage | 14.4 V |
| Battery type | Li-ion 2600 mAh | |
| Dust bin capacity | 0.23 L | |
| Water tank capacity | 0.22 L | |
| Charging type | Manual charging / automatic charging | |
| Function specifications | Cleaning modes | Auto/ Mode/ Max/ PLAN |
| Charging time | 4-6 hours | |
| Cleaning time | 120 minutes | |
| Electronic water tank Cleaning time | 100 minutes | |
| Switch type on the main body | Touch button | |
Note: Exact specifications are subject to change without notice.
SAFETY INSTRUCTIONS
Read this manual carefully before using the appliance and retain it for future reference. Read the safety instructions thoroughly before using this product, and always follow them carefully. Failure to follow the instructions in this manual may result in personal injury or damage to the equipment or your property.
This appliance is intended for domestic use only.
WARNING: Children over the age of 8 and persons with limited physical, sensory or mental capabilities, or lack of experience and knowledge, should only use this appliance under direct supervision. Children should never play with the appliance: it is not a toy.
Cleaning and maintenance should not be performed by children without direct supervision.
- The appliance should only be disassembled by authorized technicians. Users should not disassemble or attempt to repair the product.
- Use only the original battery and AC adapter for charging. Using an unsuitable power adapter may result in electric shock, fire, or damage to the product or property.
- Do not touch the power cord, plug, or power adapter with wet hands.
- Do not use this appliance in a wet or humid environment, such as a bathroom or laundry room.
- Before using the appliance, remove curtains and any loose objects from the floor that could become tangled in the wheels.
- Clear the floor of any objects before use (remove all fragile objects and power cords, clothing, paper, loose cables, and lift curtains and drapes off the ground to prevent possible accidents.)
- If using the appliance in a space where there is a risk of it falling freely (e.g., on landings, stairs, etc.), the appliance should be operated under supervision; in such cases, it is recommended that you use other safeguards, such as barrier tape or a virtual wall.
- Keep the appliance away from lit cigarettes, lighters, matches, or other flammable substances.
- Never use the appliance to clean flammable or volatile substances, such as petrol.
- The device is intended for indoor use; it should not be used outdoors.
- Do not clean the device unless it is fully charged.
- Do not bend or squeeze the flexible power cord too hard with heavy or sharp objects.
- Do not sit on the appliance or place objects on it. Keep children and pets away when the appliance is in operation.
- Avoid placing the appliance where it is liable to fall (e.g., on tables, chairs, etc.).
- Turn off the appliance during transportation or if it will not be used for a longer time.
- Before charging, make sure that the AC adapter is properly connected to the outlet.
- Inform all persons in the household when the appliance is in operation so that they do not trip over it.
- If the dust bin is full, empty it before using the device.
- Only water should be used in the water container for wet wiping; detergents and other chemicals can cause damage to the appliance.
- After each wipe, empty the container and let it dry.
- Use this appliance in temperatures between 0 ° C and 40 ° C.
- Do not use this device for a longer time in an environment with high temperatures or in direct sunlight, as the rays may adversely affect the operation of the sensors.
- Never remove or attempt to remove the battery from the device yourself. If the battery needs to be replaced, you should contact your dealer, distributor, or an authorized service center. Instructions in this manual relating to removing the battery are intended for use specifically by your service provider or an independent qualified professional.
- Batteries must not be disposed of in fire. Do not disassemble, compress, or puncture the battery.
- If you wish to dispose of the appliance, the designated collection point will help you to dispose of or recycle the appliance, including the battery.
- Unplug the adapter before cleaning or maintaining the device.
- Use only the detachable AC adapter provided with this appliance to charge the battery.
- When removing the battery, the device must be disconnected from the power supply.
BATTERY SAFETY WARNINGS
Warning
- Never remove or attempt to remove the battery from the appliance yourself. If the battery needs to be replaced, contact your service provider or an independent qualified service provider. These instructions have been prepared exclusively for use by your service provider or independent qualified professional.
- FOR YOUR OWN SAFETY, DO NOT ATTEMPT TO REMOVE THE BATTERY YOURSELF, AND NEVER DISPOSE OF IT IN FIRE. DO NOT DISASSEMBLE, PRESS, OR PUNCTURE THE BATTERY.
Battery removal
- Use a screwdriver to remove the screws from the battery cover.
- Remove the battery cover.
- Seize the insulating tape on both sides of the battery and lift out the battery.
- Disconnect the connector between the battery and the robotic vacuum cleaner.
Battery disposal
- Proper disposal of batteries from this appliance (valid in countries with designated battery return systems.)
- The symbols on the battery, manual, and packaging indicate that the batteries used in this appliance must not be disposed of with normal household waste. The chemical symbols Hg, Cd, and Pb indicate that the battery contains mercury, cadmium, or lead in excess of the reference levels in EC Directive 2006/66.
- The battery in this appliance must not be replaced by the consumer.
DISPOSAL OF OLD APPLIANCES
- Directive 2012/19/EU on waste from electrical and electronic equipment (WEEE) requires that old appliances not be disposed of with normal municipal waste. For the disposal of old appliances, use the designated collection point set up for this purpose to optimize the recovery and recycling of the materials contained in it and to reduce the impact on human health and the environment.
- The dustbin symbol is used on all products to remind the consumer of the obligation to return these appliances to the designated collection point. Consumers can contact their local authority or retailer for information on how to dispose of old appliances. When disposing of old appliances, remove anything that could be dangerous and unplug the power cord from the appliance.
Danger
- Never attempt to use the device if it shows signs of damage or if the power cord or plug is damaged. If the power cord is damaged, it must be replaced by an after-sales service to avoid any risk.
- Repairs to the device may only be carried out by qualified and authorized persons. Any repairs that do not meet these standards can significantly increase the risk to the user!
- In the event of damage due to improper handling, deterioration, or attempted repair by third parties, the product warranty is void.
This also applies to normal wear and tear and all appliance accessories.
Important!
We recommend that you keep the packaging for the appliance for at least the length of the warranty period. Without the original packaging, the warranty is void.
KEEP OUT OF REACH OF CHILDREN
Never allow children to play with the robotic vacuum cleaner.
APPLIANCE COMPONENTS
Main parts and accessories
- The main part (standard dust bin + electronic water tank)
- Charging station
- Adapter
- Remote control (batteries not included)
- Side brushes (2x) and replacement brushes (2x)
- Standard dust bin
- HEPA filter (2x)
- Mop Cloth (2x)
- Instructions for use
- Magnetic boundary tape for no-go zones

Main parts
- Main button
- Panel cover
- Anti-collision system
- Bumper
- Power switch
- Dust bin
- Electronic water tank
- Rotary brush cover
- Rotary brush
- Left side brush
- Automatic charging contact
- Universal wheel
- Right side brush
- Battery cover
- Right wheel
- Charging plug
- Mop cloth
- Left wheel
- Bottom cover
Dust bin - HEPA filter
- Main filter
- Dust bin holder
- The top cover of the dust bin
- The bottom cover of the dust bin
Rotary brush module - Rotary brush cover
- Rotary brush roller
- Rotary brush holder
- Rotary brush motor
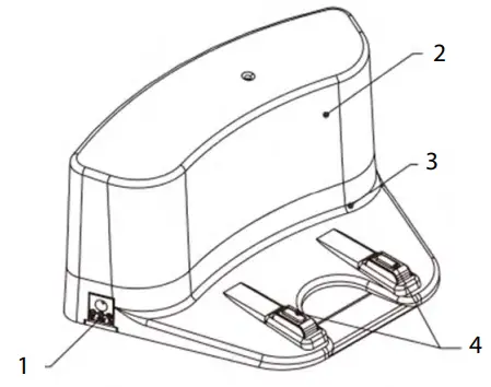
Charging station
- Charging plug
- Top cover of the station
- Middle cover of the station
- Charging contacts

Remote control
- Display
- Home (to return to the charging station)
- Cleaning schedule button
- Direction buttons (work only when the robotic vacuum the cleaner is in standby mode)
- ON/OFF
- Motion mode
- Suction intensity
- Mopping intensity/time settings

Note: Insert two AAA batteries into the remote control before use. If you will not be using the remote control for a long time, remove the batteries. If you use the remote near the charging station, the robot may not recognize the signal and will not perform the operation.
APPLIANCE USE
Operating the control panel
- ON/OFF
- WIFI indicator
- Battery status

- First switch on the vacuum cleaner with the main side switch
- Cleaning

A. Click the
button to start the robotic vacuum cleaner and then again to enable automatic cleaning mode.
B. Switch the robotic vacuum cleaner from sleep mode to standby mode; alternatively press for 7 seconds to put the robotic vacuum cleaner from standby mode to sleep mode.
C. In standby mode, press this button to start the robotic vacuum cleaner.
D. Press and hold the
button for three seconds to start network configuration. - “WIFI” indication
Upon initiating network configuration, the white WIFI LED will flash slowly; when connected to a WIFI network, the white WIFI light remains on; if the network configuration fails, the white WIFI light will flash quickly. - Battery status
If the battery is low, the red indicator light will light up. The red and blue indicator lights flash alternately during charging. When fully charged, the indicator light turns blue.
CHARGING THE BATTERY
- Positioning the charging station
A. Place the charging station against the wall and remove any obstacles within 1 meter of both sides and within 2 meters of the front. Remove all obstacles as shown in the picture on the right.
B. If the robotic vacuum cleaner is switched off, switch it on first with the main button on the side before charging. - Charge the robotic vacuum cleaner in one of the following ways:

a. Plug the end of the adapter into the robotic vacuum cleaner and the other end into an electrical outlet (see figure a).
b. Press the „HOME“ button on the remote control to direct the robotic vacuum cleaner to the charging station (see figure b).
Notes:
a. While charging, the battery status indicator alternately flashes red and blue.
b. When fully charged, the battery status indicator lights up blue.
c. In standby mode, the battery status indicator will light red and the robotic vacuum cleaner will emit a voice message “Please Charge“, and if the battery level is low, it will not automatically return to the charging stations; it will therefore be necessary to manually return it to the charging station.
d. When in operation, the battery status indicator will light red and the robotic vacuum cleaner will emit a voice message “Please Charge“, and if the battery is low, it will automatically search for the charging station.
Extending the lifespan of your battery
a. Charge the battery for at least 5 hours before using it for the first time.
b. If the battery is low, charge the appliance.
c. The robotic vacuum cleaner automatically returns to the charging station when cleaning is complete or when the battery is low.
d. If you are not going to use the robotic vacuum cleaner for a longer time, fully charge the battery, switch off the robotic vacuum cleaner and store it in a cool, dry place.
e. If you have not used the robotic vacuum cleaner for more than 3 months, charge the battery for at least 5 hours before using it again.
START / STANDBY / SLEEP / SHUTDOWN
- Start / Shutdown
A. Make sure the main switch is on (on the right side of the robotic vacuum cleaner).
B. In standby mode, press the
button on the robotic vacuum cleaner or the “ON/OFF” button on the remote control to start it.
Note: If the robotic vacuum cleaner is in sleep mode, press the
button on the robotic vacuum cleaner or the „ON/OFF“ button on the remote control to wake the robotic vacuum cleaner, and then press the button again to start cleaning. - Standby
Standby mode means that the robotic vacuum cleaner is switched on (the light on the panel is on) and is awaiting the user‘s instruction. You can proceed as follows:
A. If the robotic vacuum cleaner is in operation, press the
button to stop it and switch to standby mode.
B. If in operation, press the „ON/OFF“ button on the remote control to switch to standby mode. - Sleep
In sleep mode, press the
button on the robotic vacuum cleaner or the „ON/OFF“ button on the remote control to wake it up.
You can put the robotic vacuum cleaner into sleep mode in one of the following ways to extend battery life:
A. In standby mode, press and hold the
button on the robotic vacuum cleaner for more than 5 seconds to initiate sleep mode.
B. If the robotic vacuum cleaner has been in standby mode for more than 10 minutes, it will automatically go into sleep mode.
REMOTE CONTROL
- Cleaning schedule button
Short press to check the settings, long hold to enter the settings mode, or cancel the cleaning schedule.
A) Setting a cleaning schedule
• Make sure the robot is on standby or on and press and hold the
button. The display shows the current day of the week and time. The day of the week flashes and the time icon is displayed. If the schedule icon is solid, the schedule is set. If it is flashing, no cleaning schedule has been set.
• Setting the day of the week the cleaning is to take place – use the
buttons to select the day and confirm by pressing the cleaning schedule
button.
• Setting the cleaning time – after setting the day of the week, the time icon will flash. Use the
buttons to set the hours and minutes, use the
buttons to toggle between setting the hours and minutes. The hours can be set one by one, the minutes by 30 min.
• Confirming and canceling cleaning – when you have set the desired day of the week, hour, and minute, point the remote control at the robot and press the
button. The robot beeps briefly and the controller displays the current time and day again and the cleaning icon.
• To cancel cleaning on a certain day, move to the selected day using the
buttons, and press the
button to cancel cleaning on the selected day. When the setting is completed, press the
button and the current time and date will reappear on the display.
B) Cancelling a cleaning schedule
• The robot must be switched on or in standby mode. Briefly press the
button on the remote control, the day of the week on which cleaning is set lights up continuously, and the current day of the week flashes.
• Use the
buttons to move to the desired day of the week and check the schedule.
• Press
to return to the main screen of the remote control, which shows the current time and date. If you do not use the controller for 10 seconds, it will switch to the main screen automatically. - ON/OFF button
A) If the robot is in sleep mode, pressing the ON/OFF button twice in a row will switch the robot to standby mode.
B) If you press the ON/OFF button twice in standby mode, automatic cleaning will start.
C) If the robot is charging or cleaning, pressing the ON/OFF button will interrupt the operation.
D) In the cleaning schedule settings mode, this button confirms and saves the settings. - Selecting movement mode
Mode 1: Cleaning along the edges – the robot cleans along the walls.
Mode 2: Area cleaning – the robot cleans an area of 2×2 meters.
Mode 3: Random movement – the robot will move in space along a random trajectory.
Mode 4: Intensive cleaning – the robot cleans the area twice with increased intensity. - Mopping intensity/time settings
Press and hold the
button to enter the time settings, use the
buttons to set the desired value. Tap the button to save the set time.
A short press of the
button changes the intensity of the mop. If the number 1 is shown on the display, the intensity is the lowest, 2 the middle, and 3 the highest. The robot beeps when the mop intensity changes. - Return to the charging base
In standby mode or while cleaning is in progress, press this button to send the robot to the charging base. - Direction buttons
These only work when the robot is in standby mode. - Suction power setting
Use this button to set the suction power when in standby mode or whilst cleaning. If the number 1 is shown on the display, the intensity is the lowest, 2 the middle, and 3 the highest. The robot beeps when the suction intensity changes.
Notes:
• When setting the time, press “ON / OFF” on the remote control to set the hours and minutes; press „Plan“ on the remote control to schedule or cancel a cleaning plan.
• The „ON / OFF“ button on the remote control works in the same way as the
button on the robotic vacuum cleaner.
Cleaning modes
Lauben Robot Vacuum 26BB has 6 different cleaning modes designed for different needs.
- Automatic cleaning mode
In standby mode, press the
button on the robotic vacuum cleaner or press the „ON / OFF“ button on the remote control. The robotic vacuum cleaner will switch to automatic cleaning mode. - Area cleaning modes
Press MODE to enable area cleaning modes:
a. Mode 1: MODE1 will be displayed on the LCD display panel and the robotic vacuum cleaner will begin cleaning along the walls.
b. Mode 2: MODE2 will be displayed on the LCD display panel and the robotic vacuum cleaner will clean within a 2 x 2 m area.
c. Mode 3: MODE3 will be displayed on the LCD display panel and the robotic vacuum cleaner will clean in a random pattern.
d. Mode 4: MODE4 will be displayed on the LCD display panel and the robotic vacuum cleaner will clean twice in MAX mode.
e. Press MODE again and MODE will no longer be displayed on the LCD display panel. The robotic vacuum cleaner switched to standby mode. - MAX cleaning
Press MAX on the remote control to enter the MAX cleaning mode. The robotic vacuum cleaner will move more slowly when cleaning the floor and will increase the suction levels. - Scheduling a cleaning plan
You can schedule a cleaning plan at your convenience and the robotic vacuum cleaner will automatically start cleaning at a set time.
To prevent entry into a particular area, demarcate the area with the magnetic barrier tape included in the package.
Installing the main brush and mop
Follow the instructions in these steps:

Inserting the electronic water tank and the dust bin.
Fill the tank with clean water only, and pour out any remaining water after each use before allowing the container to dry.

APPLIANCE MAINTENANCE
Cleaning the side brushes
- Inspect the side brush for damage or foreign objects.
- Clean the side brush with a cleaning tool or cloth.
- If any twisting or deformation occurs, immerse the side brush in warm water for about 5 seconds.
- If the side brush is damaged and can no longer be used, replace it.
Cleaning the electronic water tank and filters
Empty and clean the electronic water tank after each use as follows:

A. Hold the bottom of the dust bin and press the button to detach it with your thumb.
B. Lift the dust bin holder.
C. Remove the dust bin from the water tank.
D. Open the dust bin cover
E. Remove the main filter and the HEPA filter.
F. Empty the dust bin.
G. Wash the dust bin and the main filter with water. Clean the HEPA filter with a brush – do not wash it underwater
H. Reinsert the main filter and the HEPA filter into the dust bin.
Notes:
- After the main filter has been used for 15-30 days, we recommend washing it. This extends the maximum expected life of the HEPA filter.
- Wait for the main filter to dry completely before returning it to the robotic vacuum cleaner.
- The HEPA filter and main filter can be replaced if necessary.
- Do not dry the filters in direct sunlight.
Cleaning the dust bin and filters
Empty and clean the dust bin after each use as follows:

A. Hold the bottom of the dust bin and press the button to remove it with your thumb.
B. Remove the dust bin.
C. Next, press the button and open the top cover of the dust bin.
D. Remove the main filter and the HEPA filter.
E. Empty the dust bin.
F. Wash the dust bin and the main filter with water. Clean the HEPA filter with a brush – do not wash it underwater.
G. Reinsert the main filter and the HEPA filter into the dust bin.
Notes:
- After the main filter has been used for 15-30 days, we recommend washing it. This extends the maximum expected life of the HEPA filter.
- Wait for the main filter to dry completely before returning it to the robotic vacuum cleaner.
- The HEPA filter and main filter can be replaced if necessary.
- Do not dry the filters in direct sunlight.
Cleaning the sensors and wheels
Wipe down the sensors and wheels with the cleaning tools included in the package or a soft microfiber cloth:

Cleaning the charging contacts
Wipe down the charging contacts on the charging station and robotic vacuum cleaner with cleaning tools or a soft microfiber cloth:

Cleaning the rotary brush
Remove the rotary brush from the robotic vacuum cleaner, remove the rotary brush roller, then clean it with cleaning tools or a microfiber cloth. Remove any tangled hair from the brush and the bearing. (The rotary brush roller can be washed with water)
Note: After washing with water, allow the brush roller to dry completely.

TROUBLESHOOTING | ||||
| Problem | Solution | |||
| 1 | The power is turned off during charging | Turn on the main power switch | ||
| 2 | Charging voltage is too low or automatic charging has failed | Charge the appliance manually | ||
| 3 | Error with anti-fall mechanism (left side) | Reposition the appliance in a secure place | ||
| 4 | Error with anti-fall mechanism (right side) | |||
| 5 | Error with anti-fall mechanism (front) | |||
| 6 | Error with anti-fall mechanism (left wheel) | |||
| 7 | Error with anti-fall mechanism (right wheel) | |||
| 8 | Front-wheel is raised | |||
| 9 | Left side bumper error | Front bumper error (clean it) | ||
| 10 | Right side bumper error | |||
| 11 | Front bumper error | |||
| 12 | The left wheel is jammed | Clean the wheel | ||
| 13 | The right wheel is jammed | |||
| 14 | The left brush is jammed | Clean the side brushes | ||
| 15 | The right brush is jammed | |||
| 16 | The fan motor is jammed | „DING DONG” warning sounded | ||
| 17 | The rotary brush is jammed | |||
| 18 | Low battery | Charge the device | ||
Note: If any of the above solutions do not resolve the problem, please follow the steps below:
1) Reset the robotic vacuum cleaner by turning on the switch on the control panel.
2) If the reset is unsuccessful, contact your dealer to repair the robotic vacuum cleaner.
If you have any questions about this manual, please contact your dealer or distributor.
| Published information | Value and accuracy | Unit |
| Manufacturer’s name or trademark, commercial registration number, and address | _ | _ |
| Model ID number | – | |
| Input voltage | 100-240 | V |
| Input frequency | 50/60 | Hz |
| Output voltage | 24 | V |
| Output current | 0.6 | A |
| Output power | 14.4 | W |
| Average efficiency in active mode | >80 | ok |
| Low-load efficiency (10 %) | >72 | ok |
| No-load power consumption | <0.1 | W |
- The symbol
on the product and in the documentation indicates that used electronics shall not be disposed of as communal waste. When disposing of appliances, take them to the designated waste collection yard, where they will be accepted for free. Proper disposal will help to preserve precious natural resources and protect the environment as well as public health, which both may get threatened by improper disposal and its consequences. For further detail contact the local authorities or the nearest waste collection yard. Improper disposal of electrical appliances may result in fines in compliance with state regulations. Disposal information for users of electrical and electronic appliances (industrial use): Disposal information for users of electrical and electronic appliances is to be asked for and provided by the seller or supplier. Disposal information for users of electrical and electronic appliances in countries outside of the European Union: The disposal symbol stated above
is valid only in the European Union. Disposal information for users of electrical and electronic appliances is to be asked for and provided by the seller or supplier. All information is
represented by the crossed container on the product, package, and printed documentation. - Repairs within the warranty period are to be claimed by the seller. In case of technical difficulties or questions, please contact the seller, who will inform you about the further procedure. Observe the rules for working with electrical appliances. The user is not authorized to dismantle the product nor to replace any part of it. Open or removed covers present a risk of electrical shock. The incorrectly assembled appliance also presents the risk of electrical shock when re-plugged.
The warranty period is 24 months unless stated otherwise. The warranty does not cover damage caused by non-standard usage, mechanical damage, exposure to extreme conditions, usage contrary to the manual, as well as ordinary wear and tear.
The manufacturer, importer, or distributor will not be held responsible for any damage caused by improper usage of the product.
Compliance Statement
Elem6 s.r.o. hereby declares that all Lauben appliances comply with the fundamental requirements as well as other relevant provisions of Directive 2014/30/EU, 2014/35/EU, and 2014/53/EU.
The products are designated for unrestricted sale in Germany, the Czech Republic, Slovakia, Poland, Hungary, and other EU member states. The Compliance Statement can be found on: www.lauben.com/support/doc
Import to EU
elem6 s.r.o., Braškovská 308/15, 16100 Praha 6
www.lauben.com
Manufacturer:
TIGMON GmbH, Yorkstraße 22; 93049 Regensburg, Deutschland
Printing errors and changes in the manual are reserved.
Dust bin




















