GRIZZLE-E Classic EV Charging Stations

Grizzl-E Home EV Charging Station – Avalanche Edition
The Grizzl-E Avalanche Edition is a simple, powerful, heavy-duty and portable electric vehicle charging station made in Canada and built to withstand the harshest conditions. Grizzl-E Avalanche Edition comes exclusively with a Premium 24ft cable which remains flexible in cold temperatures. Internal design and components of the charger have been selected to provide maximum operational life of the device and be able to withstand the elements. Grizzl-E provides up to 10 KW of power to your vehicle. Physical switches inside can be set to provide 16 Amps, 24 Amps, 32Amps or 40 Amps adjustable maximum current.
IMPORTANT SAFETY INSTRUCTIONS
This document contains instructions and warnings that must be followed when installing and using the GRIZZL-E Avalanche Edition Electric Vehicle Supply Equipment (EVSE). Before installing or using the EVSE, read this document including any WARNING and CAUTION symbols
The symbols used have the following meaning:
- risk of personal injury
- risk of fire
- risk of electric shock
- Caution: risk of damage to equipment
- This document provides instructions for the charging station and should not be used for any other product. Before installation or use of this product, review this manual carefully and consult with a licensed contractor, licensed electrician, or trained installation expert to ensure compliance with local building codes and safety standards.
- Consult a licensed electrician to ensure that you can safely install and use this product.
- Ensure that the materials used, and the installation procedures, follow local building codes and safety standards.
- The information provided in this manual in no way exempts the user of responsibility to follow all applicable codes or safety standards.
OVERALL WARNINGS & CAUTIONS
Basic precautions should always be followed when using electrical products, including the following:
- Read all the instructions before using this product.
- Children should not use this device.
- Do not put fingers into the EV connector.
- Do not touch live electrical parts.
- Do not use this product if the flexible power cord or EV cable is ragged, has broken insulation, or any other signs of damage.
- Do not use this product if the enclosure or the EV connector is broken, cracked, open,
or shows any other indication of damage. - Improper connection of the equipment grounding conductor can result in a risk of electric shock. Check with a licensed electrician if you are in doubt as to whether the product is properly connected and grounded.
Repair and Maintenance Clause
- All United Chargers products do not require routine maintenance however, periodic inspections should be conducted to ensure that all parts remain in good working order and no damage exists.
- Do not attempt to open, disassemble, repair, tamper with, or modify any components of the products. Contact United Chargers for any repairs.
WARNING: This equipment is intended only for charging vehicles that do not require ventilation during charging. Please refer to your vehicle’s owner’s manual to determine ventilation requirements.
FCC Declaration of Conformity
This charging station complies with part 15 of the FCC Rules. Changes or modifications the charging station not expressly approved by the manufacturer could void FCC compliance.
Operation is subject to the following two conditions:
- This charging station may not cause harmful interference
- This device must accept any interference received, including interference that may cause undesired operation.
CAUTION: The service wiring in this section are specific to North America only. Before installing the Charging Station, identify the type of utility service connection onsite. If unsure about the type of connection available at the service panel, contact your utility service provider.
Product Features
GRIZZL-E™ Avalanche Edition Electric Vehicle Charging Station (EVSE)
- J1772 AC Level 2 (208-240 VAC), 40A Continuous Rated (9.6 kW)
- Adjustable Maximum Current Output (40A, 32A, 24A, 16A) to Support Multiple Circuit Ratings (50A, 40A, 30A, 20A)
- Extreme Duty, Rigid & Compact Design:
- Robust and heavy-duty aluminum cast case; airtight enclosure for indoor or outdoor use
- No user interface required with EVSE, simply Plug-in to your EV to initiate charging
- EasyEvPlug™ or Tesla EasyEVPlug™ Plug holster and cable management device.
- Plug-in Configuration for easy portability.
- Wall Mount with security features (including single stud mount), Pedestal, Bollard/Pole (Single & Dual Port) available from United Chargers.
- UL certified.
Adjustable Maximum Current Output to Support Multiple Circuit Ratings
The GRIZZL-E™ Avalanche Edition Electric Charging Station features the ability to adjust the maximum charging station current output to allow the use of a 50A, 40A, 30A, or 20A Dedicated Circuit as follows:
- 50A Circuit Rating: To support 40A (9.6kW) Maximum Charging Station Output
- 40A Circuit Rating: To support 32A (7.68kW) Maximum Charging Station Output
- 30A Circuit Rating: To support 24A (5.76kW) Maximum Charging Station Output
- 20A Circuit Rating: To support 16A (3.84kW) Maximum Charging Station Output
The Default Factory Setting is 40A (9.6kW). To change the maximum current output, refer to Chapter 3.1 Adjust Maximum Current Output on page 11. If you are unsure of the circuit ratings in your home consult a licenced electrician.
Self-Monitoring and Recovery | Power Outage Recovery
When a charging session is interrupted due to a temporary error condition, the charging station will automatically restart charging when the cause of the temporary error condition returns to normal. Refer to Chapter 8.3 Self-Monitoring and Recovery (Auto Restart) on page 23 for more information.
Security and Tamper Feature
In addition to the security pin that secures the GRIZZL-E ™ charging station to the wall mount bracket, the GRIZZL-E Avalanche Edition also includes a coupler lock and key with a length of 90mm and diameter of 7mm\
Product Specifications
United Chargers GRIZZL-E™ Electric Vehicle Charging Station (EVSE)
- Model Number GR1-1424PCC
- Connector / EVSE Level SAE J1772; AC Level 2
- Max Output Rating 40A; 9.6 kW Maximum Output – For use with 50A Circuit Rating
- Alternate Adjustable Output Ratings 32A; 7.68 kW Maximum Output – For use with 40A Circuit Rating 24A; 5.76 kW Maximum Output – For use with 30A Circuit Rating 16A; 3.84 kW Maximum Output – For use with 20A Circuit Rating
- Charge Cable Length 24 ft. (7.2m)
- Electrical Circuit / Input Power Requirements Circuit Requirement: Dedicated Single Phase 208-240VAC, 50/60 Hz. Branch Breaker: Double pole.
- Input Power Connection Circuit Conductors: Line 1, Line 2, Earth / Ground.
- Charging Station Color Standard: Plug-in NEMA 14-50 Plug.
- Plug is removable for Hardwire Connection.
- Installation Rating White Special Edition Enclosure
- Operational Ratings NEMA 4, Indoor/Outdoor Rated
- Mounting Temperature: -22⁰F to 122⁰F (-30⁰C to 50⁰C); Humidity: 95% RH non-condensing
- Mounting Wall or Pedestal Installation
- Overall Dimensions EVSE: 10.25 x 6.25 x 3.75 inches (26.0 x 16.0 x 9.3 cm)
- Cable Management LED Charge Status Indicators (Power/Ready, Charging, Fault)
- Display & Indicators J1772 Holster or Tesla Holster with cable management
- Standards & Compliance UL certified
Introduction and Unpacking
This user manual applies to the GRIZZL-E ™ Avalanche Edition EVSE for Plug-in Hybrid Electric Vehicles (PHEVs) and Electric Vehicles (EVs).
The following items are included in the Grizzl-E Avalanche Edition Package:
Installation Planning and Service Wiring:
WARNING: Disconnect the power supply to the charging station before installing, adjusting, or repairing the charging. Failure to do so may result in physical injury or damage to the power supply system and the charging station.
CAUTION: To reduce the risk of fire, connect only to a circuit provided with the minimum branch circuit overcurrent protection requirements in accordance with the National Electrical Code ANSI/NFPA 7- and the Canadian Electrical Safety Code, Part 1, C22.1. If you are unsure if your circuit meets these requirements consult a licensed electrician.
Electrical Source Requirements
- Prior to mounting, locate an available electrical source that can support the following Input Requirements for the Charging Station Per local Electrical Safety Code requirements:
- 40A Maximum Output Setting (Default Factory Setting): a DEDICATED CIRCUIT rated for 50A; 208-240 VAC, 50-60 Hz, Single Phase must be used.
- 32A Maximum Output Setting (Optional Setting): a DEDICATED CIRCUIT rated for 40A;
208- 240 VAC, 50-60 Hz, Single Phase must be used. - 24A Maximum Output Setting (Optional Setting): a DEDICATED CIRCUIT rated for 30A;
208- 240 VAC, 50-60 Hz, Single Phase must be used. - 16A Maximum Output Setting (Optional Setting): a DEDICATED CIRCUIT rated for 20A;
208- 240 VAC, 50-60 Hz, Single Phase must be used.
- A Double Pole Circuit Breaker of the circuit rating must be used.
- The Charging Unit has a built in GFCI protection; do not provide any additional GFCI protection upstream of the charging unit.
- The Charging Stations can connect a Standard NEMA 14-50 Receptacle or the unit can be hardwired
Grounding Instructions
The charging station must be implemented equipment grounding through a permanent wiring system or an equipment grounding conductor. Use a cable with a dedicated grounding conductor connected to the equipment ground terminal block.
Adjustable Maximum Current Output to Support Multiple Circuit Ratings
The GRIZZL-E ™ charging station features the ability to adjust the maximum Charging Station current output to support 50A, 40A, 30A, or 20A Dedicated Circuit ratings as follows:
| Circuit Rating | Maximum Charging Station Output |
| 50A | 40A (9.6 kW) |
| 40A | 32A (7.68 kW) |
| 30A | 24A (5.76 kW) |
| 20A | 16A (3.84 kW) |
- The Charging Station Default Factory Maximum Current Output Setting is 40A (9.6 kW) for use with a 50A Circuit Rating.
- The Circuit must be a DEDICATED CIRCUIT 208-240 VAC, 50-60 Hz, Single Phase.
- Requirements govern that only 80% of the circuit rated load may be utilized, hence the higher Circuit Ratings Requirement relative to maximum Charging Station output.
Adjust Maximum Current Output
To adjust the Maximum Current Output Setting:
- Place the Charging Station on a flat surface with the front cover facing up.
- Remove the front cover by removing the 4 screws at each corner of the charging station.
Figure 3-1. Four screws to remove the Charging Station Cover.
CAUTION: The LED pipe is attached to the front cover. When the front cover is removed, place it on a flat surface facing down to avoid damage to the LED pipe. - With the front cover placed to the side, locate the DIP switch on the charging station circuit board. The DIP switch is a 3-position switch on the main circuit board, located directly to the left of the LED.
WARNING: Do not touch live electrical parts. Disconnect the power supply to the charging station and verify no power is present before adjusting the DIP Switches. A non-conductive object MUST be used to adjust the DIP switch settings. Failure to do so may result in physical injury or damage to the power supply system and the charging station. - Using a non-conductive object adjust the Maximum Current Output to either 32A, 24A or 16A, using the following combination of DIP switch settings:

- Once the DIP Switch Setting is adjusted, reassemble the charging station. Reinstall the top cover to the charging station using the following torque force to secure the (4) socket cap screw:

Calibrating the GRIZZL-E Unit (Optional)
WARNING: Electrical Power MUST remain OFF and DISCONNECTED before setting or changing the DIP switch. Incorrect connection may cause electric shock.
Note:
Calibration should be done before adjusting the charging station’s maximum current output settings.
Calibration Steps:
- Remove the front cover by removing the 4 screws at each corner of the charging station. For more information on how to remove the front cover refer to Chapter 3.1 Adjust Maximum Current Output on page 11.
- Using a non-conductive object, calibrate the Grizzl-E unit by adjusting the DIP switch settings as follows:

- Close the lid, and re-secure the screws.
- Power ON the supply unit until the front LED light turns solid red LED. The solid red LED indicates that the calibration is finished.
- Once calibration is complete, follow the steps from the user manual to set the maximum current output. Refer to Chapter 3.1 Adjust Maximum Current Output on page 11.
Installation
Tools & Parts Required for Installation
Prior to mounting, determine the location of an acceptable mounting support. All charging station products must be anchored into a mounting support such as a 2” x 4” stud or a solid concrete wall. DO NOT mount this unit directly to a stucco/drywall/wall board.
Install the Charging Station
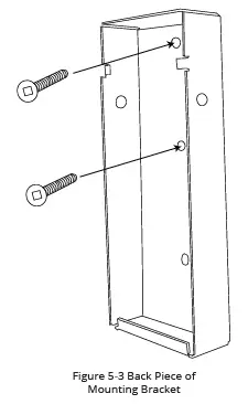
- Separate the front and back piece of the mounting bracket by pushing down on the notch.

- Attach the front piece of the mounting bracket to the back of the charging station using the Socket-cap screws. Ensure the top of the mounting bracket is matched with the top of the charging station.

- Secure the back piece of the mounting bracket to the wall or other suitable structureusing the Robertson-head screws.

The back piece of the mounting bracket has 3 holes to support attachment to various surfaces. Use the top two holes to attach the mounting bracket to a wall stud.Mounting Screw Recommendations:- For finished walls supported by wood studs, use #14 or M6 tapping screws. (Included).
- For masonry walls, use M6 mechanical screws. (Commercially available)
- Use following torque force:

Mount the unit between 24 inches (0.6 m) and 48 inches (1.2 m) from the ground. The NEMA outlet should be located no less than 20~26” from the ground or as defined by applicable, local electrical safety codes and standards.
- Mount the charger on the wall by securing the front piece of the mounting bracket to the back piece of the mounting bracket.
- Secure the charger in place by inserting either the security pin or the outdoor security lock into the mounting bracket.

- Plug in the power cord to the NEMA 14-50 Wall Outlet/Receptacle.
EasyEvPlug Holster and Cable Management System
The EasyEVPlug™ Holster or Tesla EasyEVPlug™ Holster is the new innovative method to pro-tect your plug and manage your cord. It has the following features:
- No need to aim – flawless plug even in the dark.
- Your EV holster will always be in a convenient location.
- Saves space – special angle for less wall clearance.
- Integrated cable management – holds up to 25 feet of cable.
The EasyEvPlug holster can be installed at any location near the charging station.
- Hold back of holster against the mounting surface. Fasten Phillips head screws through back holes. Use anchors if attaching directly to drywall.

- Insert charging connector into holster.

- Insert charging connector into holster.

Input Wiring Connection (Optional Hardwire Connection)
- Choose the appropriate conduit in accordance with all applicable, local and electrical safety codes and standards.

- Using the appropriate tool, clamp the wire terminal to the copper wire. For non-insulated terminals, use heat shrink tube to cover the non-insulated portion of the terminal.

- Remove the front cover by removing the 4 screws at each corner of the charging station. For more information on how to remove the front cover refer to Chapter 3.1 Adjust Maximum Current Output on page 11.
- With the front cover placed to the side, use Philips screwdriver to release terminal screws of the or 14-50 Plug cable. Loosen the Strain Relief Fitting for the or 14-50 Plug and Remove the Plug. Remove the Strain Relief connector.
- Insert the wire end passing through the conduit and insert them into the input wiring hole.(Use Red wire for L1, Black wire for L2, Green wire for G). Attach the copper wire on the corresponding terminal block. Use the following wire and torque force when connecting to input terminal block.

CAUTION: To reduce the risk of fire, connect only to a circuit provided with the appropriate amperes minimum branch circuit overcurrent protection in accordance with the National Electrical Code, ANSI/NFPA 70, and the Canadian Electrical Code, Part I, C22.1.
- Once the input wiring and conduit are connected, reassemble the charging station. Reinstall the charging station font cover using the following torque force to secure the (4) Torx screws:

Charging Status Indicators and Buzzers
Table 7-1 Charging status indicators
Note:
In the instance the “Red Steady” or “Red Flashing” Fault light remains, it is recommended that you:
- Unplug the charging Connector from your EV
- Turn off the power to the Charging Station by switching the upstream circuit breaker to the “OFF” position
- With the circuit breaker in the “OFF” position, wait 1-2 minutes and then switch the upstream circuit breaker back to the “ON” position
- Confirm the Fault light is no longer present. If the Fault light remains, please contact United Chargers.
Operation
Connect and Charge
Insert the charging Connector into the EV and ensure the connector is fully seated/locked in place. Once complete, the charging session will begin.
Stop Charging
- Unplug the charging station by pressing the connector button and removing the Charger Connector from the EV (once the connector button is depressed, the charging session terminates immediately).
- Return the connector to the holster.
Self-Monitoring and Recovery (Auto Restart)
When a charging session is interrupted due to a temporary error condition, it will automatically restart charging when the cause of the temporary error condition returns to normal. The status indicator lights remain flashing RED until the error condition is resolved.
- Temporary error conditions include: Over Current, Under Voltage, Missing Diode, Ground Fault, and Over Temperature.
- For Over Current (OC) conditions: The charging session will be stopped while OC occurs. After recovery from OC for 30 seconds, the charging station will automatically restart charging for four times.
- When charging session stopped due to the Ground Fault (GFCI) trip, the charging station will try to restart after 15 minutes for 4 times. After 4 times, the charging station buzzer will stay on continuously, and status indicator will stay RED. The user should plug-out and plug-in the power cable of the charging station.
10. General Product Care and Use Information
The exterior of the charging station is designed to be waterproof and dust proof (NEMA 4 Outdoor Rated). However, periodic cleaning may be required, depending on local conditions. To ensure proper maintenance of the charging station, follow these guidelines:
- To avoid damaging the finish of the products, only use an automotive grade soft cleaning cloth with soap and water to remove accumulated dirt and dust. Do not use cleaning solvents to clean any of the product components.
- Despite the water resistance of the enclosure, submerging the unit in water is not recommended.
- Ensure the charging connector is put back in the holster after charging to avoid damage.
- Ensure the power cable is stored on the charging station after use to avoid damage.
- If the power cable or the charging connector is damaged, turn off the charging station supply circuit breaker, do not use the charging station, and Contact United Chargers Customer Support for replacement parts.
- When moving or lifting the unit, always grasp and carry by the charging station body. Never attempt to lift, move, or carry the unit by any of the electrical cables. Improper handling may cause damage to the unit.
Warranty
GRIZZL-E ™ Avalanche Edition EV Residential Charging Stations 3-Year or 5-Years Replacement Warranty.
Grizzl-E Avalanche Edition comes with the option of a 3-year or 5-year manufacturers warranty. This warranty is extended by United Chargers to original purchasers of GRIZZL-E ™ EV Charging Stations. United Chargers warrants that this product is free from defects in materials and free from defects in workmanship for the period specified in the warranty from the date of purchase. No agent, employee, or representative of United Chargers has any authority to affirm, represent or warrant anything concerning GRIZZL-E ™ EV Charging Stations, except for the affirmation and representation which is specifically included within this warranty. This warranty will not apply if the product has been misused, abused, or altered. Warranty for the cable does not include normal tear and wear. Plugs that have been exposed to snow or water for a prolonged period of time are not covered by this warranty. The warranty will apply only if the product is defective. United Chargers assumes no liability for any dismantling, removal, installation, re-installation, or labor costs or any consequential damages associated with this warranty. United Chargers is not responsible or liable for any costs associated with faulty installations. United Chargers shall make the final decision, in fairness to all concerned, as to the legitimacy of any such claim on this warranty. Upon discovery of any defective GRIZZL-E ™, please contact our Customer Service Department for further instructions as to how to repair or replace the defective unit or log into your account at www.grizzl-e.com and submit support ticket.
United Chargers Inc
90 Gough Road, Unit 2
Markham, Ontario L3R 5V5 Canada
Phone: +1-833-840-4970
E-mail: [email protected] Website: www.grizzl-e.com
The most up to date and valid information is available at the online version of brochure, located here:
https://grizzl-e.com/manuals/

Figure 3-1. Four screws to remove the Charging Station Cover.
WARNING: Do not touch live electrical parts. Disconnect the power supply to the charging station and verify no power is present before adjusting the DIP Switches. A non-conductive object MUST be used to adjust the DIP switch settings. Failure to do so may result in physical injury or damage to the power supply system and the charging station.


































