
QUALITY SPACE HEATERS
Installation Guide

Installation & Control Guide for Panel Convector Heaters
with Electronic Controls and Open Window Detection
| Models | ||
| PLE050RF PLE125RF | PLE075RF PLE150RF | PLE100RF PLE200RF |
All electrical appliances produced by the Company are guaranteed for one year against faulty materials or workmanship. This applies only if the appliance has been used for purposes in accordance with the instructions provided and has not been connected to an unsuitable electricity supply, or subject to misuse, neglect, damage, or modified or repaired by any person not authorized by us. This guarantee is offered to you as an extra benefit and does not affect your legal rights.
The correct electricity supply voltage is shown on the rating label attached to the appliance.
Reasonable care has been taken to ensure that this guide is accurate at the time of printing. In the interest of progress the Company reserve the right to vary specifications from ime to time without notice.
Overview
Please read this guide carefully and retain for future use and maintenance. This appliance has been designed and manufactured to the highest international standards, however, are must be taken for optimal results and safety. This appliance also meets the requirements of EU Directive 2004/106/EC for EMC and 2009/125/EC Directive.
Safety & Care
The appliance is not intended for use by persons (including children) with reduced physical, sensory or mental capabilities or lack of experience and knowledge unless they have been given supervision or instruction concerning the use of the appliance by a person responsible for their safety. Children should be supervised to ensure that they do not play with the appliance.
Warning
- Do NOT site the appliance in a corner.
- Do NOT handle the appliance with wet hands.
- Do NOT use the appliance in workshops or rooms where excessive dust is generated or present.
- Ensure that nothing is pushed into any aperture of this appliance.
- Do NOT touch outlet grille when the appliance is in use.
- Do NOT cover or restrict any aperture of the appliance when in use.
- Do NOT use the appliance if damaged.
- Do NOT leave the appliance unattended where young children are present.
- If used in a bathroom, the heater is to be installed so that the switches and other controls cannot be touched by a person in the bath or shower.
- Operating temperature range -10 to +40 ºC
- The heater MUST be fully secured in the vertical position before being switched on.
Thermally Operated Cut-Out
The appliance is fitted with a thermally operated cut-out (TOC). This is a safety device, which switches the heater off if, for any reason, the
appliance overheats. The TOC can only be re-set after the appliance has cooled down. In order to re-set the TOC, proceed as follows:
- Switch off the appliance and leave for approximately 10 minutes.
- Switch appliance back on and TOC will reset.
- Ensure that the appliance is functioning correctly. If the TOC control operates again, the appliance should be checked by a competent electrician. The heater carries a ‘Do Not over’ label to warn the user that if the appliance is covered, there is a risk of overheating.
Cleaning
Always disconnect the heater from the mains before cleaning. The heater should not require any maintenance, but it is strongly advised that it is kept clean. An occasional wipe-over with a soft cloth is all that should be necessary.
- Do NOT use metal or furniture polish on any part of the heater.
- Do NOT touch the heater with wet hands or in any way bring water into contact with it.
If the supply cord is damaged, it must be replaced by the manufacturer or its service agent or a similarly qualified person in order to avoid a hazard.
If Your Heater Does Not Work
- Check that power is available to the heater.
- Check that the thermal cut-out has not operated. Follow the reset instructions given under the section headed ‘Thermally Operated Cut-out’.
- Check that the fuse in the spur unit has not blown. This can be done by replacing the fuse with another suitable fuse. Should none of the above remedies work, then telephone the helpline number shown in these instructions (UK ONLY). Do not attempt to repair the heater.
Connection to the Main Supply
Electrical installation should be carried out by a competent installer, preferably registered with NICEIC (National Inspection Council for Electrical Installation Contracting) n accordance with the 17 edition of the IEE Wiring Regulations, (BS.7671), and any relevant Local Authority Bye-Laws. This heater is fitted with a 3-core mains supply cable nd must be permanently connected to the electricity supply via a double pole switch having a 3mm gap on each pole. There are no exceptions. A switched Fused Connection unit o BS.1363. Part 4 is a recommended mains supply connection accessory to ensure compliance with safety requirements applicable to the fixed-wiring installation.
Note: When witched on for the first time the appliance may emit a slight smell. This is purely the evaporation of a fluid used in the manufacturing process.
WARNING: This appliance must be earthed.
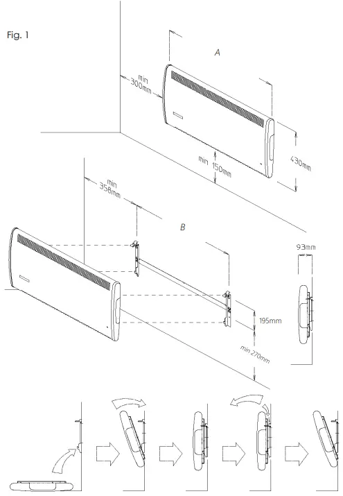
Installation
| MILLIMETRES | |||
| WATTS | A | B | |
| PLE050/SS | 500 | 442 | 303 |
| PLE075/SS | 750 | 442 | 303 |
| PLE100/SS | 1000 | 614 | 477 |
| PLE125/SS | 1250 | 720 | 582 |
| PLE150/SS | 1500 | 720 | 582 |
| PLE200/SS | 2000 | 852 | 713 |
Note: The heater MUST be fully secured in the vertical position before being switched on.
It must be ‘clicked’ into the locking tabs. See section 16 for more mounting information.
| SET TIME PRESS AND HOLD FOR 5 SECONDS | ![]() | SET PROGRAMME PRESS AND HOLD FOR 5 SECONDS |
| TEMPERATURE SET WHEN DISPLAY SHOWS ROOM TEMPERATURE, PRESS TO ADJUST | MODE SELECTION BOOST, MANUAL, SETBACK AND PROGRAM |
1. Basic Operation
Before you can use the PLE, it has to be activated by pressing any control button. The LCD backlight will turn on. To operate any control button, press within 2 seconds of activation.
2. Time and day setting
-Press and hold the TIME button for 5 seconds.
Minutes are flashing – use TEMP and MODE buttons to set minutes.
-Press TIME button
Hours are flashing – use TEMP and MODE buttons to set hours.
-Press TIME button
Day is flashing – use TEMP and MODE buttons to set Day. Once you are happy with the settings, press ‘Time’ to return to the main screen.
3. Selecting the operating mode
PLE has 4 operating modes:
BOOST, MANUAL, SET BACK, PROGRAM.
Each mode can be selected by pressing the MODE button to cycle through the options. The cycle sequence will always start with BOOST mode followed by MANUAL, SET BACK, and PROGRAM.
4. BOOST – 15 minutes
The boost feature increases the room temperature for 15 minutes.
1. Use TEMP and MODE to set the temperature. To amend the set temperature when in Boost mode, simply activate the display by pressing any button. Press TEMP, then use EMP and MODE to change the temperature. Once the temperature is set, you can leave the display to return to the main screen and the settings will be saved. After 15 minutes, the PLE will return to the previous operating mode.
5. MAN – Manual Mode
In manual mode, the heater maintains the set temperature.
1. Use TEMP and MODE to set the temperature.
To amend the set temperature when in Manual mode, simply activate the display by pressing any button. Press TEMP, then use TEMP and MODE to change the temperature. Once the temperature is set, leave the display to return to the main screen and the settings will be saved.
6. SETB – Setback Mode
Setback mode can be used for frost protection, situations where a minimum room temperature must be maintained, or to disable the heating completely.
To amend the set temperature when in Setback mode, simply activate the display by pressing any button. Press TEMP, then use TEMP and MODE to change the temperature. Once the temperature is set, leave the display to return to the main screen and the settings will be saved. When the room temperature drops below the set temperature the heating ill be active.
To disable heating lower the temperature to below 4ºc and the screen will show ‘- – -’ The heating is now disabled.
7. PROG – Automatic time mode
In this mode, the PLE will follow the week’s time/temperature program.
You can temporarily override the temperature in PROG mode by simply activating the display and using the TEMP and MODE buttons to set the new temperature. The new et temperature will be then maintained until the next program step.
8. Set 7-day programme
An example of one day programme on PLE 
Logic diagram for setting programme on PLE
The PLE has a 7-day timer with up to 6 programming steps available for each day. In the programming, you can set a start time and a temperature for each program.
Set programme inactive.
If you do not require the use of all 6 programs they can be set as inactive. When in programming mode select the program you want to make inactive and press the TIME button. If the program is inactive the display will show “- -:- -”. To activate the program again press the TIME button.
- Press and hold PROG for 5 seconds to enter the time setting.
- The day will be flashing.
- Use TEMP and MODE to navigate day, press PROG to select a day.
- PROG 1 will be flashing. Use TEMP and MODE to navigate the program, and use PROG to select the program.
- The minutes will be flashing.
- To set minutes, use TEMP and MODE to change minutes, press PROG to set the minutes.
- The hour will be flashing
- To set the hour, use TEMP and MODE to change the hour, and press PROG to set the hour.
- The temperature will be flashing.
- To set temperature, use TEMP and MODE to change temperature, press PROG to set temperature.
To add another program repeat steps 2-10.
Copy day function.
If you require the same set of programs throughout the week it is possible to copy all the programs from one day to another. To do this, when in programming mode ress and hold the TIME button and this will bring you to the copy day mode. To select which day you wish to copy press the PROG button and this will cycle through numbers -7 on the screen, this relates to which day you would like to copy. 1=MON, 2=TUE, 3=WED etc. To select which day you would like to copy the programs to, use the TEMP & MODE to navigate to the day. Once both are selected, press the time button to copy the day.
9. Advance mode
Press PROG from PROG mode to bring forward the next
program. To clear advance mode, press PROG.
10. Open Window Detection
Ensuring you don’t waste energy on heating the outside world, the heater is equipped with optional open/closed window detection. The heater recognizes sudden drops in temperature when a window or a door is opened and turns the heating off to save energy. When the window is closed, the heater will automatically detect a temperature rise, and switch itself back on. Once enabled in the setup menu, the open window detection is fully automatic and does not require any human intervention to be activated.
Setting-up Open Window Detection
The system has been factory set to the default time and temperature values. If necessary, all values can be adjusted. When the heating is on, the open window detection sensor will automatically switch the heater off when it detects a fall in temperature of 2°C in less than 10 minutes (this temperature can be changed in menu 7 and time in menu 6). If a temperature rise of 2°C in less than 30 seconds is detected, the heater will switch itself back on (this temperature can be changed in menu 9 and time in menu 8).
11. Heat symbol on the display
Every time there is a demand for heat, the display will show the heat icon.
– full heat output
12. Keys locking
Press and hold TIME and TEMP together for 5 seconds. The display will show
symbols. Repeat the step to unlock.
13. Setup menu
- Press and hold TEMP and MODE together for 5 seconds.
- The display will enter the setup menu.
- . Use TEMP and MODE to change a value.
- Use TIME to scroll between the settings. 01 – temperature calibration The temperature reading has been factory calibrated but if for any reason it needs adjusting (better accuracy required, to suit the different positions in the room, etc.), the reading can be recalibrated in 0.5 degrees steps. 02 – change between degrees Celsius or Fahrenheit 03 – set minimum temperature (3.5 deg = frost protection)
When this is set, the heater will operate in any mode should the room temperature fall below the set temperature.
04 – set maximum temperature
When this is set, the maximum temperature in any mode cannot exceed the limit.
05 – open window detection 0 = off, 1 = on
06 – 600 – open window detection time 600 seconds
07 – 2 – temperature drop of 2°C in the detection time
08 – 30 – closed window detection time of 30 seconds
09 – 2 – temperature rise of 2°C in the detection time
14. Connection to MRX1
This LST– RF range is compatible with the MRX multi-zone controller. To pair the LST-RF with the MRX1, set the MRX1 to
pairing mode (see section 10 of MRX User Instructions).
Pairing a RF Timer.
On the electronic RF timer, press and hold TIME and PROG for 10 seconds. The timer will show a unique code, the RF Icon will then flash to show the pairing signal is being ent. Once this has stopped you should see a new 4-digit code showing the pairing was successful. The MRX display shows CONNECTED. Tap BACK and the zone is now connected. To exit pairing mode on the timer press and hold the time button.
15. Optional PLK1 Locking Device
The PLK1 locking device can be used to mechanically lock the controls to prevent tampering with settings. As it is not supplied with the heater, kindly contact our Sales team if required.
– Locking tab
– Locking screw
16. Mounting
To wall mount, the wall bracket supplied must be used.
Please refer to illustrations in Fig.1.
Remove the wall bracket from the heater. Fix the wall bracket to the wall using the screw holes provided. Present heater to bracket. Locate heater onto bottom lugs via 2 sets of relevant slots in-ear panel. Hinge the heater upwards and locate the top tabs into the slots in the back of the heater and ‘click’ into position. The heater MUST not be powered until it is in this position.
To remove the heater from the wall first disconnect the power then press down on the two top tabs to release the heater. Hinge the heater forward on the bottom lugs. The eater can be now lifted off the bottom lugs to remove it from the wall. The heater must not be located immediately below a fixed socket outlet.
Declaration Of Conformity
In accordance with UK Government Guidance.
WE HEREBY CERTIFY THAT THE APPLIANCES DETAILED HEREON HAVE BEEN INSPECTED AND TESTED, AND CONFORM TO THE REQUIREMENTS OF THE FOLLOWING UK STATUTORY INSTRUMENTS WHERE APPLICABLE:
Electrical Equipment (Safety) Regulations 2016 SI. 2016 1101
Electromagnetic Compatibility Regulations 2016 SI. 2016 No. 1091
Radio Equipment Regulations 2017 SI. 2017 No. 1206
The Ecodesign for Energy Related Products and Energy Information (Amendment) (EU Exit)
Regulations 2019. SI. 2010 2617
The Restriction of Use of Certain Hazardous Substances. SI. 2012 No. 3032
The Waste Electrical and Electronic Equipment Regulations 2013. SI. 2013 No. 3113
Transposed standards used:
- BSEN55014 (2006)
- BSEN301 489.1 & .3
- BSEN300 220.1 & .2
- BSEN60 730.2.9
- BSEN 60335.1 (2012 )
- BS EN 60335.2.30 (2009)
PART NUMBER AND DESCRIPTION OF APPLIANCE: PLE050RF, PLE075RF, PLE100RF, PLE125RF, PLE150RF, and PLE200RF Panel heaters
NAME OF RESPONSIBLE PERSON:A C REYNOLDS
POSITION:QUALITY ENGINEERING
DATE:26/01/22
CONSORT EQUIPMENT PRODUCTS LTD.
THORNTON INDUSTRIAL ESTATE, MILFORD HAVEN, PEMBROKESHIRE, SA73 2RT. UK TEL: +44 1646 692172 FAX: +44 1646 695195. E-MAIL:
[email protected]
WWW.CONSORTEPL.COM




















