SEALEY PPF100S 100tonne Floor Type Premier Air Hydraulic Press




Thank you for purchasing a Sealey product. Manufactured to a high standard, this product will, if used according to these instructions, and properly maintained, give you years of trouble free performance.
| IMPORTANT: PLEASE READ THESE INSTRUCTIONS CAREFULLY. NOTE THE SAFE OPERATIONAL REQUIREMENTS, WARNINGS & CAUTIONS. USE THE PRODUCT CORRECTLY AND WITH CARE FOR THE PURPOSE FOR WHICH IT IS INTENDED. FAILURE TO DO SO MAY CAUSE DAMAGE AND/OR PERSONAL INJURY AND WILL INVALIDATE THE WARRANTY. KEEP THESE INSTRUCTIONS SAFE FOR FUTURE USE |
SAFETY
✔ Familiarise yourself with the applications, limitations and hazards of the press.
✔ Maintain the press in good condition (use an authorised service agent).
✔ Replace or repair damaged parts. Use recommended parts only. Unauthorised parts may be dangerous and will invalidate the warranty.
✔ Keep the press clean for best and safest performance.
✔ Locate the press in a suitable work area, on a surface that is stable, level, dry, not slippery, and capable of sustaining the load.
✔ Keep area clean and tidy and free from unrelated materials, and ensure there is adequate lighting.
‰ WARNING! Always wear approved eye or face protection when operating the press.
✔ Remove ill fitting clothing. Remove ties, watches, rings and other loose jewellery, and contain long hair.
✔ Keep hands and body clear of the work table when operating the press.
✔ Maintain correct balance and footing. DO NOT over reach. Ensure the floor is not slippery and wear non-slip shoes.
✔ Keep children and unauthorised persons away from the working area.
✘ DO NOT use the press for a task it is not designed to perform.
✘ DO NOT adjust or tamper with the safety valve, or make any modifications to the press.
✘ DO NOT exceed the rated capacity of the press. Avoid applying excessive force, use the pressure gauge to determine the applied load.
✘ DO NOT apply off-centre loads. Ensure that workpiece is centrally loaded and correctly secured before operating the press.
✘ DO NOT allow the workpiece or the arbor plates to fall from the press work bench.
✘ DO NOT get the press wet or use in damp or wet locations or areas where there is condensation.
✘ DO NOT operate the press when you are tired or under the influence of alcohol, drugs or intoxicating medication.
✘ DO NOT climb upon the press.
✘ DO NOT use if bent, broken, cracked, leaking or otherwise damaged, or if press has been subjected to a shock load.
✘ DO NOT operate the press if any parts are missing as this may cause failure and/or possible personal injury.
✘ DO NOT use the press to compress a spring or any other item that could disengage and cause a potential hazard.
✘ DO NOT stand directly in front of loaded press and never leave loaded press unattended.
✘ DO NOT allow untrained persons to operate the press.
▲ DANGER! This model is purpose designed to withstand greater loads than the hydraulic unit can develop. For safety reasons, always ensure the workpiece and press tools are secured on the table and will not flex or suddenly give way, causing danger to operator or the workpiece.
‰ WARNING! DO NOT use brake fluid, or any fluid other than a good quality jack oil, such as SEALEY HYDRAULIC JACK OIL, as this may cause serious damage to the press and will invalidate the warranty.
✔ When not in use, release pressure from the pump and clean the press. Stand or store the arbors in a safe, childproof location.
INTRODUCTION
Heavy-duty steel frame construction with integral air motor powering hydraulic pump unit. Adjustable work area with removable tray. Sliding hydraulic ram assembly giving 360mm of lateral travel for off-centre pressing applications. Frame head fitted with ram pressure gauge. Winch assisted press table adjustment. Storage for press pins included in frame (pins not included). Supplied with flat pressing plate/V-blocks. This item is heavy. Extra assistance must be provided at the delivery point to help its safe delivery
SPECIFICATION
Model No:………………………………………………………PPF100S
Capacity:……………………………………………………….. 100tonne
Lateral Ram Travel:……………………………………………. 360mm
Maximum Height – Ram to Table: …………………………. 885mm
Minimum Height – Ram to Table: ………………………….. 185mm
Overall Height: ………………………………………………… 1938mm
Ram Diameter:……………………………………………….. Ø179mm
Ram Stroke: ……………………………………………………… 300mm
Screw Extension: ……………………………………………………..n/a
Table Aperture:………………………………………………….. 324mm
Working Table Width: …………………………………………. 710mm
Working Table Depth:…………………………………………. 364mm
Total Ram Travel: ………………………………………………. 300mm
Type: ……………………………………………………………………Floor
CONTENTS

- Oil pump 1pc
- Oil cylinder assy. 1pc
- Frame assy. 1pc
- Foot base assy. 2pc
- Bed pin 2pc
- Work bench assy. 1pc
- V block 2pc
- Handle assy.1 1pc
- Oil pipe 1pc
- Winch handle 1pc
- Winch handle holder 1pc
- Foot pedal valve 1pc
- Circlip 4pc
- Parts tray 1pc
- Handle holder 15
- Handle assy.2 1pc
- Pump connecting rod 1pc
- Hex screw M10 4pc
- Hex screw M8 4pc
- Shoulder screw M6x30 2pc
- Shoulder screw M6x25 1pc
- Nut M10 4pc
- Bolt M8 4pc
- Nut M6 3pc
- Spring washer Ø10 4pc
- Spring washer Ø8 4pc
- Spring washer Ø6 3pc
ASSEMBLY
‰ WARNING! these presses are heavy, the use of a lifting appliance is recommended.
5.1. FIT FEET fig.1
5.1.1. Use parts 18, 22, 25 to fit
5.1.2. It is recommended that, for safest operation, the press is secured to the floor using the fixing holes in the feet.
5.2. FIT PUMP HANDLE fig.2
5.2.1. Fit 16 & 17 onto part 1.
5.2.2. NOTE: pull out transit pin a.
5.2.3. Press button on handle part 8 and part 16. After inserting make sure button pops up.


5.3. FIT WINCH HANDLE AND HANDLE HOLDER fig.3

5.3.1. Fit parts 11 & 15 as shown.
5.4. PIN SET SHELF ASSEMBLY fig.4

OPERATION
6.1. PREPARATION
6.1.1. Any person using, installing, repairing, maintaining, changing accessories on or working near this tool must read and understand these instructions. Retain for future consultation.
6.1.2. Connect air supply. Use clean, dry lubricated air supply. Pump working pressure is 0.9 – 1.2MPa. See fig.4A.
6.1.3. Ensure every part of the press is fixed and tightened correctly. Press should be placed on a firm, regular and horizontal surface.
6.1.4. Ensure work bench is at correct position and is locked by the pins and circlips.
6.1.5. Leave enough space around the press while it is being used so that it is always easily accessible.
6.1.6. V blocks must be used in pairs not singly.
6.1.7. Only one properly trained person is allowed to operate the press.
6.2. OPERATION
6.2.1. Close pressure relief valve. Pump the handle or use foot valve until saddle is close to the workpiece.
6.2.2. Align the workpiece and saddle so that the workpiece is properly centred. Activate the pump fig.5 to apply pressure to the workpiece.
6.2.3. When the work is finished, stop the pump and open the pressure relief valve to remove the workpiece.

6.3. FIT PIN SETS fig.6
6.3.1. Loosen grub screw to release saddle and fit press pin, tighten grub screw.
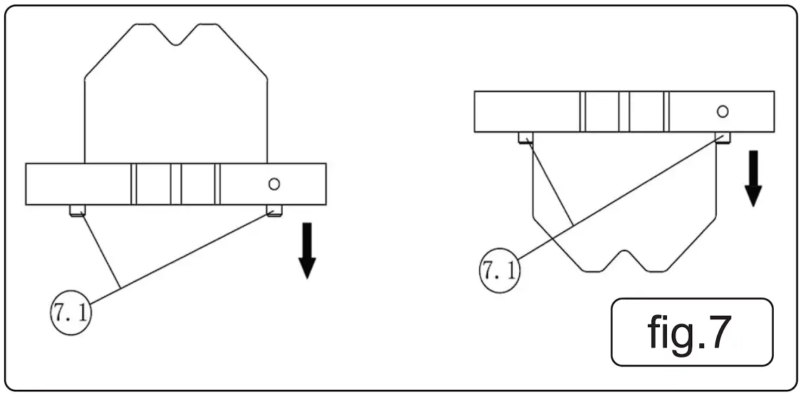
6.4. V BLOCKS fig.7
6.4.1. Always use V blocks in pairs with pins protruding downwards, part 7.1.

6.5. WORKING BENCH fig.8
MAINTENANCE
‰ WARNING! DO NOT use if damaged or deformed. If abnormal noise or vibration occurs stop using immediately inspect and refer to supplier for assistance.
It is recommended that inspection is performed by supplier’s authorised repairer.
7.1. Keep press clean and well lubricated to prevent foreign matter from entering the system. If the press has been exposed rain, snow, sand or grit it must be cleaned before use.
7.2. Store press with piston retracted in a well protected area where it will not be exposed to corrosive vapours, abrasive dust or any other harmful elements.
7.3. Use only genuine spare parts and or adaptors.
7.4. HYDRAULIC OIL
7.4.1. Press has been filled with enough hydraulic oil before leaving the factory. Hydraulic oil volume is 5.5L.
7.4.2. Refer to fig.9 for oil filling port

IMPORTANT! Owing to their size and weight, hydraulic products should ideally be repaired by local service agents. We have service/repair agents in most parts of the UK. Before returning your product please call our technical helpline on 01284 757505 for advice and trouble shooting guidance.
If the product is under guarantee please contact your Sealey stockist.
![]() | ENVIRONMENT PROTECTION Recycle unwanted materials instead of disposing of them as waste. All tools, accessories and packaging should be sorted, taken to a recycling centre and disposed of in a manner which is compatible with the environment. When the product becomes completely unserviceable and requires disposal, drain any fluids (if applicable) into approved containers and dispose of the product and fluids according to local regulations. |
| Note: It is our policy to continually improve products and as such we reserve the right to alter data, specifications and component parts without prior notice. Important: No Liability is accepted for incorrect use of this product. Warranty: Guarantee is 24 months from purchase date, proof of which is required for any claim. |
Sealey Group, Kempson Way, Suffolk Business Park, Bury St Edmunds, Suffolk. IP32 7AR
01284 757500
01284 703534
[email protected]
www.sealey.co.uk



















