SEALEY PPF301S 30 & 50tonne Floor Type Premier Air Hydraulic Press

IMPPORTANT:
PLEASE READ THESE INSTRUCTIONS CAREFULLY. NOTE THE SAFE OPERATIONAL REQUIREMENTS, WARNINGS & CAUTIONS. USE THHE PPROODUCT CORRECTLY AND WITH CARE FOR THE PURPOSE FOR WHICH IT IS INTENDED. FAILURE TO DO SO MAY CAUSE DAMAGE AND/OR PEERSSONNAL INJURY AND WILL INVALIDATE THE WARRANTY. KEEP THESE INSTRUCTIONS SAFE FOR FUTURE USE.
- Refer to instructions

- Wear a face shield

- Wear protective gloves

- Wear safety footwear

- Wear protective clothing

- Warning crushing of hands

- No reaching in

- Piston rod should face the workpiece

- Place V block correctly

SAFETY
- Familiarise yourself with the applications, limitations and hazards of the press.
- Maintain the press in good condition (use an authorised service agent).
- Replace or repair damaged parts.
- Use recommended parts only. Unauthorized parts may be dangerous and will invalidate the warranty.
- Keep the press clean for best and safest performance.
- Locate the press in a suitable work area, on a surface that is stable, level, dry, not slippery, and capable of sustaining the load.
- Keep area clean and tidy and free from unrelated materials, and ensure there is adequate lighting.
WARNING! Always wear approved eye or face protection when operating the press. - Remove ill fitting clothing. Remove ties, watches, rings and other loose jewellery, and contain long hair.
- Keep hands and body clear of the work table when operating the press.
- Maintain correct balance and footing. DO NOT over reach. Ensure the floor is not slippery and wear non-slip shoes.
- Keep children and unauthorized persons away from the working area.
- DO NOT use the press for a task it is not designed to perform.
DO NOT adjust or tamper with the safety valve, or make any modifications to the press. - DO NOT exceed the rated capacity of the press. Avoid applying excessive force, use the pressure gauge to determine the applied load.
- DO NOT apply off-center loads. Ensure that workpiece is centrally loaded and correctly secured before operating the press.
- DO NOT allow the workpiece or the V blocks plates to fall from the press work bench.
- DO NOT get the press wet or use in damp or wet locations or areas where there is condensation.
- DO NOT operate the press when you are tired or under the influence of alcohol, drugs or intoxicating medication.
- DO NOT climb upon the press.
- DO NOT use if bent, broken, cracked, leaking or otherwise damaged, or if press has been subjected to a shock load.
- DO NOT operate the press if any parts are missing as this may cause failure and/or possible personal injury.
- DO NOT use the press to compress a spring or any other item that could disengage and cause a potential hazard.
- DO NOT stand directly in front of loaded press and never leave loaded press unattended.
- DO NOT allow untrained persons to operate the press.
DANGER! This model is purpose designed to withstand greater loads than the hydraulic unit can develop. For safety reasons, always ensure the workpiece and press tools are secured on the table and will not flex or suddenly give way, causing danger to operator or the workpiece.
WARNING!
- DO NOT use brake fluid, or any fluid other than a good quality jack oil, such as SEALEY HYDRAULIC JACK OIL, as this may cause serious damage to the press and will invalidate the warranty.
- When not in use, release pressure from the pump and clean the press. Stand or store the V blocks in a safe, childproof location.
- The warnings, cautions and instructions in this manual cannot cover all possible conditions and situations that may occur. It must be understood by the operator that common sense and caution are factors which cannot be built into this product, but must be applied by the operator.
INTRODUCTION
Heavy-duty steel frame construction with integral air motor powering hydraulic pump unit. Screw adjustable ram and adjustable work area with removable tray. Sliding hydraulic ram assembly giving 280mm of lateral travel for off -centre pressing applications. Frame head fi tted with ram pressure gauge. Winch assisted press table adjustment. Storage for press pins included in frame. Supplied with press pins, fl at pressing plate/V-blocks.. 2 Year guarantee*. This item is heavy. Extra assistance must be provided at the delivery point to help its safe delivery.
SPECIFICATION
- Model: ………………………………………………………………………………PPF301S ……………………………………………………… PPF501S
- Air Consumption: ………………………………………………………………….. 4.5cfm …………………………………………………………..4.5cfm
- Bench or Floor Mounting: …………………………………………………………..Floor ……………………………………………………………. Floor
- Capacity: …………………………………………………………………………….30tonne ……………………………………………………….. 50tonne
- Gauge Included: …………………………………………………………………………Yes ……………………………………………………………… Yes
- Lateral Ram Travel: ……………………………………………………………….200mm ………………………………………………………… 280mm
- Maximum Height – Ram to Table: …………………………………………….875mm ………………………………………………………… 860mm
- Minimum Height – Ram to Table: ……………………………………………….25mm ………………………………………………………….. 80mm
- Overall Height: …………………………………………………………………… 1800mm ………………………………………………………..1900mm\
- Ram Diameter: ………………………………………………………………….. Ø102mm ……………………………………………………….Ø121mm
- Ram Stroke: …………………………………………………………………………145mm ………………………………………………………… 145mm
- Screw Extension: ……………………………………………………………………75mm ………………………………………………………….. 75mm
- Table Aperture: ……………………………………………………………………..168mm ………………………………………………………… 224mm
- Total Ram Travel: ………………………………………………………………….220mm ………………………………………………………… 220mm
- Type: ………………………………………………………………………………………Floor ……………………………………………………………. Floor
- Working Pressure:………………………………………………………… 130.5-174psi ………………………………………………….130.5-174psi
- Working Table Depth: …………………………………………………………….188mm ………………………………………………………… 248mm
- Working Table Width: …………………………………………………………….710mm ………………………………………………………… 930mm
ASSEMBLY
Unpack the product and check contents. Should there be any damaged or missing parts contact your supplier immediately.
DANGER! Take care to ensure safety when moving main frame from packing as the unit is very heavy. Use a suitable hoist or gantry.
Refer to attached parts list.
Seek assistance from another person on assembly of heavy parts.
Assemble press, if possible, in close proximity to where the press will be located.
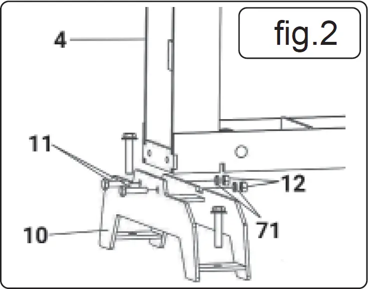
ATTACH SUPPORT FEET
- Attach load slings around the top cross member of the frame and using a suitable hoist or gantry, slowly, and in a controlled manner lift the frame up and out of the transportation crate, into an upright position.
WARNING! Take care when lifting the frame not to damage the pre-assembled ram assembly, pump assembly, bed frame assembly and winch assembly. - Keep the frame assembly in an upright position, held safely by the load slings.
DANGER! DO NOT allow the frame to fall over. - Select the support foot with the foot pump attached and locate to the lower right side of press base frame

- Locate inner vertical edge of support foot with cut-out in frame and secure with bolts , nuts and washers

- Repeat for left hand side support foot

- It is recommended that, for safest operation, that the press is secured to the floor using the fixing holes in the feet.
- Use concrete anchor bolts or lag bolts for wooden floors, (not included), to secure to the floor.
ATTACH PUMP HANDLE
- Pump assembly handle item numbers.

- Assemble part #56 with part #1 and secure with bolt #58 and nut #60.

- Assemble part #59 with part #56 and part #1 secure with bolt # 56 and nut #60.

- Assemble part #34 to part #59.

ATTACH PNEUMATIC PUMP HOSES
- Remove part transport plug from part #28.

- Install part #28 into connection on part #1.
- Install part #45 onto the back of the frame, as shown in enlarged view.
- Install air hoses #44 and #47 into connector #48, as shown in enlarged view.

AIR SUPPLY
- Connect a compressed air supply hose (fi g 9), minimum diameter 1/2”, to the 1/4” BSP inlet connector fitted at the rear of the press frame

- The recommended working air supply is a pressure is between 130.5-174psi.

OPERATION
REMOVE TRANSPORT PIN
WARNING! This pin MUST be removed prior to using the press.
OPERATION
- Ensure press is fully assembled and bolted to a firm, regular horizontal surface.
- Only to be used by fully trained operatives who have read and fully understood the whole of this manual.
- Ensure working table is at the correct height and locked into position with its pins.
- Leave enough space around the press whilst it is being used.
- V blocks, #19, must be used in pairs not singly.
- Close release valve, #36, by turning clockwise.
- Align the workpiece and the piston so that the workpiece is properly centred.
- Use either the handle or the air/hydraulic foot pump to lower the ram to the workpiece.
- When work is finished, stop pumping and open the release valve to raise the ram. Remove the workpiece.
- When the press is not in use, ensure that the ram is retracted fully to help avoid corrosion.
SADDLE AND PIN OPERATION


V BLOCKS


SLIDING RAM ADJUSTMENT


WORKING TABLE

MAINTENANCE
NOTE: Maintenance and repair must be carried out by qualified person. Contact your Sealey stockist for details.
- Check all fittings are tight before each use.
- Lubricate all moving parts at regular intervals.
- Always keep the press clean, dry, and protect from harsh conditions.
- Should you need to replace the oil ensure the piston is fully retracted. An excess of oil will render the press inoperative.
- Use only appropriate Sealey hydraulic jack oil. DO NOT use brake fluid. Contact your local Sealey stockist for details. Purge the system to remove any air.
- Check your model parts information for spares.
IMPORTANT: NO RESPONSIBILITY IS ACCEPTED FOR INCORRECT USE OF THE MACHINE.
Hydraulic products are only repaired by local service agents. We have service/repair agents in all parts of the UK.
DO NOT RETURN PRODUCT TO US. Please telephone us on 01284 757500 to obtain the address and phone number of your local agent.
If the product is under guarantee please contact your stockist.
De-commissioning Product
Should the product become completely unserviceable and require disposal, draw off the oil into an approved container and dispose of the product and the oil according to local regulations.
ENVIRONMENT PROTECTION
Recycle unwanted materials instead of disposing of them as waste. All tools, accessories and packaging should be sorted, taken to a recycling centre and disposed of in a manner which is compatible with the environment. When the product becomes completely unserviceable and requires disposal, drain any fluids (if applicable) into approved containers and dispose of the product and fluids according to local regulations.
Note: It is our policy to continually improve products and as such we reserve the right to alter data, specifications and component parts without prior notice.
Important: No Liability is accepted for incorrect use of this product.
Warranty: Guarantee is 24 months from purchase date, proof of which is required for any claim.
Sealey Group, Kimpson Way, Suffolk Business Park, Bury St Edmunds, Suffolk. IP32 7AR
01284 757500
01284 703534
[email protected]
www.sealey.co.uk





































