better bathrooms BaBe 10722 Tabor Waterfall Wall Mounted Basin Mono

Product Information
- Product Name: BaBe-10722
- Recommended Minimum Working Pressure: 0.5 bar
- Maximum Working Pressure: 3 bar
- Installation Compliance: The Water Supply (Water Fittings) Regulations and Byelaws in Scotland
- Cleaning Instructions: Use a clean damp cloth, no abrasive cleaning materials or cleaning agents can be used to maintain product finish.
Product Usage Instructions
- Before installation, ensure that your water pressure is suitable for this product. Check the recommended minimum working pressure of 0.5 bar and the maximum working pressure of 3 bar on our website.
- Ensure that all installation work is carried out to comply with The Water Supply (Water Fittings) Regulations and Byelaws in Scotland.
- To maintain the product finish, use a clean damp cloth for cleaning. Do not use abrasive cleaning materials or cleaning agents.
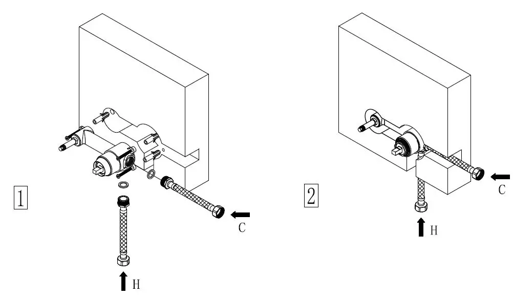
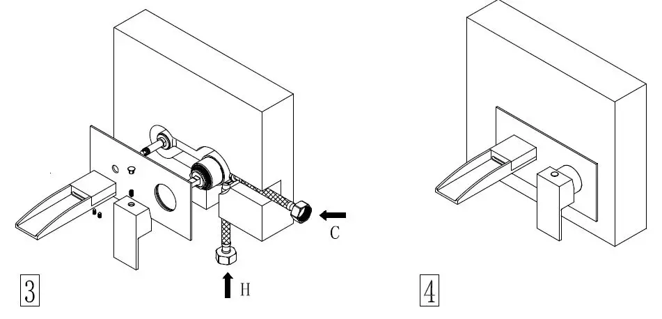
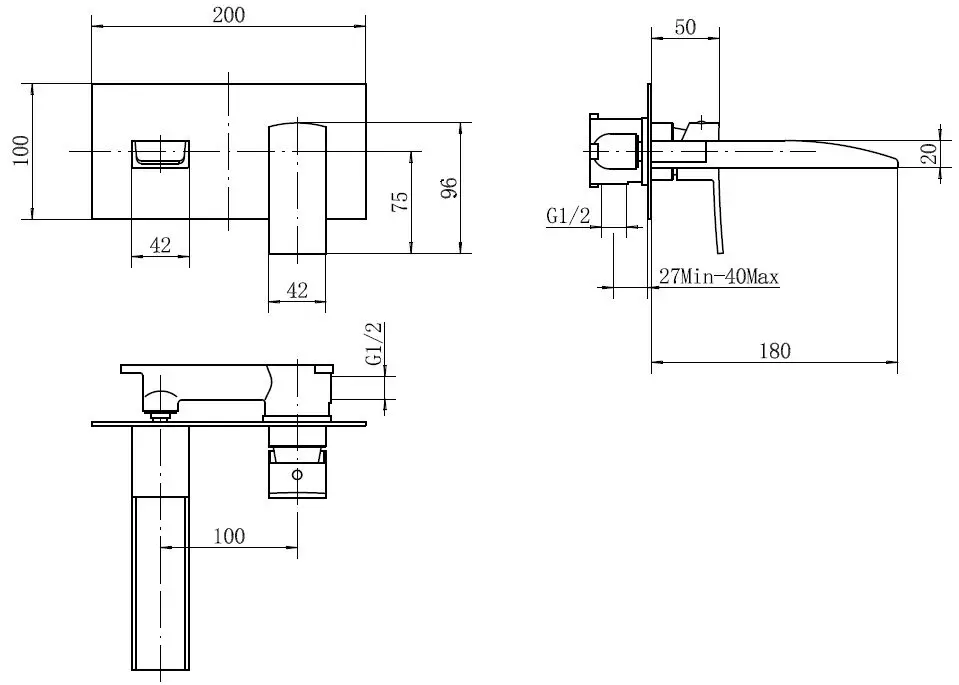
INSTALLATION


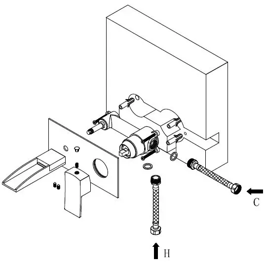
TECHNIQUE DRAWING

EXPLOSION DRAWING

Please check that your pressure is suitable for this product before installation, details can be found on our website, recommed
- minimum working pressure: 0.5 bar
- maximum working pressure: 3 bar
All installation work must be carried out to comply with The Water Supply (Water Fittings) Regulations and Byelaws in Scotland
Cleaning: To maintain the product finish, wipe using a clean damp cloth, no abrasive cleaning materials or cleaning agents can be used



















