Lenco KCR-11 Kitchen Radio With Light And Timer User Manual


CAUTION:
Usage of controls or adjustments or performance of procedures other than those specified herein may result in hazardous radiation exposure.
PRECAUTIONS BEFORE USE
KEEP THESE INSTRUCTIONS IN MIND:
- Do not cover or block any ventilation openings. When placing the device on a shelf, leave 5 cm (2”) free space around the whole device.
- Install in accordance with the supplied user manual.
- Keep the device away from heat sources such as radiators, heaters, stoves, candles and other heat-generating products or naked flame. The device can only be used in moderate climates. Extremely cold or warm environments should be avoided. Working temperature between 0° and 35°C.
- Avoid using the device near strong magnetic fields.
- Electrostatic discharge can disturb normal usage of this device. If so, simply reset and restart the device following the instruction manual. During file transmission, please handle with care and operate in a static-free environment.
- Warning! Never insert an object into the product through the vents or openings. High voltage flows through the product and inserting an object can cause electric shock and/or short circuit internal parts. For the same reason, do not spill water or liquid on the product.
- Do not use in wet or moist areas such as bathrooms, steamy kitchens or near swimming pools.
- The device shall not be exposed to dripping or splashing and make sure that no objects filled with liquids, such as vases, are placed on or near the apparatus.
- Do not use this device when condensation may occur. When the unit is used in a warm wet room with damp, water droplets or condensation may occur inside the unit and the unit may not function properly; let the unit stand in power OFF for 1 or 2 hours before turning on the power: the unit should be dry before getting any power.
- Although this device is manufactured with the utmost care and checked several times before leaving the factory, it is still possible that problems may occur, as with all electrical appliances. If you notice smoke, an excessive build-up of heat or any other unexpected phenomena, you should disconnect the plug from the main power socket immediately.
- This device must operate on a power source as specified on the specification label. If you are not sure of the type of power supply used in your home, consult your dealer or local power company.
- Keep away from animals. Some animals enjoy biting on power cords.
- To clean the device, use a soft dry cloth. Do not use solvents or petrol based fluids. To remove severe stains, you may use a damp cloth with dilute detergent.
- The supplier is not responsible for damage or lost data caused by malfunction, misuse, modification of the device or battery replacement.
- Do not interrupt the connection when the device is formatting or transferring files. Otherwise, data may be corrupted or lost.
- If the unit has USB playback function, the USB memory stick should be plugged into the unit directly. Don’t use an USB extension cable because it can cause interference resulting in failing of data.
- The rating label has been marked on the bottom or back panel of the device.
- This device is not intended for use by people (including children) with physical, sensory or mental disabilities, or a lack of experience and knowledge, unless they’re under supervision or have received instructions about the correct use of the device by the person who is responsible for their safety.
- This product is intended for non professional use only and not for commercial or industrial use.
- Make sure the unit is adjusted to a stable position. Damage caused by using this product in an unstable position vibrations or shocks or by failure to follow any other warning or precaution contained within this user manual will not be covered by warranty.
- Never remove the casing of this device.
- Never place this device on other electrical equipment.
- Do not allow children access to plastic bags.
- Only use attachments/accessories specified by the manufacturer.
- Refer all servicing to qualified service personnel. Servicing is required when the device has been damaged in any way, such as the power supply cord or the plug, when liquid has been spilled or objects have fallen into the device, when the device has been exposed to rain or moisture, does not operate normally, or has been dropped.
- Long exposure to loud sounds from personal music players may lead to temporary or permanent hearing loss.
- If the product is delivered with power cable or AC power adaptor:
- If any trouble occur, disconnect the AC power cord and refer servicing to qualified personnel.
- Don’t step on or pinch the power adaptor. Be very careful, particularly near the plugs and the cable’s exit point. Do not place heavy items on the power adaptor, which may damage it. Keep the entire device out of children’s reach! When playing with the power cable, they can seriously injure themselves.
- Unplug this device during lightning storms or when unused for a long period.
- The socket outlet must be installed near the equipment and must be easily accessible.
- Do not overload ac outlets or extension cords. Overloading can cause fire or electric shock.
- Devices with class 1 construction should be connected to a main socket outlet with a protective earthed connection.
- Devices with class 2 construction do not require a earthed connection.
- Always hold the plug when pulling it out of the main supply socket. Do not pull the power cord. This can cause a short circuit.
- Do not use a damaged power cord or plug or a loose outlet. Doing so may result in fire or electric shock.
- If the product contains or is delivered with a remote control containing coin/cell batteries:
Warning:- “Do not ingest battery, Chemical Burn Hazard” or equivalent working.
- [The remote control supplied with] This product contains a coin/button cell battery. If the battery is swallowed, it can cause severe internal burns in just 2 hours and can lead to death.
- Keep new and used batteries away from children.
- If the battery compartment does not close securely, stop using the product and keep it away from children.
- If you think batteries might have been swallowed or placed inside any part of the body, seek immediate medical attention.
- Caution about the use of Batteries:
- Danger of explosion if battery is incorrectly replaced. Replace only with the same or equivalent type.
- Battery cannot be subjected to high or low extreme temperatures, low air pressure at high altitude during use, storage or transportation.
- Replacement of a battery with an incorrect type that can result in an explosion or the leakage of flammable liquid or gas.
- Disposal of a battery into fire or a hot oven, or mechanically crushing or cutting of a battery, that can result in an explosion.
- Leaving a battery in an extremely high temperature surrounding environment that can result in an explosion or that leakage of flammable liquid or gas.
- A battery subjected to extremely low air pressure that may result in an explosion or the leakage of flammable liquid or gas.
- Attention should be drawn to the environmental aspects of battery disposal.
INSTALLATION
- Unpack all parts and remove protective material.
- Do not connect the unit to the mains before checking the mains voltage and before all other connections have been made.
ACCESSORIES
- Mounting kit (plastic plate + 2 sets of screws + 4 spacers + drill hole paper template)

- Instruction manual
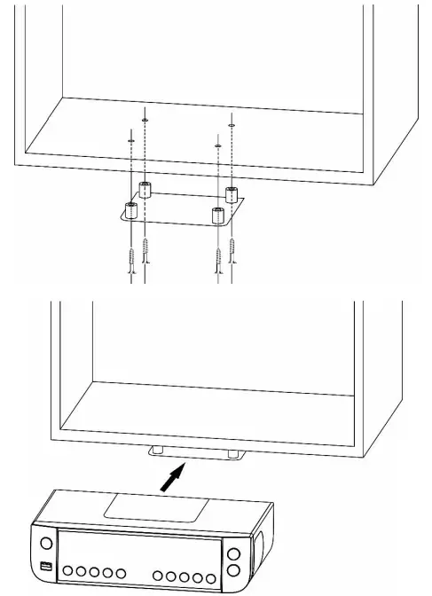
MOUNTING THE SET UNDER A CABINET
- Decide the location to install the unit in the cabinet/shelf. Since the unit’s speakers are located on the left edge side and right edge side respectively, it is recommended to reserve enough space to avoid blocking the sound.
- Once the location is decided, you can use the dill hole paper template (supplied) as a guide hole location to drill the holes.
- Install the plastic plate under the cabinet/shelf using the supplied spacers and screws, refer to the diagram below. Spacers are optional to install as your preference. 2 sets of screws are provided for your selection. The longer screw set is usually used when the spaces are used. Depends on the wooden board thickness, you may decide to use other suitable screw length by yourselves.
- After the plastic plate is installed, slide the unit into it until it locks securely.
- Due to its weight, the unit should be installed with great care. Make sure that the cabinet that is used is sturdy enough to support the weight of the unit.
Note:
- To reduce the risk of fire, do not place the radio on any heating area or without the spacing.
- You can slide out the unit from the plastic plate and to be used as a standing kitchen radio.

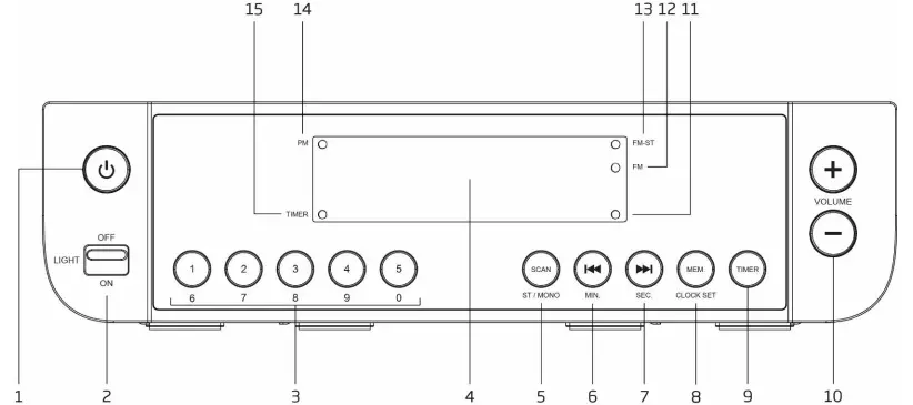
FRONT PANEL

- STANDBY

Press to turn on the unit. Press again to turn off and go to Standby mode - LIGHT ON/OFF
Slide to turn on or turn off the downward lighting - NUMERIC BUTTONS
Press to direct tune to the stored preset FM channel - DISPLAY
- SCAN/ST-MONO
Press to toggle between FM Stereo and Force Mono reception
Press and hold to start the full auto-scanning and store the available FM channel
/MIN.
FM: Press to tune to different frequency. Press and hold to auto-scan the next available channel
Timer Setup: Press to setup the minute setting
/SEC.
FM: Press to tune to different frequency. Press and hold to auto-scan the next available channel
Timer Setup: Press to setup the second setting- MEM./CLOCK SET
FM: Press to tune to different stored preset FM channel. Press and hold to store the preset FM channel as desired.
In Standby: Press and hold to enter the clock setup operation - TIMER
Press to enter the Timer Setup - – VOLUME +
Adjust the volume control - FM Frequency 0.05MHz LED
When the FM frequency of 0.05MHz is received, this LED will turn on. For example when 88.15MHz is received, the display will show “88.1” and this LED will turn on - FM LED
It is an indicator and turn on when it is in FM mode - FM-ST LED
It is an indicator and turn on when it is in FM Stereo mode - PM LED
It is an indicator and turn on when it is in 12 hours display format at afternoon time - TIMER LED
It is an indicator and turn on when the timer is set
INSTALLING THE BATTERIES FOR CLOCK/FM PRESET CHANNEL/TIMER BACKUP
The clock/FM preset channel/timer (if set) will be maintained during a power failure by installing 2 x AAA/LR03 batteries (not supplied). Once the power is restored, check the clock to make sure it is accurace and set it again if necessary.
INSTALLING THE BATTERIES
- Open the battery compartment at the bottom of the unit by pressing on the catch and removing the cover.
- Insert 2 x AAA/LR03 batteries (not supplied), preferably alkaline batteries, into the battery compartment following the polarity as shown on the diagram inside the compartment.
- Replace the battery compartment cover.
CONNECTING TO THE POWER SUPPLY
Plug the AC power cable into the AC wall socket.
BASIC OPERATION
Press the STANDBY
button to turn on the unit. To turn off, press the STANDBY
button again.
Volume Control
Press the VOLUME +/- buttons to change the volume.
Adjusting the Antenna
The antenna wire at the rear panel of the unit should be fully extended to ensure a good FM reception. Alter the antenna position for the best reception.
FM RADIO OPERATION
Auto Scan
- Turn on the unit in FM mode.
- Press and hold the SCAN button to start auto-scanning and saving the available channels (Max. 20 stations can be stored.)
Manual Scan
- Press the
or
button repeatedly to tune to a different frequency. - Press and hold the
or
button to automatically search to the next available channel.
Storing FM Presets
You can save up to 20 FM presets.
- Tune to the station you wish to store.
- Press and hold the MEM. button. Flashing preset channel number is displayed.
- Press the or button to a preset number that you want to store. Then press the MEM. button to save.
Recall Stored FM Presets
Press the MEM. button to tune to different preset channel.
To directly recall the preset channel by using the numeric buttons, press the numeric buttons [1], [2], …, [5].
For example when the button [3] is pressed, the display shows “P03” and wait for a while it will tune to the preset 3.
Or when press and hold the button [3/(8)] until the display shows “P08” and wait for a while, it will tune to the preset 8.
Or when press the button [1] and followed by pressing the button [2], the display will show “P12” and after a while it will tune to the preset 12.
Or when press the button [1] and followed by press and hold the button [3/(8)], the display will show “P18” and after a while it will tune to the preset 18.
Stereo/Force Mono Selection
When receiving a Stereo FM radio channel, press the ST/MONO button will switch between stereo audio and force mono audio.
When it is in FM Stereo, the FM-ST LED will be turned on.

Note:
- The wire antenna at the rear panel of the unit should be fully extended to ensure a good FM reception. Alter the antenna position for the best reception.
CLOCK SETUP
- Turn off the unit in Standby mode.
- Press and hold the CLOCK SET button to enter the Clock setup. “24H” or “12H” will be displayed.
- Press the
or
button to toggle between 24H (display 24 hours format) or 12H (display 12 hours format). Press the CLOCK SET button to confirm. - Press the
or
button to adjust the hour and minute respectively. Press the CLOCK SET button to finish the clock set.
TIMER SETUP
- Press the TIMER button to enter the Timer setup.
- Press the
or
button to adjust the minute and second respectively. Press the TIMER button. - Press the
or
button to enable (on) or disable (OFF) the timer seup. When it is set to on, press the TIMER button to finish the timer setup. It will start to count down. - During the timer count down, the TIMER LED indicator will keep flashing.
- During the timer count down, press the TIMER button will stop the count down. TIMER LED indicator is still turned on but without flashing. Further pressing the TIMER button will resume the count down. TIMER LED indicator will keep flashing.
- During the timer count down, press and hold the TIMER button will cancel the count down.
- When the timer count down is finished, the alarm buzzer will be turned on. Press TIMER button will stop the buzzer.

LIGHT ON/OFF
Slide to LIGHT ON/OFF switch on the front panel to turn on or turn off the downward lighting.
TROUBLE SHOOTING
No power
- Ensure that the mains cable is connected securely.
- Ensure that the unit is switched on.
The unit does not respond when pressing any buttons.
- In some situations the unit may freeze during use. To reset the unit, pull the plug from the mains socket, wait a few seconds and then plug it in again.
No sound output
- Make sure that the unit is not muted.
FM reception
- Ensure the antenna wire at the rear panel should be extended fully to improve the FM reception.
- Electrical interference in your home can cause poor reception. Move the unit away from them (especially those with motors and transformers).
Interferences in Speakers
- Check that you have not left a mobile phone near the unit.
TECHNICAL SPECIFICATIONS
FM radio frequency range: 87.5-108 MHz
AC power input: 230V~, 50Hz
Power consumption: 9W (Max)
Speaker output power: 2 x 1 W
Battery backup (not included): AAA/LR03 batteries x 2pcs
Unit dimension (L x D x H): 240 x 150 x 62 mm
Total weight: 0.8 kg
- The specification presents only as a reference. The value of weight and size are approximation.
- Our product is improved ceaselessly and the specification and function may be changed without prior notice.
Guarantee
Lenco offers service and warranty in accordance to European law, which means that in case of repairs (both during and after the warranty period) you should contact your local dealer.
Important note: It is not possible to send products that need repairs to Lenco directly.
Important note: If this unit is opened or accessed by a non-official service center in any way, the warranty expires.
This device is not suitable for professional use. In case of professional use, all warranty obligations of the manufacturer will be voided.
Disclaimer
Updates to Firmware and/or hardware components are made regularly. Therefore some of the instruction, specifications and pictures in this documentation may differ slightly from your particular situation. All items described in this guide for illustration purposes only and may not apply to particular situation. No legal right or entitlements may be obtained from the description made in this manual.
Disposal of the Old Device
This symbol indicates that the relevant electrical product or battery should not be disposed of as general household waste in Europe. To ensure the correct waste treatment of the product and battery, please dispose them in accordance to any applicable local laws of requirement for disposal of electrical equipment or batteries. In so doing, you will help to conserve natural resources and improve standards of environmental protection in treatment and disposal of electrical waste (Waste Electrical and Electronic Equipment Directive).
CE Marking
Hereby, Lenco Benelux B.V., Thermiekstraat 1a, 6361 HB Nuth, The Netherlands, declares that this product is in compliance with the essential EU directive requirements.
The declaration of conformity may be consulted via [email protected]

Service
For more information and helpdesk support, please visit www.lenco.com
Lenco Benelux BV, Thermiekstraat 1a, 6361 HB, The Netherlands.

















![Emerson Alarm Clock [cks1507 W/ Radio] User Manual Emerson Alarm Clock [cks1507 W/ Radio] User Manual](https://static-data1.manualsee.com/1/img/275/8730/2020/10/Emerson-Alarm-Clock-CKS1507.png)
