MARLEY EMJA019 Mini Portable Bluetooth Speaker

BOX CONTENT


BATTERY INDICATION


Get Together Duo / True Wireless Bluetooth® Speaker
COMPONENTS

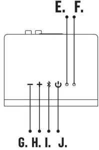
LEGEND

A. Mains Power Socket
B. AUX in
C. RCA Line in
D. USB-C charging port
E. Bluetooth LED
F. Power LED
G. Volume down / skip backward
H. Volume up / skip forward
I. Play/Pause/TWS Connect
J. Power / Mode select -BT / AUX IN / RCA line in
BLUETOOTH® 


RCA INPUT 

AUX INPUT 

CONTROLS

Full instruction and warranty details can be found at
https://www.thehouseofmarley.com/customer-support/instruction-books
COMPLIANCE INFO ✓
GET TOGETHER DUO
READ ALL INSTRUCTIONS BEFORE USE AND SAVE THESE INSTRUCTIONS FOR FUTURE REFERENCE.
This equipment has been tested and found to comply with the limits for a Class B digital device, pursuant to part 15 of the FCC Rules. These limits are designed to provide reasonable protection against harmful interference in a residential installation. This equipment generates, uses, and can radiate radio frequency energy and, if not installed and used in accordance with the instructions, may cause harmful interference to radio communications.
However, there is no guarantee that interference will not occur in a particular installation. If this equipment does cause harmful interference to radio or television reception, which can be determined by turning the equipment off and on, the user is encouraged to try to correct the interference by one or more of the following measures:
- Reorient or relocate the receiving antenna.
- Increase the separation between the equipment and receiver.
- Connect the equipment into an outlet on a circuit different from that to which the receiver is connected.
- Consult the dealer or an experienced radio/TV technician for help.
This device complies with FCC radiation exposure limits set forth for an uncontrolled environment. This device complies with Part 15 of the FCC Rules.
Operation is subject to the following two conditions: (1) this device may not cause harmful interference, and (2) this device must accept any interference received, including interference that may cause undesired operation.
FCC RF EXPOSURE STATEMENT:
This transmitter must not be co-located or operating in conjunction with any other antenna or transmitter. This device complies with FCC radiation exposure limits set forth for an uncontrolled environment.
CAUTION!
Any changes or modifications not expressly approved by the party responsible for compliance could void the user’s authority to operate the equipment.
ISEDC STATEMENT
This device complies with Innovation, Science, and Economic Development
Canada license-exempt RSS standard(s). Operation is subject to the following two conditions: (1) this device may not cause interference, and (2) this device must accept any interference, including interference that may cause undesired operation of the device.
This Class B digital apparatus complies with Canadian ICES-003.
ISEDC RF EXPOSURE STATEMENT:
The device is compliant with RF exposure guidelines, users can obtain Canadian information on RF exposure and compliance.
BATTERY REPLACEMENT STATEMENT IN EUROPE
Your Get Together Duo includes a rechargeable battery designed to last the lifetime of the product. In the unlikely event that you should require a replacement battery, please contact Consumer Relations who will supply details of the warranty and out-of-warranty replacement battery service.
BATTERY DIRECTIVE
This symbol indicates that batteries must not be disposed of in the domestic waste as they contain substances which can be damaging to the environment and health. Please dispose of batteries in designated collection points.
WEEE EXPLANATION
This marking indicates that this product should not be disposed with other household wastes throughout the EU. To prevent possible harm to the environment or human health from uncontrolled waste disposal, recycle it responsibly to promote the sustainable reuse of material resources.
Hereby, FKA Brands Ltd, declares that this radio equipment is in compliance with the essential requirements and other relevant provisions of Directive 2014/53/EU. A copy of the Declaration of Conformity can be obtained from www.thehouseofmarley.co.uk/declaration-of-conformity

To prevent possible hearing damage, do not listen at high volume levels for long periods. Full instruction and warranty details can be found at http://www.thehouseofmarley.com/instructionbooks.
Marley and the Marley logo are registered trademarks of Fifty-Six Hope Road Music Limited and the use of such marks by House of Marley is under license. The Bluetooth® word mark and logos are registered trademarks owned by Bluetooth® SIG, Inc. and any use of such marks by The House of Marley is under license.
Operating frequency bands: 2402 – 2480MHz
CE BT Max Power Transmitted Power:
LEFT: EM-JA019L = 2.98dBm
RIGHT: EM-JA019R = 4.18dBm
DISTRIBUTED BY:
House of Marley, LLC 3000 N Pontiac Trail
Commerce Township, MI 48390 USA
Distributed in Europe by FKA Brands Ltd., Somerhill Business Park, Five Oak Green Rd, Tonbridge, Kent TN11 0GP, UK
©Fifty-Six Hope Road Music Ltd., 2011-2020. Right of Publicity and Persona Rights. Fifty-Six Hope Road Music Ltd.
Marley, the Marley logo, Bob Marley and the Bob Marley logo are registered trademarks of Fifty-Six Hope Road Music Limited and any use of such marks by The House of Marley is under license. The Bluetooth® word mark and logos are registered trademarks owned by Bluetooth® SIG, Inc. and any use of such marks by The House of Marley is under license.

BOB MARLEY™
MARLEY™
BOBMARLEY.COM

References
Bob Marley
House of Marley | Bluetooth Speakers, Headphones & Earbuds inspired by Bob Marley
House of Marley Bluetooth Speakers, Headphones, Earbuds & Turntables Inspired by Bob Marley
Declaration of Conformity - The House of Marley UK
Instruction Books | House of Marley
House of Marley | Bluetooth Speakers, Headphones & Earbuds inspired by Bob Marley


















