MARLEY EM-JA021 Bluetooth Speaker

ATTENTION: PLEASE READ QUICK START GUIDE BEFORE USE

STATUS : LED INDICATION
- Pairing Mode : Blinking
- Paired : On
- AUX Mode : On
- Multi Pair Mode : On
- Full Power : Off
- Charging : On
- Low Power : Blinking
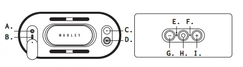
COMPONENTS

BLUETOOTH

CONTROLS

STEREO PAIR MODE

EQ MODE

MULTI PAIR MODE

Full instruction and warranty details can be found at https://www.thehouseofmarley.com/customer-support/instruction-books
COMPLIANCE INFO
GET TOGETHER 2 MINI
READ ALL INSTRUCTIONS BEFORE USE AND SAVE THESE INSTRUCTIONS FOR FUTURE REFERENCE.
This equipment has been tested and found to comply with the limits for a Class B digital device, pursuant to part 15 of the FCC Rules. These limits are designed to provide reasonable protection against harmful interference in a residential installation. This equipment generates, uses, and can radiate radio frequency energy and, if not installed and used in accordance with the instructions, may cause harmful interference to radio communications. However, there is no guarantee that interference will not occur in a particular installation. If this equipment does cause harmful interference to radio or television reception, which can be determined by turning the equipment off and on, the user is encouraged to try to correct the interference by one or more of the following measures:
- Reorient or relocate the receiving antenna.
- Increase the separation between the equipment and receiver.
- Connect the equipment into an outlet on a circuit different from that to which the receiver is connected.
- Consult the dealer or an experienced radio/TV technician for help.
This device complies with FCC radiation exposure limits set forth for an uncontrolled environment. This device complies with Part 15 of the FCC Rules. Operation is subject to the following two conditions:
- This device may not cause harmful interference, and
- This device must accept any interference received, including interference that may cause undesired operation.
WARNING: For Australia and New Zealand for charging this equipment, only use Australian approved detachable power supply unit with output ratings corresponding to the marking on the equipment.
FCC RF EXPOSURE STATEMENT:
This transmitter must not be co-located or operating in conjunction with any other antenna or transmitter. This device complies with FCC radiation exposure limits set forth for an uncontrolled environment.
CAUTION!
Any changes or modifications not expressly approved by the party responsible for compliance could void the user’s authority to operate the equipment.
ISEDC STATEMENT
This device complies with Innovation, Science, and Economic Development Canada license-exempt RSS standard(s). Operation is subject to the following two conditions:
- This device may not cause interference, and
- This device must accept any interference, including interference that may cause undesired operation of the device.
This Class B digital apparatus complies with Canadian ICES-003.
ISEDC RF EXPOSURE STATEMENT
The device is compliant with RF exposure guidelines, users can obtain Canadian information on RF exposure and compliance.
NRCAN STATEMENT
Replacement of a battery with an incorrect type that can defeat a safeguard (for example, in the case of some lithium battery types);
Disposal of a battery into fire or a hot oven, or mechanically crushing or cutting of a battery, that can result in an explosion;
Leaving a battery in an extremely high temperature surrounding environment that can result in an explosion or the leakage of flammable liquid or gas;
A battery subjected to extremely low air pressure that may result in an explosion or the leakage of flammable liquid or gas.
High or low extreme temperatures that a battery can be subjected to during use, storage or transportation; and low air pressure at high altitude.
BATTERY REPLACEMENT STATEMENT IN EUROPE
Your Get Together 2 Mini includes a rechargeable battery designed to last
the lifetime of the product. In the unlikely event that you should require a
replacement battery, please contact Consumer Relations who will supply details of the warranty and out-of-warranty replacement battery service.
BATTERY DIRECTIVE
This symbol indicates that batteries must not be disposed of in the domestic waste as they contain substances which can be damaging to the environment and health. Please dispose of batteries in designated collection points.
WEEE EXPLANATION
This marking indicates that this product should not be disposed with other household wastes throughout the EU. To prevent possible harm to the environment or human health from uncontrolled waste disposal, recycle it responsibly to promote the sustainable reuse of material resources.
Hereby, FKA Brands Ltd, declares that this radio equipment is in compliance with the essential requirements and other relevant provisions
of Directive 2014/53/EU. A copy of the Declaration of Conformity can be obtained from www.thehouseofmarley.co.uk/declaration-of-conformity.



















