MAGNAVOX 65MV379R Roku TV User Guide

What’s in the box

1 What you need (not included)
·
- Roku account (needed for the Smart TV content)
For additional support, please see online owner’s manual at www.MAGNAVOX.com/support
Key things to know: A paid subscription or other payments may be required for some streaming channel content. Channel availability is subject to change and varies by country.
2 Mount base onto TV
Refer to the Caution sheet for instructions on how to install the stand. If you plan to wall mount your TV, refer to “Wall mount bracket kit” in this Quick start guide for recommended wall mount bracket kit.
3 Connections and Control panel

Control panel located on the back of the TV.
- Press to turn the TV on/select connected device.
Press and hold to turn the TV off. - Press once for factory reset*
*Please be aware that all settings will be reset to its factory defaults.
- Remote control sensor

4 Connect to external devices

Caution
Disconnect the AC power cord before connecting devices.
5 Place batteries in remote
Power your TV remote by inserting the included batteries carefully matching (+) and (-) indicated inside the battery compartment. If your remote gets warm / hot during use, discontinue use and contact customer support immediately at www.MAGNAVOX.com/support
Tip
Always replace used batteries with two brand-new batteries from the same manufacturer. Never use damaged batteries.
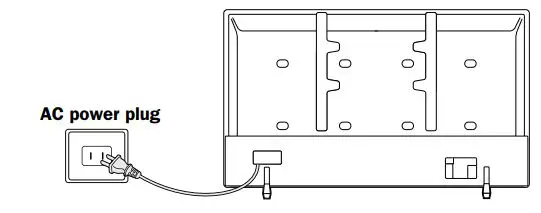
6 Plug in and turn on TV
Connect the AC power cord to the AC outlet. Press the power button on the TV’s remote control.
7 Follow the on-screen instructions

- Once your Roku TV powers on, follow the on-screen instructions. Your Roku TV will walk you through initial setup and help connect
to your preferred wireless network. - Your TV will automatically detect wireless networks in your area. Have your network name and password handy and follow the easy on-screen instructions. If you are not ready to connect your TV to a wireless network, you can still use it as a regular TV by selecting “Connect to the Internet later”.
- Once connected your TV will automatically update with the latest software. This can take a few minutes to update.
Your new MAGNAVOX Roku TV automatically receives regular software updates in the background when it’s connected to the Internet. This allows it to give you a better experience over time.
8 Activate your smart TV
You need a Roku account to activate your Roku TV and to access entertainment across thousands of streaming channels.
Your Roku account
Follow the on-screen instructions on your Roku TV. You will need to activate your Roku TV using your smartphone, tablet, or computer to link to a Roku account. See more information below.
- Roku accounts are free, and while a valid credit card number is not required to create your account, providing your credit card information makes renting and purchasing entertainment from the Roku Channel Store fast and convenient.
- If you choose to provide a payment method, you will be able to seamlessly rent content, download channels and subscribe to services without having to enter your credit card information each time.
- A unique PIN can be added to the account to prevent unauthorized purchases.
Tip
Roku does not charge for activation support — beware of scams.
9 Connect antenna or cable (optional)
With the tuner built-in you can connect your TV to antenna or cable (free cable only, does not work with cable TV using a set-top box) and enjoy over-the-air entertainment.

- When the setup wizard is complete, select the Antenna TV tile from the
home screen. - Follow the on-screen instructions.
- Whenever you want to watch local broadcast TV, select this tile.
Tip While in the antenna TV input, you can use your remote to access additional features.
- D-Pad left: Pressing this key brings up the smart guide, a list of antenna TV channels.
- Play/Pause: Pause live TV for up to 90 minutes when a 16 GB USB drive is connected.
- RWD scan and FWD scan: Allows you to fast forward and rewind while using the Live TV pause feature.
- D-Pad left and right: Allows you to scroll through the paused Live TV and select scenes.
- Live TV Pause can pause content received on the antenna TV input for up to 90 minutes and requires a 16GB or larger USB drive and a valid Roku account. All data on the USB drive will be deleted prior to use.
10 Download the Roku mobile app (optional)
The free Roku mobile app allows you to use your mobile device as a fully functioning remote control with voice search and keyboard.
- Download the Roku mobile app on your smartphone or tablet through Google Play or Apple App Store.
- Simply search for “Roku app” and choose the “Roku” app provided by Roku Inc.
- Follow the on-screen prompts and you are on your way.
Caution
Funai Corporation Inc. does not warrant access to the portal or to any of the services, content, software and advertising. Funai Corporation Inc. may, in its sole discretion, add or remove access to any specific services, content, software and advertising at any time. Although Funai Corporation Inc. will strive to provide a good selection of services, content or software,
Funai Corporation Inc. does not warrant continued access to any specific services, and content or software. Funai Corporation Inc. does not warrant Wireless Screen casting compatibility with all source devices such as smartphones, tablets, laptops, etc. due to large variability in hardware, firmware, drivers, software and implementation of wireless casting applications on these source devices. Although Funai Corporation Inc. will strive to enhance compatibility and performance across a range of source devices, Funai Corporation Inc. does not warrant compatibility with specific source devices.
11 Using the remote control
This remote control is designed to be incredibly intuitive for watching TV and navigating on-screen menus.

Here are some buttons you should know about.
- A Power: Turn TV on and off
- B Back: Return to previous screen
- C Home: Return to Roku Home screen
- D OK: Select an option from a menu
- E Up or Down: Move up or down; Left or Right: Move left or right
- F Instant replay: Replay the last few seconds of streaming video
- G Options: Access to picture settings, move streaming channel icons and more
- H RWD scan: Rewind streaming video, scroll left one page at a time
- I Play / Pause: Start or pause playback. This button is also used to pause live TV for up to 90 minutes when a 16GB USB drive is attached to the TV.
- J FWD scan: Fast forward streaming video, scroll right one page at a time
- K Sleep: Set the sleep timer
- L Featured channel shortcut: Let you directly access featured channels
- M Volume / Mute: Increase / Decrease volume and mutes the TV sound
*The * gives you easy access to picture settings, display options and more. Try it on every screen.
Safety instructions
Register online at www.magnavox.com/support/ today to get the most benefits from your purchase.
Registering your model with MAGNAVOX makes you eligible for all of the valuable benefits such as software upgrades and important product notifications.
Register online at www.magnavox.com/support/
*Product safety notification
By registering your product, you’ll receive notification – directly from the manufacturer – in the rare case of a product recall or safety defect.
*Additional benefits
Registering your product guarantees that you’ll receive all of the privileges to which you’re entitled, including special money-saving offers.
Know these safety symbols
CAUTION
RISK OF ELECTRIC SHOCK DO NOT OPEN![]()
CAUTION: TO REDUCE THE RISK OF ELECTRIC SHOCK, DO NOT REMOVE COVER (OR BACK). NO USER-SERVICEABLE PARTS ARE INSIDE. REFER SERVICING TO QUALIFIED SERVICE PERSONNEL
The caution marking is located on the rear or bottom of the cabinet.
The lightning flash with arrowhead symbol, within an equilateral triangle, is intended to alert the user to the presence of uninsulated “dangerous voltage” within the apparatus’s enclosure that may be of sufficient magnitude to constitute a risk of electric shock to persons.
The exclamation point within an equilateral triangle is intended to alert the user to the presence of important operating and maintenance (servicing) instructions in the literature accompanying the apparatus.
WARNING: To reduce the risk of fire or electric shock, do not expose this apparatus to rain or moisture. Apparatus shall not be exposed to dripping or splashing and no objects filled with liquids, such as vases, shall be placed on the apparatus.
CAUTION: To prevent electric shock, match wide blade of plug to wide slot, fully insert.
MAGNAVOX Visit our World Wide Web site at www.magnavox.com
CHILD SAFETY: PROPER TELEVISION PLACEMENT MATTERS
THE CONSUMER ELECTRONICS INDUSTRY CARES
- Manufacturers, retailers and the rest of the consumer electronics industry are committed to making home entertainment safe and enjoyable.
- As you enjoy your television, please note that all televisions new and old- must be supported on proper stands or installed according to the manufacturer’s recommendations. Televisions that are inappropriately situated on dressers, bookcases, shelves, desks, speakers, chests, carts, etc., may fall over, resulting in injury.
TUNE IN TO SAFETY
- ALWAYS follow the manufacturer’s recommendations for the safe installation of your television.
- ALWAYS read and follow all instructions for proper use of your television.
- NEVER allow children to climb on or play on the television or the furniture on which the television is placed.
- NEVER place the television on furniture that can easily be used as steps, such as a chest of drawers.
- ALWAYS install the television where it cannot be pushed, pulled over or knocked down.
- ALWAYS route cords and cables connected to the television so that they cannot be tripped over, pulled or grabbed.
WALL OR CEILING MOUNT YOUR TELEVISION
- ALWAYS contact your retailer about professional installation if you have any doubts about your ability to safely mount your television.
- ALWAYS use a mount that has been recommended by the television manufacturer and has a safety certification by an independent laboratory (such as UL, CSA, ETL).
- ALWAYS follow all instructions supplied by the television and mount manufacturers.
- ALWAYS make sure that the wall or ceiling where you are mounting the television is appropriate. Some mounts are not designed to be mounted to walls and ceilings with steel studs or cinder block construction. If you are unsure, contact a professional installer.
- Televisions can be heavy. A minimum of two people is required for a wall or ceiling mount installation.
MOVING AN OLDER TELEVISION TO A NEW PLACE IN YOUR HOME
- Many new television buyers move their older CRT televisions into a secondary room after the purchase of a flat-panel television. Special care should be made in the placement of older CRT televisions.
- ALWAYS place your older CRT television on furniture that is sturdy and appropriate for its size and weight.
- NEVER place your older CRT television on a dresser where children may be tempted to use the drawers to climb.
- ALWAYS make sure your older CRT television does not hang over the edge of your furniture.
Important safety instructions
- Read these instructions.
- Keep these instructions.
- Heed all warnings.
- Follow all instructions.
- Do not use this apparatus near water.
- Clean only with dry cloth.
- Do not block any ventilation openings. Install in accordance with the manufacturer’s instructions.
- Do not install near any heat sources such as radiators, heat registers,
stoves, or other apparatus (including amplifiers) that produce heat. - Do not defeat the safety purpose of the polarized or grounding-type plug.
A polarized plug has two blades with one wider than the other. A grounding type plug has two blades and a third grounding prong. The wide blade or the third prong are provided for your safety. If the provided plug does not fit into your outlet, consult an electrician for replacement of the obsolete outlet. - Protect the power cord from being walked on or pinched particularly at plugs, convenience receptacles, and the point where they exit from the apparatus.
- Only use attachments / accessories specified by the manufacturer.
- Use only with the cart, stand, tripod, bracket, or table specified by the manufacturer, or sold with the apparatus. When a cart is used, use caution when moving the cart / apparatus combination to avoid injury from tip-over.

- Unplug this apparatus during lightning storms or when unused for long periods of time.
- Refer all servicing to qualified service personnel. Servicing is required when the apparatus has been damaged in any way, such as power-supply cord or plug is damaged, liquid has been spilled or objects have fallen into the apparatus, the apparatus has been exposed to rain or moisture, does not operate normally, or has been dropped.
Note to the CATV system installer:
This reminder is provided to call the CATV system installer’s attention to Article 820-40 of the NEC that provides guidelines for proper grounding and, in particular, specifies that the cable ground shall be connected to the grounding system of the building, as close to the point of cable entry as practical.
Example of antenna grounding as per NEC – National Electric Code

Wall mount bracket kit
65MV379R/F7 A
Brand
SANUS
Model
# F80b
Screw dimension
M6 x 1.378″ (35mm)
- Your TV meets the VESA standard for wall mounting. Consult with your local dealer for a wall mount bracket which is compatible with your TV model.
- The recommended wall mount bracket kit (sold separately) allows the mounting of the TV on the wall.
- For detailed information on installing the wall mount, refer to the wall mount instruction book.
- Funai Corporation is not responsible for any damage to the product or injury to yourself or others if you elect to install the TV wall mount bracket or mount the TV onto the bracket on your own.
- The wall mount bracket must be installed by experts.
Funai Corporation is not liable for any accidents or injuries incurred while installing this product, including but not limited to those noted below:
- Install the wall mount bracket on a sturdy vertical wall.
- If installed onto a ceiling or slanted wall, the TV and wall mount bracket may fall which could result in a severe injury.
- Do not use screws that are longer or shorter than their specified length. If screws too long are used this may cause mechanical or electrical damage inside the TV set. If screws too short are used this may cause the TV set to fall.
- Do not fasten the screws by excessive force. This may damage the product or cause the product to fall, leading to an injury.
- For safety reasons use 2 people to mount the TV onto a wall mounting bracket.
- Do not mount the TV onto the wall mounting bracket while your TV is plugged in or turned on. It may result in an electrical shock injury.
When installing the unit on the wall, allow this much space.
Top : 11.8 ” (30cm)
Left and right side : 5.9 ” (15cm)
Bottom : 3.9 ” (10cm)
Notice
MAGNAVOX and SMART. VERY SMART. are registered trademarks of Koninklijke Philips N.V. and are used under license from Koninklijke Philips N.V. Funai Corporation reserves the right to change products at any time without being obliged to adjust earlier supplies accordingly. The material in document is believed adequate for the intended use of the system. If the product or its individual modules or procedures are used for purposes other than those specified herein, confirmation of their validity and suitability must be obtained. Funai Corporation warrants that the material itself does not infringe any United States patents. No further warranty is expressed or implied. Funai Corporation cannot be held responsible neither for any errors in the content of this document nor for any problems as a result of the content in this document. Errors reported to Funai Corporation will be adapted and published on the Funai Corporation support website as soon as possible.
Pixel characteristics
This LCD product has a high number of color pixels. Although it has effective pixels of 99.999% or more, black dots or bright points of light (red, green or blue) may appear constantly on the screen. This is a structural property of the display (within common industry standards) and is not a malfunction.
Warranty
No components are user serviceable. Do not open or remove covers to the inside of the product. Repairs may only be done by service centers and official repair shops. Failure to do so shall void any warranty, stated or implied. Any operation expressly prohibited in document, any adjustments or assembly procedures not recommended or authorized in document shall void the warranty.
Federal communications commission notice
This equipment has been tested and found to comply with the limits for a Class B digital device, pursuant to part 15 of the FCC Rules. These limits are designed to provide reasonable protection against harmful interference in a residential installation. This equipment generates, uses and can radiate radio frequency energy and, if not installed and used in accordance with the instructions, may cause harmful interference to radio communications. However, there is no guarantee that interference will not occur in a particular installation. If this equipment does cause harmful interference to radio or television reception, which can be determined by turning the equipment off and on, the user is encouraged to try to correct the interference by one or more of the following measures:
- Reorient or relocate the receiving antenna.
- Increase the separation between the equipment and the receiver.
- Connect the equipment into an outlet on a circuit different from that to which the receiver is connected.
- Consult the dealer or an experienced radio or television technician for help.
This device complies with part 15 of the FCC rules. Operation is subject to the following two conditions: (1)This device may not cause harmful interference, and (2)This device must accept interference received, including interference that may cause undesired operation.
Declaration of conformity
Trade name: MAGNAVOX
Responsible party: Funai Corporation, Inc.
Model: 65MV379R/F7 A
Address: 12489 Lakeland Road, Santa Fe Springs, CA 90670, USA
Telephone number : 1 866 341 3738
Modifications
This apparatus may generate or use radio frequency energy. Changes or modifications to this apparatus may cause harmful interference. Any modifications to the apparatus must be approved by Funai Corporation. The user could lose the authority to operate this apparatus if an unauthorized change or modification is made.
Cables
Connections to this device must be made with shielded cables with metallic RFI / EMI connector hoods to maintain compliance with FCC rules and regulations.
FCC statutory notice for wireless LAN adapter.
FCC caution: Any changes or modifications not expressly approved by the party responsible for compliance could void the user’s authority to operate this equipment.
This transmitter must not be co-located or operated in conjunction with any other antenna or transmitter.
FCC RF Exposure Compliance
This equipment complies with FCC radiation exposure limits set forth for an uncontrolled environment and meets the FCC radio frequency (RF) Exposure Guidelines. This equipment should be installed and operated keeping the radiator at least 20cm or more away from your body.
Positioning the TV
- Large screen TVs are heavy. 2 people are required to carry and handle a large screen TV.
- Make sure to hold the upper and bottom frames of the unit firmly as illustrated.
- Install the unit in a horizontal and stable position.
- Do not install the unit in direct sunlight or in a place subject to dust or strong vibration.
- Depending on the environment, the temperature of this unit may increase slightly. This is not a malfunction.
- When installing this unit in a temperate environment, avoid a place with rapid temperature changes.
- This unit should not be used in a tropical environment as it has not been evaluated under such conditions.
- No objects should be placed directly on or under this unit, especially lighted candles or other flaming objects.
- Depending on your external devices, noise or disturbance of the picture and / or sound may be generated if the unit is placed too close to them. In this case, please ensure enough space between the external devices and the unit.
- Do not insert the AC power cord into the power socket outlet before all the connections are made.
- Ensure that you always have easy access to the AC power cord and outlet to disconnect the TV from the AC outlet.
- Before you move the TV, disconnect attached cables to prevent damage to connectors, especially the TV tuner.
- Be sure to unplug the AC power plug from the AC outlet before moving or carrying the unit.
- When moving the TV and then setting it down, please be careful not to pinch the AC power cord under the unit.
Regulatory notices
WARNING: To prevent injury, this apparatus must be securely attached to the
furniture / wall in accordance with the instructions. Tipping, shaking or rocking the unit may cause injury / death.
WARNING: Never place a TV in an unstable location. A TV may fall, causing serious personal injury or death. Many injuries, particularly to children, can be avoided by taking simple precautions such as:
– Using cabinets or stands recommended by the manufacturer of the TV.
– Only using furniture that can safely support the TV.
– Ensuring the TV is not overhanging the edge of the supporting furniture.
– Not placing the TV on tall furniture (for example, cupboards or bookcases) without anchoring both the furniture and the TV to a suitable support.
– Not placing the TV on cloth or other materials that may be located between the TV and supporting furniture.
– Educating the children about the dangers of climbing on furniture to reach the TV or its controls.
If your existing TV is being retained and relocated, the same considerations as above should be applied.
Do not place the unit on the furniture that is capable of being tilted by a child and an adult leaning, pulling, standing or climbing on it. A falling unit can cause serious injury or even death. In order to avoid interruption of ventilation, this unit should not be placed in built-in equipment such as a book cabinet, rack, etc., and the vents of this unit should not be covered with anything such as a tablecloth, curtain, newspaper, etc. Make sure that there is enough ventilation space (4 ” / 10 cm or more) around this unit. Press B to turn the unit on and go into standby mode. To completely turn off the unit, you must unplug the AC power plug from the AC power outlet. Disconnect the AC power plug to shut the unit off when trouble is found or not in use. The AC plug shall remain readily available.

Never use a gas duster on this TV. The gas trapped inside of this unit may cause ignition and explosion.
Environmental care![]()
The packaging of this product is intended to be recycled. Contact your local authorities for information about how to recycle the packaging. For product recycling information, please visit – www.magnavox.com
End of life directives
MAGNAVOX pays a lot of attention to produce environmental-friendly products in green focal areas. Your new TV contains materials which can be recycled and reused. At the end of its life, specialized companies can dismantle the discarded TV to concentrate the reusable materials and to minimize the amount of materials to be disposed of. Please ensure you dispose of your old TV according to local regulations.
Batteries usage
CAUTION: Danger of explosion if battery is incorrectly replaced. Replace only
with the same or equivalent type.
WARNING: Batteries (battery pack or battery installed) should not be exposed
to excessive heat such as sunshine, fire or the like.
- Do not mix old and new batteries.
- Do not mix alkaline, standard (carbon-zinc) or rechargeable (ni-cad, ni-MH, Li-ion, etc.) batteries.
Disposal of used batteries
The batteries supplied do not contain the heavy metals mercury and cadmium, however in certain localities, disposing batteries with household waste is not permitted. Please ensure you dispose of batteries according to local regulations.
Downloading an owner’s manual
To obtain a more detailed owner’s manual of document:
- Point your browser to : www.magnavox.com/support/download
- Enter the product name or number in the search field.
- Click the desired manual to be downloaded.
Preparing to move / ship the unit Please pack the unit properly by following the diagram on the carton (as noted below).
- To avoid damage to the screen, do not pack the stand on the same side as the TV screen, refer to the illustration.

Copyright
All other registered and unregistered trademarks are the property of their respective owners.
The terms HDMI and HDMI High-Definition Multimedia Interface, and the HDMI Logo are trademarks or registered trademarks of HDMI Licensing Administrator, Inc. in the United States and other countries.
Manufactured under license from Dolby Laboratories. Dolby, Dolby Audio, and the double-D symbol are trademarks of Dolby Laboratories Licensing Corporation.
Portions of this software are copyright © The Free Type Project (www.freetype.org). The American Academy of Pediatrics discourages television viewing for children younger than two years of age.
© 2020 Funai Electric Co., Ltd. All rights reserved. No part of this owner’s manual may be reproduced, transmitted, disseminated or transcribed, in any form or for any purpose without the express prior written consent of Funai Corporation. Furthermore, any unauthorized commercial distribution of this owner’s manual or any revision hereto is strictly prohibited.
Limited warranty
LIMITED WARRANTY ONE (1) YEAR PARTS AND LABOR
WARRANTY COVERAGE:
This warranty obligation is limited to the terms as set forth below.
WHO IS COVERED:
This product warranty is issued to the original purchaser or the person receiving the product as a gift against defects in materials and workmanship as based on the date of original purchase (“Warranty Period”) from an Authorized Dealer. The original sales receipt showing the product name and the purchase date from an authorized retailer is considered such proof.
WHAT IS COVERED:
This warranty covers new products if a defect in material or workmanship occurs and a valid claim is received within the Warranty Period. At its option, the company will either (1) repair the product at no charge, using new or refurbished replacement parts, or (2) exchange the product with a new or refurbished product at company’s option.
Replacement products or parts provided under this warranty are covered against defects in materials and workmanship from the date of the replacement or repair for ninety (90) days or for the remaining portion of the original product’s warranty, whichever provides longer coverage for you. When a product or part is exchanged, any replacement item becomes your property and the replaced item becomes company property. When a refund is given, your product becomes company property.
Note: Any product sold and identified as refurbished or renewed carries a ninety (90) day limited warranty.
Replacement product can only be sent if all warranty requirements are met. Failure to follow all requirements can result in delay.
WHAT IS NOT COVERED – EXCLUSIONS AND LIMITATIONS:
This Limited Warranty applies only to new company manufactured products that can be identified by the trademark, trade name, or logo affixed to it. This Limited Warranty does not apply to any hardware product or any software, even if packaged or sold with the product, as manufacturers, suppliers, or publishers may provide a separate warranty for their own products packaged with the bundled product.
The company is not liable for any damage to or loss of any programs, data, or other information stored on any media contained within the product, or other additional product or part not covered by this warranty. Recovery or reinstallation of programs, data or other information is not covered under this Limited Warranty.
This warranty does not apply (a) to damage caused by accident, abuse, misuse, neglect, misapplication, or non-supplied product, (b) to damage caused by service performed by anyone other than company approved Authorized Service Location, (c) to a product or a part that has been modified without written company permission, or (d) if any serial number has been removed or defaced, or (e) product, accessories or consumables sold “AS IS” without warranty of any kind by including refurbished product sold “AS IS” by some retailers.
This Limited Warranty does not cover:
- Shipping costs for returning defective product.
- Labor charges for installation or setup of the product, adjustment of customer controls on the product, and installation or repair of antenna/signal source systems outside of the product.
- Product repair and/or part replacement because of improper installation or maintenance, connections to improper voltage supply, power line surge, lightning damage, retained images or screen markings resulting from viewing fixed stationary content for extended periods, product cosmetic appearance items due to normal wear and tear, unauthorized repair or other cause not within the control of the company.
- Damage or claims for products not being available for use, or for lost data or lost software.
- Damage from mishandled shipments or transit accidents when returning product.
- A product that requires modification or adaptation to enable it to operate in any country other than the country for which it was designed, manufactured, approved and/or authorized, or repair of products damaged by these modifications.
- A product used for commercial or institutional purposes (including but not limited to rental purposes).
- Product lost in shipment and no signature verification receipt can be provided.
- Failure to operate per document.
TO OBTAIN ASSISTANCE… Contact the Customer Care Center at:
1 866 341 3738
REPAIR OR REPLACEMENT AS PROVIDED UNDER THIS WARRANTY IS THE EXCLUSIVE REMEDY FOR THE CONSUMER, WITH THE ISSUING COMPANY NOT LIABLE FOR ANY INCIDENTAL OR CONSEQUENTIAL DAMAGES FOR BREACH OF ANY EXPRESS OR IMPLIED WARRANTY ON THIS PRODUCT. EXCEPT TO THE EXTENT PROHIBITED BY APPLICABLE LAW, ANY IMPLIED WARRANTY OF MERCHANTABILITY OR FITNESS FOR A PARTICULAR PURPOSE ON THIS PRODUCT IS LIMITED IN DURATION TO THE DURATION OF THIS WARRANTY.
Some states do not allow the exclusions or limitation of incidental or consequential damages, or allow limitations on how long an implied warranty lasts, so the above limitations or exclusions may not apply to you.
This warranty gives you specific legal rights. You may have other rights which vary from state/province to state/province.
Funai Service Corporation 2425 Spiegel Drive, Groveport, OH 43125, USA
Need help connecting this LED TV? Call Us at 1-866-341-3738
Model :__________________________
Serial :____________________________________
For complete instructions, please visit www.magnavox.com to download the full version of the Owner’s manual. MAGNAVOX and SMART. VERY SMART. are registered trademarks of Koninklijke Philips N.V. and are used under license from Koninklijke Philips N.V.
ROKU, ROKU TV and the ROKU logo are the trademarks or registered trademarks of Roku, Inc. All other trademarks and logos herein are the property of their respective owners.
![]()























