

Owner’s Manual & Installation Instructions
GTW680
GTW685
233D2523P003
Write the model and serial numbers here:
Model # _____________
Serial # ______________
You can find them under the lid of the washer. 
Printed in Mexico 29-6396 02-21
IMPORTANT SAFETY INFORMATION.
READ ALL INSTRUCTIONS BEFORE USING.
IMPORTANT SAFETY INSTRUCTIONS
To reduce the risk of death, fire, explosion, electric shock, or injury to persons when using your appliance, follow basic precautions, including the following:
- Read all instructions before using the appliance.
- DO NOT wash or dry articles that have been previously cleaned in, washed in, soaked in or spotted with gasoline, dry-cleaning solvents, or other flammable or explosive substances, as they give off vapors that could ignite or explode.
- DO NOT add gasoline, dry-cleaning solvents, or other flammable or explosive substances to the wash water. These substances give off vapors that could ignite or explode.
- Under certain conditions, hydrogen gas may be produced in a hot-water system that has not been used for 2 weeks or more. HYDROGEN GAS IS EXPLOSIVE. If the hot water system has not been used for such a period, before using a washing machine, turn on all hot-water faucets and let the water flow from each for several minutes. This will release any accumulated hydrogen gas. As the gas is flammable, DO NOT smoke or use an open flame during this time.
- DO NOT allow children to play on or in this appliance. Close supervision of children is necessary when this appliance is used near children. Before the washer is removed from service or discarded, remove the door or lid. Failure to follow these instructions may result in death or injury to persons.
- DO NOT reach into the appliance if the tub or agitator is moving to prevent accidental entanglement.
- DO NOT install or store this appliance where it will be exposed to the weather.
- DO NOT tamper with controls, repair or replace any part of this appliance or attempt any servicing unless specifically recommended in the user maintenance instructions or in published user repair instructions that you understand and have the skills to carry out.
- DO NOT operate this appliance if it is damaged, malfunctioning, partially disassembled, or has missing or broken parts including a damaged cord or plug.
- Unplug the appliance or turn off the circuit breaker before servicing. Pressing the Power button DOES NOT disconnect power.
- See “Electrical Requirements” located in the Installation Instructions for grounding instructions.
SAVE THESE INSTRUCTIONS
PROPER INSTALLATION
This washer must be properly installed and located in accordance with the Installation Instructions before it is used.
- Ensure that the hot water hose is connected to the “H” valve and the cold water hose is connected to the “C” valve.
- Install or store where it will not be exposed to temperatures below freezing or exposed to the weather, which could cause permanent damage and invalidate the warranty.
- Properly ground washer to conform with all governing codes and ordinances. Follow details in Installation Instructions.
Plug into a grounded 3 prong outlet. DO NOT remove ground prong. DO NOT use an adapter. DO NOT use an extension cord. Failure to follow these instructions can result in death or electrical shock. |
- Ensure washer is properly leveled and washer legs are adjusted such that unit is stable.
- Optional drain hose extension recommended for discharging heights from 60″ – 96″.
- This washer does not include water supply hoses.
GE strongly recommends the use of factory specified parts. A list of factory hoses available for purchase are listed. These hoses are manufactured and tested to meet GE specifications.
GE strongly recommends the use of new water supply hoses. Hoses degrade over time and need to be replaced every 5 years to reduce the risk of hose failures and water damage.
Parts and Accessories
Order on-line at www.geappliances.ca today, 24 hours a day or by phone at 1.800.661.1616 during normal business hours.
Part Number Accessory
WW01F01987 (2) Water supply hoses
START-UP SEQUENCE
- Any time the washer is being started or restarts after the washer lid has been opened and closed, the washer will turn on the cold water valve for two short periods followed by a 10 second pause before continuing.
- If the lid is opened during this period, the washer will pause. You will have to push the Start button again to restart the cycle.
WHEN NOT IN USE
- Turn off water faucets to minimize leakage if a break or rupture should occur. Check the condition of the fill hoses; GE recommends changing the hoses every 5 years.
SAVE THESE INSTRUCTIONS
Operating instructions.
Throughout this manual, features and appearance may vary from your model.
Step 1

- Add fabric softener to the fabric softener dispenser; see page 10.
- Add the manufacturer’s recommended amount of detergent. GE recommends the use of High Efficiency detergents such as he in your energy efficient washer. Place detergent pods in the bottom of the wash basket before adding clothes.
Step 2

- Loosely add items around Infusor. Overloading may negatively impact wash performance. See page 9 for suggested loading examples.
- Close lid.
NOTE: Washer will not start with lid open.
Step 3

- Select wash cycle.
- Select wash options, including Deep Rinse option when using fabric softener.
- Select options.
Step 4

- Press Start.

GTW680 / GTW685
A Power
Press to “wake up” the display. If the display is active, press to put the washer into idle mode.
NOTE: Pressing Power does not disconnect the appliance from the power supply.
B Start/Pause
Press Start to begin the cycle. NOTE: The lid must be closed for the washer to start the cycle. If the lid is open, “Lid” will scroll across the display. If the lid is closed, the lid will lock, the Lid Lock light will illuminate, and “SEnSing” will scroll across the display.
Pressing Pause will unlock the lid (if locked at that time), pause the cycle and the Start indicator light will blink.
To continue the cycle, press Start again. If machine is paused more than 24 hours, the cycle will be cancelled. If water remains in the machine, select the Drain & Spin cycle to drain basket and spin water out of the washer basket.
C Display and Status Lights
Display: The display shows the approximate time remaining until the end of the cycle. NOTE: The cycle time is affected by how long it takes the washer to fill. This depends on the water pressure in your home. The size of the load being washed also significantly impacts cycle time, with larger loads taking longer.
In addition, this display will, “scroll” the washer status:
- bALAnCINg Start of rebalancing cycle to redistribute clothes. Stops after rebalancing is complete.
- dELAY When Delay Wash is initiated. Replaced with estimated time when cycle starts.
- End End of current cycle.
- FILL For the first 45 seconds of a fill, the estimated end of cycle time is displayed. For the rest of the fill time, “FILL” is scrolled until the fill completes.
- H2O SUPPLY Can not sense water level (valves possibly turned off).
- LId Cycle stopped because lid is open. Close the lid.
- SEnSIng Sensing load size and type before and during fill (normal).
- PAUSE Cycle paused because the Start/Pause button was pressed and the washer was set to Pause. Press Start button again to restart the cycle.
Cycle status lights: Shows whether the washer is in the Delay, Fill, Soak, Wash, Rinse or Spin portion of the cycle.
If an out-of-balance condition is detected by the washer, the Spin light will blink during the remaining portion of the cycle and will stay illuminated for a short time after cycle completion. When this occurs, the washer is taking actions to correct the out-of-balance condition and complete the cycle normally. In some cases, the washer may not be able to balance the load and spin up to full speed. If you notice the load is more wet than normal at the end of the cycle, redistribute the load evenly in the wash basket and run a Drain & Spin cycle.
Feature status lights indicate (see sections F and G for more details):
Pause – Will display when washer is paused between cycles.
Controls – The washer is locked – will blink once if you press any button or turn the cycle knob.
Lid Lock – The lid is locked. See the Control Lock description.
Spin Stop – Indicates wash basket is coasting to a stop following spin. Lid will not unlock until basket has fully come to a stop.
D Wash Cycles-Cycle Selector Knob
The wash cycle controls the type of washing process. The cycle selector knob can be turned in either direction. Turning the knob after starting a cycle will stop the washer and change the cycle/options to the new selection. Press Start to begin the new cycle selection.
The chart below will help you match the items to be washed with the best wash cycle settings. For optimal performance, select the cycle that most closely matches the items being washed.
Selections and options shown in bold are the recommended settings for that cycle.
Some cycles and options may not be available on some models.
Items to Wash | Cycle | Wash Temp | Soil Level | Spin Selection | Options Available | Cycle Details |
| Cycle for normal, regular, or typical use for washing up to a full load of normally soiled cotton clothing. | Colors | Hot Warm Colors Cool Cold Tap Cold | Ex. Heavy Heavy Normal Light | Max More Normal No Spin | Stain Removal Guide Warm Rinse Auto Soak Deep Rinse Delay Wash Extra Rinse | Cycle for normal, regular, or typical use for washing up to a full load of normally soiled cotton clothing. Choose the Heavy or Extra Heavy soil level selection and Warm or Hot water temperature selection as appropriate for your clothes load for a higher degree of cleaning. Incorporates multi-stage fills and wash periods to provide optimal fabric care. |
| Casual clothes, lightly soiled office wear. | Casuals | Hot Warm Colors Cool Cold Tap Cold | Ex. Heavy Heavy Normal Light | Max More Normal No Spin | Stain Removal Guide Deep Fill Warm Rinse Auto Soak Deep Rinse Delay Wash Extra Rinse | Wash cycle tailored to care for casual clothes and office wear items. |
| Lingerie and special care fabrics with light soil. | Delicates | Hot Warm Colors Cool Cold Tap Cold | Ex. Heavy Heavy Normal Light | Max More Normal No Spin | Stain Removal Guide | Utilizes a unique “tri-pulse” extra gentle agitate profile to provide special care to delicate fabrics. It is recommended to place small or ultra delicate items in mesh bags before washing. |
| Medium to lightly soiled athletic wear items of technical or synthetic fabrics. | Active Wear | Hot Warm Colors Cool Cold Tap Cold | Ex. Heavy Heavy Normal Light | Max More Normal No Spin | Stain Removal Guide | Cycle designed for care of medium to lightly soiled active wear, athletic wear, and technical fabrics. Incorporates a dual stage wash period with soak to effectively treat body soils and odors. Use the Heavy Duty cycle for heavily soiled sports clothing constructed of sturdy fabric. |
| Dark colored fabrics and mixed loads. | Cold Wash | Hot Warm Colors Cool Cold Tap Cold | Ex. Heavy Heavy Normal Light | Max More Normal No Spin | Stain Removal Guide | Cycle combines multiple wash agitation periods with soak periods to provide enhanced cleaning performance and energy efficiency with colder water temperatures. |
| Small loads of lightly soiled items that are needed in a hurry. Examples include one casual wear outfit or 3 soccer uniforms. | Speed Wash | Hot Warm Colors Cool Cold Tap Cold | Ex. Heavy Heavy Normal Light | Max More Normal No Spin | Stain Removal Guide | Utilizes more intense agitation profile, expedited wash period, and time saving continuous spray rinse to clean small lightly soiled loads in the fastest time possible. |
| Wet load of items. For items that need only to be rinsed, use this cycle with Deep Rinse option. | Drain & Spin | Max More Normal No Spin | Deep Rinse | Utilizes a high speed spin to extract water from wet items. For items that need to be rinsed, select the Deep Rinse option when using this cycle. | ||
| Cleaning the basket of residue and odor. No clothes to be washed using this cycle. | Basket Clean | Hot | Ex. Heavy | Normal | Deep Fill | Recommended use of at least once per month. Never load laundry when using this cycle; laundry may become damaged or contaminated. Cycle incorporates a hot deep wash, intense agitation action, a dispenser purge (Not all features are on all models), and a deep rinse. |
| Garments with a high cotton content and / or heat resistant; for example, towels, denim, sheets, robes, etc. | SaniFresh with Oxi* | Hot | Ex. Heavy | Max More | Warm Rinse | The SaniFresh cycle is designed to eliminate common bacteria, viruses and germs on household linen. This cycle is only effective if the hot water connection is at a minimum temperature of 119.84°F (48.8 ° C). |
| Jeans with medium to light soil. For heavily soiled work jeans, use the Heavy Duty Cycle. | Jeans | Hot Warm Colors Cool Cold Tap Cold | Ex. Heavy Heavy Normal Light | Max More Normal No Spin | Stain Removal Guide | Combines higher water levels, a specially designed agitation profile, and multi-step wash and soak periods to care for jeans with medium to light soil. Use the Heavy Duty cycle for heavily soiled work jeans. |
| Sturdy fabrics with heavy to medium soil. | Heavy Duty | Hot Warm Colors Cool Cold Tap Cold | Ex. Heavy Heavy Normal Light | Max More Normal No Spin | Stain Removal Guide | Incorporates multi-step wash and soak periods combined with extended wash periods to effectively clean heavily to medium soiled sturdy fabrics. |
| Non-waterproof large coats, bead spreads, matters covers, and similar large bulky items | Bulky Items | Hot Warm Colors Cool Cold Tap Cold | Ex. Heavy Heavy Normal Light | Max More Normal No Spin | Stain Removal Guide | Provides a Deep Fill/max fill wash water level with a specially designed agitation profile to wash bulky items. Also incorporates a Deep Fill rinse to effectively rinse bulky items. |
| Towels Sheets | Towels / Sheets | Hot Warm Colors Cool Cold Tap Cold | Ex. Heavy Heavy Normal Light | Max More Normal No Spin | Stain Removal Guide | Cycle designed washing towels or sheets, using a higher water level and a soak period to effectively clean these items. It is recommended that towels and sheets be washed separately for best care and washing performance. |
| Whites and household linens | Whites | Hot Warm Colors Cool Cold Tap Cold | Ex. Heavy Heavy Normal Light | Max More Normal No Spin | Stain Removal Guide | Cycle tailored to clean and brighten your whites. |
SaniFresh with Oxi
The SaniFresh with Oxi cycle, when using an Oxi additive along with your detergent, is designed to remove 99.9% of bacteria found in home laundry. Measure the detergent and the Oxi products carefully. Using the amounts appropriate for a large heavily soiled load, follow the detergent and the Oxi product label instructions. The detergent should be added using the dispenser instructions as shown on page 9 of this guide. Place the Oxi product directly in the bottom of the wash basket, before adding the clothes. The washer hot water supply connection must provide a minimum of 120°F to ensure the effectiveness of this cycle.
Stain Removal Guide
The Stain Removal Guide feature allows you to indicate what stains are on the garments in your load. This feature incorporates a patent pending treatment method. An initial water fill is performed at a temperature tailored to the stain type selected and to an amount which enables a concentrated cleaning step. A stain scrubbing period, followed by an active soak, is conducted to effectively treat the stain. Then additional water is added to the selected temperature and the wash phase is conducted for the cycle selected.
This feature can be applied to most wash cycles as described in the cycle guide.
To use Stain Removal Guide:

- Select the desired wash cycle.
- Press the Stain Removal Guide button.
Continue to press to select Tomato stain, Wine stain, Blood stain, Grass stain or Dirt stain. The indicator light will show the selected stain. To select a different stain, press the Stain Removal Guide button until desired stain to be removed is lit.
To turn off Stain Removal Guide, press until no indicator lights are illuminated.
NOTE: The Soil and Temperature levels will be changed to match the recommended default setting for each stain type. Turning off Stain Removal Guide will return the settings to default.
Stain Removal Guide
Category | Recommended Temperatures Treatment/Wash | Stain | For best results, before placing in washer: |
Blood | Cold/Cool | Blood | Rinse in cold water; pretreat stain with liquid detergent or stain remover product. |
Grass | Cold/Cool | Grass | Pretreat with liquid detergent or stain remover product. Brush lightly; rinse with cold water. |
Dirt | Cold/Cool | Dirt | Allow dirt to dry; remove loose dirt using a brush. Rinse with cool water. |
Tomato | Cold/Cool | Sauce | Pretreat with liquid detergent or stain remover product; rinse with cool water. |
Wine | Cold/Cool | Wine | Pretreat with mixture of Oxi product and cool water. Add Oxi product along with detergent in the washer. |
- Recommended temperatures are optimal for stain removal performance; adjust temperature selection to suit load being washed.
- Ensure stain is completely removed after wash cycle and before placing in dryer; very tough stains may require a second treatment.
For waterproof, water-resistant items only use the Delicates cycle. DO NOT use other cycles for these items, for example: ski clothing, diaper covers, bulky waterproof bed covers, umbrella covers, vehicle covers, sleeping bags, waterproof coats, etc).
In other cycles different to the one recommended, when the basket turns, it is possible that water gets trapped in waterproof items and clothing, which can cause abnormal vibration. Besides, the clothing moves upwards and may be expelled, this may result in injury or damage to the washer, walls, floor, or clothing.
DO NOT mix waterproof and non-waterproof items.
E Settings
Individual settings for agitation (Soil), water temperature (Temp), and spin (Spin) can be set from the minimum (lowest in column) to maximum (highest in column). In general, the higher up the column, the more washer energy will be used.
NOTE: Longer Spin times typically reduce dryer time/energy usage (i.e. reduces total energy when using both a washer and a dryer).
F Cycle Options
Deep Fill
Select the Deep Fill feature for loads where extra water is needed.
Press the Deep Fill button once before starting the cycle to add an incremental amount of water to the wash load. Holding the Deep Fill button for 3 seconds will provide the deepest fill level possible; this will increase cycle time due to the additional time it takes to fill the washer.
To cancel the option if desired, press the Deep Fill button again.
NOTE: The Deep Fill button can also be pressed after the washer has completed filling and is in the wash phase if additional water is desired. To stop the extra fill, press the Deep Fill button again and the water will stop.
Warm Rinse
Provides a warm rinse to your wash load. Note that rinsing operations may be different with this operation selected in order to effectively apply the warm rinse water to your load.
Auto Soak
This option begins with a brief agitation, soaks for a specified period of time, then moves through the rest of the cycle automatically. Repeated pressing of the Soak button will scroll through 15 minute, 30 minute, 1 hour, 2 hour selections and then return back to 0 soak minutes.
Deep Rinse
Set this option to provide a deep rinse or when using fabric softener. It may change other settings (e.g. Spin may go to a higher setting) to maximize performance.
Delay Wash
When the Delay Wash button is repeatedly pressed, the delay time is set from 1 (01H) to 9 (09H) hours and back to clear (00H) hours. If you press and hold the Delay Wash button for 3 seconds, it will immediately reset.
Extra Rinse
When you use extra detergent or bleach to clean heavily soiled clothes, use the Extra Rinse option to better remove additional residues.
NOTE: This option is not allowed for some cycles.
G Additional Options
My Cycle Settings
As the cycle selector knob is turned, the Temp, Soil and Spin settings change to automatic pre-set default settings for each cycle. If you desire different default settings, select the desired options or changes to the cycle settings, then press and hold the My Cycle button for 3 seconds to store them. The My Cycle button will light when active. In the future, when you turn the selector knob to that cycle, your settings will be automatically recalled. To restore the factory defaults temporarily (i.e. for this load), press the My Cycle button for ½ second. The My Cycle light will turn off and the factory defaults will load. However, the next time you select this cycle, your My Cycle settings will load. If you wish to permanently restore the factory default settings for the cycle; when the My Cycle is active (button light on) press and hold the My Cycle button for 3 seconds. The factory defaults will load for the selected cycle and the My Cycle light will turn off. The default settings will load when this cycle is selected in the future and the My Cycle light will remain off. NOTE: My Cycle saves the following options: Temp, Soil, Spin, Extra Rinse, Deep Fill, Warm Rinse, Auto Soak, Deep Rinse and Stain Removal Guide.
Volume
Use the Volume button to change the volume of the end of cycle signal and other system tones. Press the button until you reach the desired volume (high, medium, low) or off.
Control Lock
Use the control lock before or during a cycle to prevent any selections from being made.
To lock/unlock the washer controls, press and hold the Warm Rinse and Auto Soak buttons for 3 seconds. The control lock icon will light up when it is on. NOTE: The Power button can still be used when the machine is locked.
Loading and using the washer.
Always follow fabric manufacturer’s care label when laundering.
Proper Use of Detergent
Using too little or too much detergent is a common cause of laundry problems.
Use less detergent if you have soft water, a smaller load or a lightly soiled load.
For spots, apply pre-treatment to items as recommended on the product label. Application should be made in the basket to prevent overspray which may cause the coloring on the lid or graphics to fade.
Place detergent pods in the bottom of the wash basket before adding clothes.
GE recommends the use of High Efficiency detergents such as he in your energy efficient washer.
HE detergents are formulated to work with low water wash and rinse systems. HE detergents reduce the oversudsing problems commonly associated with regular detergents.
When using high efficiency or concentrated detergents, consult the product label to determine amount required for optimum performance. Excessive detergent will negatively impact wash performance.
Sorting Wash Loads
Sort by color (whites, lights, colors), soil level, fabric type (sturdy cottons, easy care, delicates) and whether the fabric produces lint (terry cloth, chenille) or collects lint (velveteen, corduroy). Wash lint producers such as cotton towels and socks separate from lint collectors including synthetic garments and dress pants.
Never place items in the washer that are dampened with gasoline or other flammable liquids. No washer can completely remove oil. Do not dry anything that has ever had any type of oil on it (including cooking oils). Doing so so can result in death, explosion, or fire. |
Loading the Washer
Load dry items loosely in the washer basket. For best results, load items evenly and loosely around the outside of the basket, filling in towards the center on larger loads. To add items after washer has started, press Start/Pause if the lid is locked; wait until the Lid Locked indicator on the display is no longer illuminated before attempting to open the lid. Lift the lid and submerge additional items around the outside of the basket. Close the lid and press Start to resume. Adjust load size selection and/or use Deep Fill option if necessary.
- Do not place large items such as sheets, blankets and towels across the Infusor (Not all features are on all models).
Load them around the outside of the basket. - Do not put lawn or sofa cushions into the washer as they are too big to move. Remove outer covers and ONLY wash them.
Average Small Load Average Medium Load Average Large Load


About washer features.
Automatic Load Sensing
This determines the correct agitate profile, agitate duration and amount of water suited to the size and type of load placed in the washer. The washer will not start the wash cycle or fill with water if the lid is open. When the lid is closed the machine is able to begin filling with water in order to sense the load size.
NOTE: Automatic Load Sensing initiates a spin at the beginning of the cycle and will take as much as 3 minutes to complete (significantly shorter for smaller loads); this is normal operation.
NOTE: This is a high efficiency washing machine with Infusor wash action. This system requires less water while providing effective cleaning action. You may notice that the water level is lower than on your previous washer. This is normal for an Infusor-equipped washer.
Detergent Dispenser
Liquid or powdered HE detergent should be added to the right side of the dispenser drawer. Follow the detergent manufacturer’s recommendations for the correct amount of detergent, based on load size, taking care to add detergent to the right compartment. Do not overfill or dilute detergent as this can result in additive being dispensed prematurely in the wash cycle. Your option selections will determine when detergent is automatically dispensed at its optimal time in the wash cycle.
NOTE: Single-dose laundry packets should not be added to the dispenser drawer, as they will not dispense properly. Put packets in bottom of wash basket.
Liquid Fabric Softener Dispenser
Liquid fabric softener should be added to the left side of the dispenser drawer. Follow the liquid fabric softener manufacturer’s recommendations for the correct amount of softener, based on load size, taking care to add softener to the left compartment. Do not overfill or dilute softener as this can result in additive being dispensed prematurely in the wash cycle. Your option selections will determine when liquid fabric softener is automatically dispensed at its optimal time in the rinse cycle.
NOTE: Fabric softener crystals should not be added to the dispenser drawer, as they will not dispense properly.
Liquid Bleach
Liquid chlorine bleach should be added through the bleach dispenser in the front left corner. Follow bleach manufacturer’s recommendations for the correct amount of liquid chlorine bleach based on load size, taking care to not apply or spill it directly on clothing.
NOTE: Do not use liquid chlorine bleach and laundry pretreatments such as an Oxi product in the same wash load.
Pretreatment
Place laundry pretreatments, such as an Oxi product, directly in the bottom of the wash basket before loading clothes.
NOTE: Do not use liquid chlorine bleach and laundry pretreatments such as an Oxi product in the same wash load.
Care and cleaning of the washer.
Exterior of the Washer
Immediately wipe off any spills with a damp cloth.

Interior of the Washer
To clean the interior of the washer, select the Basket Clean feature on the control panel. This Basket Clean cycle should be performed, at a minimum, once per month. This cycle will use more water, in addition to bleach, to control the rate at which soils and detergents may accumulate in your washer.
NOTE: Read the instructions below completely before starting the Basket Clean cycle.
- Remove any garments or objects from the washer and ensure the washer basket is empty.
- Open the washer lid and pour one cup or 250 ml of liquid bleach or other washing machine cleaner into the basket.
- Close the lid and select the Basket Clean cycle. Push the Start button.
- When the Basket Clean cycle is working, the display will show the estimated cycle time remaining. Do not interrupt the cycle.
Basket Clean may be interrupted by pressing the Start button in between cycles. A power outage in the house might also interrupt the cycle. When the power supply is back, the Basket Clean cycle resumes where it had stopped. When interrupted, be sure to run a complete Basket Clean cycle before using the washer. If the Power button is pressed during Basket Clean, the cycle will be lost.
IMPORTANT:
- Run Basket Clean with 1 Cup (250 ml) of bleach once a month.
- After the completion of a Basket Clean cycle, the interior of your washer may have a bleach smell.

Cleaning the Dispenser Drawer
After some period of use, a small amount of detergent or softener residue may be present in the dispenser drawer. The drawer can easily be removed for cleaning. To remove the drawer, pull it out until the drawer stops and then lift up on the front of the drawer. The drawer can then be removed from the dispenser box. Wash the drawer in warm, soapy water using a mild detergent. Rinse drawer with warm water. If siphon caps are removed for cleaning, be sure to push siphon caps fully back into place after cleaning.
The dispenser drawer and siphon caps are not dishwasher safe. The dispenser box is not removable, but it can be wiped clean using a damp cloth if necessary. Do not attempt to remove the dispenser box for cleaning.
Water Supply Hoses
Hoses connecting washer to faucet should be replaced every 5 years.
Moving and Storage
Ask the service technician to remove water from drain pump and hoses. Do not store the washer where it will be exposed to the weather.
Long Vacations
Be sure water supply is shut off at faucets. Drain all water from hoses and water filter pump area if weather will be below freezing.
Consumer Help Indicator
Your washer is equipped with Consumer Help Indicator (CHI). CHI is our way to communicate a simple remedy for some situations that you can perform without the need to call for service. The chart below describes the helpful messages you may notice scrolling on your display when you return to start another load. These messages will provide simple remedies you can quickly perform.
| Spin light blinking | If an out-of-balance condition is detected by the washer, the Spin light will blink during the remaining portion of the cycle and will stay illuminated for a short time after cycle completion. When this occurs, the washer is taking actions to correct the out-of-balance condition and complete the cycle normally. In some cases, the washer may not be able to balance the load and spin up to full speed. If you notice the load is more wet than normal at the end of the cycle, redistribute the load evenly in the wash basket and run a Drain & Spin cycle. |
| “H2O SUPPLY” (Water not entering washer) | Check your house water supply. Did you forget to turn on one or both supply valves after installation or coming back from vacation? As soon as the message starts to scroll, the washer will initiate a 4 minute lock-out period. The washer controls won’t respond/change during this time. After the 4 minutes, you can begin your cycle again. If you try to bypass the lock-out period by unplugging the washer, the 4 minute timer will start over again. |
| “CAnCELEd” | “CAnCELEd” may scroll on the display if the machine was paused for longer than 12 hours or if the machine has stopped itself before the cycle completed due to certain errors. As soon as the message starts to scroll, the washer will initiate a 4 minute lock-out period. The washer controls won’t respond/change during this time. After the 4 minute period, you can begin your cycle again. If you try to bypass the lock-out period by unplugging the washer, the 4 minute timer will start over again. If the problem persists, call 1 800 561 3344 for service. |
| “Lid” | “Lid” will be shown on display if 3 cycles have been started without opening the lid. The washer will not start another cycle until the lid is opened. Try opening, then closing the lid and starting a new cycle. If the problem persists, call 1 800 561 3344 for service. |
Installation Instructions | Washer |
| If you have any questions, call 1.800.561.3344 or visit www.GEAppliances.ca |
BEFORE YOU BEGIN
Read these instructions completely and carefully.
- IMPORTANT - Save these instructions for local inspector’s use.
- IMPORTANT - Observe all governing codes and ordinances.
- Note to Installer - Be sure to leave these instructions with the Consumer.
- Note to Consumer - Keep these instructions for future reference.
- Skill level – Installation of this appliance requires basic mechanical and electrical skills.
- Completion time - 1-3 hours
- Proper installation is the responsibility of the installer.
- Product failure due to improper installation is not covered under the Warranty.
PARTS SUPPLIED

Cable Tie
TOOLS REQUIRED FOR WASHER INSTALLATION
Pliers
Adjustable Spanner

Level
![]()
PARTS REQUIRED (Sold separately)

Water Hoses (2)
Rubber Washers (2) and Strainer Screens (2)
Drain Hose Extension (For discharge heights from 60″ – 96″
GE Parts and Accessories
Order on-line at GEApplianceparts.com today, 24 hours a day or by phone at 1 800 661 1616 during normal bussines hours.
Part Number Accessory
WW01F01987 (2) Water supply hose
[Includes Water Supply Hose (1), Rubber Washer (1), Strainer Screen (1)].
NOTE: We strongly recommend the use of new water supply hoses. Hoses degrade over time and need to be replaced every 5 years to reduce the risk of hose failures and water damage.
Installation Instructions
LOCATION OF YOUR WASHER
Do Not Install the Washer:
- In an area exposed to dripping water or outside weather conditions. The ambient temperature should never be below 60°F (15.6°C) for proper washer operation.
- In an area where it will come in contact with curtains or drapes.
- On carpet. The floor MUST be a hard surface with a maximum slope of ½ per foot (1.27 cm per 30 cm). To make sure the washer does not vibrate or move, you may have to reinforce the floor.
NOTE: If floor is in poor condition, use 3/4 impregnated plywood sheet solidly attached to existing floor covering.
IMPORTANT: Minimum Installation Clearances – Alcove or Closet
- If your washer is approved for installation in an alcove or closet, there will be a label on the back of the machine describing requirements.
- Minimum clearance between washer and adjacent walls or other surfaces: 0″ either side, 2″ front, 3″ rear. Vertical space from floor to overhead shelving, cabinets, ceiling, etc. = 60″.
- Closet doors must be louvered or otherwise ventilated and require 60 square inches of opening near the top of the door and 60 square inches near the bottom of the door. If a dryer is located in the same closet, then these areas must be doubled.
NOTE: The clearances stated on this label are minimums. Consideration must be given to providing adequate clearances for installing and servicing.
WATER SUPPLY REQUIREMENTS
WATER PRESSURE – Must be 20 psi minimum to 120 psi maximum.
WATER TEMPERATURE – Household water heater should be set to deliver water at 120° to 150°F (50° to 66°C) TO THE WASHER when hot wash is selected.
SHUTOFF VALVES – Both hot and cold shutoff valves (faucets) should be supplied.
DRAIN – Water should be drained into standpipe. Discharge height MUST NOT BE LESS THAN 30 INCHES, and no more than 8 feet above the base of the washer. Standpipe must be 1-½ inches minimum inside diameter and must be open to atmosphere.
1 UNPACKING THE WASHER
After the machine is in the home, remove outside packing material/carton from washer.
Remove bag (containing cable tie, drain hose clip) and Owner’s Reference Guide from tub.
NOTE: Leave foam shipping material inside tub opening to hold tub in place during the rest of installation.
Bag- Leave shipping material inside tub
2 REMOVE THE BASE
Remove base from unit by placing foot on side of base and tipping unit back on corner post. Remove base and bring the washer back upright.


3 CONNECT WATER HOSES TO WASHER
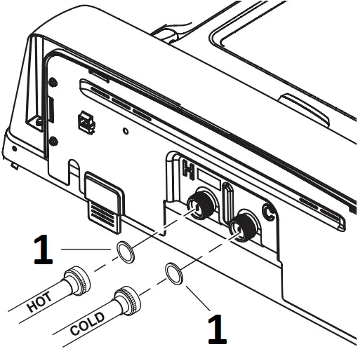
Disconnect electrical cord before installing water hoses. If not installed, install rubber washer in one end of hot water hose. Thread hot water hose onto connection labeled H at top rear of washer. Hand tighten and use pliers to tighten hoses between 1/8 and ¼ turn beyond hand-tight.
If not installed, install rubber washer in one end of cold water hose C. Thread cold water hose onto connection labeled C at top rear of washer. Hand tighten and use pliers to tighten hoses between 1/8 and ¼ turn beyond hand-tight.
Move washer as close to final location as possible, leaving room for you to make water, drain, and electrical connections to your home.

- Rubber washer
4 CONNECT WATER HOSES TO OUTLET VALVES
Determine which is HOT water line before attaching water hoses to faucets. Traditionally, HOT faucet is on left.
(If screen washers are not installed) With protruding part of screen toward you, install strainer screen/rubber washer into each of the free ends of two water hoses.
Connect hot water hose to hot water outlet valve of your home. Hand tighten and use pliers to tighten hoses between ¼ and ½ turn beyond hand-tight. Open hot water valve.
Connect cold water hose to cold water outlet valve of your home. Hand tighten and use pliers to tighten hoses between ¼ and ½ turn beyond hand-tight. Open cold water valve.
Check for leaks and drips at the hose couplings. Tighten as necessary.
Connect both hot and cold water inlets correctly and be sure to open water faucets completely, this is important to ensure the proper product operation.
Pull the drain hose out from top to proceed installation.

- Drain Hose
5 CONNECT TO DRAIN
The drain or standpipe must be capable of accepting a discharge at a rate of 16 gal per minute. The drain height must be 30″ minimum and 96″ maximum.
The standpipe diameter must be 1-½” minimum. There MUST be an air gap around the drain hose in the stand pipe. A snug fit can cause a siphoning action.
For a drain facility less than 33″ high, the hose, coupling and clamps provided in the machine must be used and, in addition, a siphon break MUST be installed on the back of the machine. Obtain and use a siphon break kit and follow the instructions in the kit.
If water valves and drain are built into wall, fasten drain hose to one of water hoses with cable tie provided (ribbed side on inside). If your drains is a standpipe, fasten drain hose to standpipe with cable tie provided.

- Drain hose
- Wall
- Cable tie
- 5″ Max. insertion into drain
- Standpipe
- 30″ Min.
NOTE: Placing the drain hose too far down the drain pipe can cause a siphoning action. No more than 5″ of hose should be in the drain pipe. There must be an air gap around the drain hose. A snug fit can also cause a siphoning action.
ELECTRICAL REQUIREMENTS
Plug into a grounded 3-prong outlet. DO NOT remove ground prong. DO NOT use an adapter. DO NOT use an extension cord. Failure to follow these instructions can result in death, fire or electrical shock. |
CIRCUIT - Individual, properly polarized and grounded 15 or 20 amp circuit breaker or time-delay fuse.
POWER SUPPLY - 2 wire plus ground, 120 Volt, single phase, 60 Hz, alternating current.
Outlet Receptacle - Properly grounded 3-prong receptacle to be located so the power cord is accessible when the washer is in an installed position. If a 2-prong receptacle is present, it is the owner’s responsibility to have a licensed electrician replace it with a properly grounded 3-prong grounding type receptacle.
Washer must be electrically grounded in accordance with local codes and ordinances, or in the absence of local codes, in accordance with the NATIONAL ELECTRICAL CODE, ANSI/NFPA NO. 70 latest edition. Check with a licensed electrician if you are not sure that the washer is properly grounded.
7 CONNECT POWER AND INSTALL
Do not shim leveling legs.
Make sure large dial control (Not all features are on all models) on washer is pushed in to the OFF position.
Insert plug of electrical cord into a 115V, 15- or 20-amp wall receptacle. Move washer into final position. Place level on flat top side edges of washer. Adjust all four leveling legs with an adjustable spanner until washer is level left to right and front-to-back. Remove level
Open tub lid. Remove and discard tub shipping material (see Step 1).
Remove plastic protector sheet from control panel face.


- side to side
- front to back
GROUNDING INSTRUCTIONSThis appliance must be grounded. In the event of malfunction or breakdown, grounding will reduce the risk of electric shock by providing a path of least resistance for electric current. This appliance is equipped with a cord having an equipment- grounding conductor and a grounding plug. The plug must be plugged into an appropriate outlet that is properly installed and grounded in accordance with all local codes and ordinances.
Improper connection of the equipment-grounding conductor can result in a risk of electrical shock. Check with a qualified electrician, or service representative or personnel, if you are in doubt as to whether the appliance is properly grounded. DO NOT modify the plug on the power supply cord. If it will not fit the outlet, have a proper outlet installed by a qualified electrician. |
If required by local codes, an external 18 gauge or larger copper ground wire (not provided) may be added. Attach to washer cabinet with a #10-16 x ½” sheet metal screw (available at any hardware store) to rear of washer as illustrated.

- Attach ground wire and ground screw (obtain locally)
Mobile Home Installation:
Installation must conform to Standard for Mobile Homes, ANSI A119.1 and National Mobile Home Construction and Safety Standards Act of 1974 (PL93-383).
FINAL CHECKLIST
Before starting the washer, check to make sure:
Main power is turned on.
The washer is plugged in.
The water faucets are turned on.
The unit is level and all four leveling legs are firmly on the floor.
The shipping foam and cardboard are removed.
The drain hose is properly tied up.
There are no leaks at the faucet, drain line or washer.
Run the washer through a complete cycle.
Check for water leaks and proper operation.
Place these instructions in a location near the washer for future reference.
Before you call for service…Troubleshooting Tips
Save time and money! Review the charts on the following pages, or visit GEAppliances.ca. You may not need to call for service.
| WATER | Possible Causes | What To Do |
| Small amount of water remaining in dispenser (Not all features are on all models) at end of cycle | Normal dispenser operation | It is normal for a small amount of water to remain in dispenser after the cycle. |
| Short spray and delay after pushing the Start button | Lid was opened and closed between cycle selection and start | This is normal. See START-UP SEQUENCE in the Safety Instructions section. |
| Water level seems low | This is normal | Water may not cover the top level of the clothes. This is normal for this high efficiency washer. |
| Low water flow | Water valve screens are stopped up | Turn off the water source and remove the water connection hoses from the upper back of the washer and the water faucets. Clean both the hose screens (if so equipped) and the screens in the machine using a brush or a toothpick. Reconnect the hoses and turn the water back on. Check to ensure there are no leaks at the connections. |
| Water siphoning out of washer | Drain standpipe is too low or hose too far into standpipe | The drain hose must exceed 32” height at some point between the washer back and the drain pipe. Use anti-siphon clip. See the Installation Instructions. |
| Too many suds | Soft water | Try less detergent. |
| Too much detergent | Measure your detergent carefully. Use less soap if you have soft water, a smaller load or a lightly soiled load. | |
| Type of detergent | Switch to High Efficiency detergent such as he | |
| Water leaks | Type of detergent | Switch to High Efficiency detergent such as he |
| Using too much detergent in washer | Use less detergent. Use less soap if you have soft water, a smaller load or a lightly soiled load. | |
| Fill hoses or drain hose is improperly connected | Make sure hose connections are tight at faucets and rubber washers are installed. Make sure end of drain hose is correctly inserted in and secured to drain facility. | |
| Household drain clogged | Check household plumbing. You may need to call a plumber. | |
| Drain hose rubs on wall | Make sure drain hose does not make contact with the wall. May cause excessive wear on the hose. | |
| Constant water pressure to fill hoses at water source | Tighten hoses at the faucets. Check condition of the fill hoses; they should be replaced every 5 years. | |
| Water temperature seems incorrect | Cooler water temperatures provide improved energy efficiency | New laundry detergents have been formulated to work with cooler water temperatures without affecting wash performance. |
| Water supply is turned off or improperly connected | Turn both hot and cold faucets fully on and make sure hoses are connected to correct faucets. NOTE: Water valves are marked “H” and “C”. | |
| Water valve screens are stopped up | Turn off the water source and remove the water connection hoses from the upper back of the washer and the water faucets. Clean both the hose screens (if so equipped) and the screens in the machine using a brush or a toothpick. Reconnect the hoses and turn the water back on. Check to ensure there are no leaks at the connections. | |
| Cool/Cold Water when selecting Hot | This is normal. The washer senses water temperature (Not all features are on all models) and optimizes for best results. Cold water is added periodically when hot is selected. | |
| House water heater is not set properly | Make sure house water heater is delivering water at 120°F–140°F (48°C–60°C). | |
| Water pumped out before cycle is complete | Lid lifted or cycle was put in pause for over 24 hours | Reset cycle. |
| Water won’t drain | Drain hose is kinked or improperly connected | Straighten drain hose and make sure washer is not sitting on it. Top of drain outlet should be less than 6 ft (1.8 m) above floor. |
| Washer spins and pauses at the beginning of cycles | This is normal | The washer is sensing the load. |
| Washer pauses during wash cycle | The Soak Option was chosen | This is normal. The washer alternates between agitate and soak during these cycles to get your clothes cleaner with less wear. |
| This is normal | Many cycles incorporate as series of soaks within the agitation period to get your clothes clean with less wear. | |
| Residual powder in dispenser or clogging of dispensers (Not all features are on all models) | Wash water too cold or low home water pressure | Select a warmer wash temperature if possible to improve dissolving of detergent or use liquid detergent. Make sure siphon caps are free of debris and fully pressed into position. Remove and clean tray if clogging occurs. |
| Laundry additives dispensing too soon (Dispensers Not all features are on all models) | Overfilling of dispensers | Do not overfill or add water to dispenser. Select Deep Rinse option when using fabric softener. |
| Washer pauses during spin cycle | This is normal | The washer may pause during the spin cycle to remove soapy water more efficiently. |
| Washer won’t operate | Washer is unplugged | Make sure cord is plugged securely into a working outlet. |
| Water supply is turned off | Turn both hot and cold faucets fully on. | |
| Lid is open-safety feature prevents agitation and spinning when lid is up | Close lid and press Start. | |
| Circuit breaker/fuse is tripped/blown | Check house circuit breakers/fuses. Replace fuses or reset breaker. Washer should have a separate outlet. | |
| Electronics need to be reset | Unplug washer, wait 2 minutes, plug back in and press Start. | |
| Start was not pressed | Press Start. | |
| Detergent packets not dissolving | Laundry detergent packet placed in dispenser | Laundry detergent packets should not be used in the dispensers. They should only be added directly to the wash basket following the manufacturer’s directions. |
| Unexplained time and/ or settings changes | Changing options (Not all features are on all models) | This is normal. Several options will change other options to maximize washer performance. |
| Basket seems loose | Basket moves or rotates freely | Washer basket does not have a traditional brake. Washer basket will move freely. This is normal. |
| PERFORMANCE | Possible Causes | What To Do |
| Colored spots | Incorrect use of fabric softener | Check fabric softener package for instructions and follow directions for using dispenser. Make sure you have selected the Deep Rinse option. Pretreat stain and rewash using Speed Wash cycle before drying. |
| Dye transfer | Sort whites or lightly colored items from dark colors. | |
| Grayed or yellowed clothes | Detergent amount | Be sure to follow detergent manufacturer’s directions. |
| Hard water | Use a water conditioner or install a water softener. | |
| Water is not hot enough | Make sure water heater is delivering water at 120°F–140°F (48°C–60°C). | |
| Washer is overloaded | Loosely load clothes no higher than the top row of holes in the washer basket. For best results, load items around the outside of the basket. | |
| Dye transfer | Sort clothes by color. If fabric label states wash separately, unstable dyes may be indicated. | |
| Lint or residue on clothes | Clothes are air or line dried | If you do not dry your clothes with a clothes dryer, your clothes may retain more lint. |
| Incorrect sorting | Separate lint producers from lint collectors. | |
| Washing too long | Wash small loads for a shorter time using Light Soil setting. | |
| Detergent not dissolving | Rewash, next time: Try a liquid detergent; Use warmer water temperature. | |
| Overloading | Loosely load clothes in the washer basket. For best results, load items around the outside of the basket. | |
| Incorrect use of fabric softener | Check fabric softener package for instructions and follow directions for using dispenser. Make sure you have selected the Deep Rinse option. | |
| Clothes too wet | No spin selected | Select a spin option. |
| Incorrect cycle selected | Make sure the cycle selected matches the load you are washing. Some fabrics will feel wetter when rinsed with cold water. | |
| Wash load out of balance | Redistribute load in washer and run through Drain & Spin cycle. | |
| Blinking Spin light or Spin light on at end of cycle | Out of balance condition has been detected | Allow cycle to continue and finish. If load is wet at the end of the cycle, even out load and run a Drain & Spin cycle. |
| Pilling | Result of normal wear on poly-cotton blends and fuzzy fabrics | While this is not caused by the washer, you can slow the pilling process by washing garments inside out. |
| Snags, holes, tears, rips or excessive wear | Pins, snaps, hooks, sharp buttons, belt buckles, zippers and sharp objects left in pockets | Fasten snaps, hooks, buttons and zippers. Remove loose items like pins, objects in pockets and sharp buttons. Turn knits (which snag easily) inside out. |
| Undiluted chlorine bleach | Check bleach package instructions for proper amount. Never add undiluted bleach to wash or allow clothes to come in contact with undiluted bleach. | |
| Chemicals like hair bleach or dye, permanent wave solution | Rinse items that may have chemicals on them before washing. Use Speed Wash cycle with Extra Rinse option. | |
| Wrinkling | Incorrect wash and dry cycles | Match Cycle selection to the type of fabric you are washing (especially for easy care loads). |
| Improper sorting | Avoid mixing heavy items (like jeans) with light items (like blouses). Try a fabric softener. | |
| Overloading | Loosely load clothes in the washer basket. | |
| Repeated washing in water that is too hot | Wash in warm or cold water. |
| SOUNDS | Possible Causes | Reason |
| “Clicking” | Shifter mechanism is engaging or disengaging | The drive system will engage at the start of agitate and disengage when agitate is complete. This occurs multiple times during the wash. |
| Back and forth “swoosh” | Electric motor reversing direction | This sound is the motor rotating back and forth to clean your laundry. |
| “Clicking” behind Control during fill | Automatic Temperature Control Valve | Two valves mix cold and hot water. The “clicking” is when either valve turns on or off to raise or lower the fill water temperature. |
| Water flow changes during fill | Automatic Temperature Control Valve | Two valves mix cold and hot water. The “clicking” is when either valve turns on or off to raise or lower the fill water temperature. |
| Motor sounds during spin | Motor ramping up/down during spin cycle | The motor will speed up incrementally during the spin cycle. When spin is complete, it will coast until it stops. |
| “Humming” | Water drain pump | The drain pump will make a humming sound when pumping out water after agitation stops and continue until spin is complete. |
| Drive motor | The drive motor will make a “humming” sound during the wash and spin phases of the cycle. | |
| “Gurgling | Water drain pump | When the pump starts drawing in air, It starts to gurgle. The washer should then begin spinning and the sound will continue until it is done spinning. |
| Water “swishing” | Washing process | Water swishing while the unit is agitating is normal, especially with smaller loads. |
| Washer rocking/ moving | Washer leveling legs uneven | To level the washer, adjust the leveling legs by rotating the individual leg in the proper direction for up or down. |
| “Squeaking” sound | Washer not level and rubbing on cabinet | To level the washer, adjust the leveling legs by rotating the individual leg in the proper direction for up or down. |
GE Appliances Washer Warranty.
All warranty service provided by our Factory Service Centers, visit us on-line at GEAppliances.ca, or call 1.800.561.3344
Please have serial number and model number available when calling for service.
Staple your receipt here.
Proof of the original purchase date is needed to obtain service under the warranty.
Servicing your appliance may require the use of the onboard data port for diagnostics. This gives a GE Factory Service technician the ability to quickly diagnose any issues with your appliance and helps GE improve its products by providing GE with information on your appliance. If you do not want your appliance data to be sent to GE, please advise your technician NOT to submit the data to GE at the time of service.
| For The Period Of: | We Will Replace: |
| One Year From the date of the original purchase | Any factory specified part of the washer which fails due to a defect in materials or workmanship. During this limited one year warranty, we will also provide, free of charge, all labor and related service to replace the defective part. *One year warranty only applies to Canada, for the rest of the countries one year warranty applies. |
| Ten Years From the date of the original purchase | Applies only to hybrid models (One knob and digital control) The motor, if it should fail due to a defect in materials or workmanship. During this additional nine-year limited warranty, you will be responsible for any labor and related service costs. |
What Is Not Covered:
- Service trips to your home to teach you how to use the product.
- Improper installation, delivery or maintenance.
- Failure of the product if it is abused, misused, or used for other than the intended purpose or used commercially.
- Replacement of house fuses or resetting of circuit breakers.
- Products which are not defective or broken, or which are working as described in the Owner’s Manual.
- Damage to the product caused by accident, fire, floods or acts of God.
- Incidental or consequential damage caused by possible defects with this appliance.
- Defects or damage due to operation in freezing temperatures.
- Damage caused after delivery.
- Product not accessible to provide required service.
| EXCLUSION OF IMPLIED WARRANTIES-Your sole and exclusive remedy is product repair as provided in this Limited Warranty. Any implied warranties, including the implied warranties of merchantability or fitness for a particular purpose, are limited to two years or the shortest period allowed by law. *One year warranty only applies to Canada, for the rest of the countries one year warranty applies. |
In Canada:
This warranty is extended to the original purchaser and any succeeding owner for products purchased in Canada for home use within Canada. If the product is located in an area where service by a GE Authorized Servicer is not available, you may be responsible for a trip charge or you may be required to bring the product to an Authorized GE Service location.
Some provinces do not allow the exclusion or limitation of incidental or consequential damages. This warranty gives you specific legal rights, and you may also have other rights which vary from province to province. To know what your legal rights are, consult your local or provincial consumer affairs office.
Warrantor: MC COMMERCIAL INC., BURLINGTON, ON L7R 5B6
Consumer Support.
GE Appliances Website In Canadá: GEAppliances.ca
Have a question or need assistance with your appliance? Try the GE Appliances Website 24 hours a day, any day of the year! For greater convenience and faster service, you can now download Owner’s Manuals, order parts or even schedule service on-line. In Canada: www.GEAppliances.ca
Schedule Service In Canadá: GEAppliances.ca
Expert GE repair service is only one step away from your door. Get on-line and schedule your service at your convenience any day of the year! Or call Or call In Canada, 1.800.561.3344 during normal business hours.
Real Life Design Studio In Canadá: GEAppliances.ca
Ge support the Universal concept – products, services and environments that can be used by people of all ages, sizes and capabilities. We recognize the need to design for a wide range of physical and mental abilities and impairments. For details of GE’s Universal Design applications, including kitchen design ideas for people with disabilities, check out our Website today. For the hearing impaired, please call 1-800-561-3344.
In Canada, contact: Manager, Consumer Relations,MC Commercial
Suite 310, 1 Factory Lane
Moncton, N.B. E1C 9M3
Extended Warranties In Canadá: GEAppliances.ca
Purchase a GE extended warranty and learn about special discounts that are available while your warranty is still in effect. You can purchase it on-line anytime, or call 1-800-561-3344. during normal business hours. GE Consumer Home Services will still be there after your warranty expires. Consult your local listings for an extended warranty provider.
Parts and Accessories In Canadá: GEAppliances.ca
You will find the nearest MC Commercial Service Center number in the yellow pages of your phone book. Or call us at 1 800 661 1616
Contact Us In Canadá: GEAppliances.ca
If you are not satisfied with the service you receive from GE, contact us on our Website with all the details including your phone number, or write to: Director, Consumer Relations, MC Commercial
Suite 310, 1 Factory Lane
Moncton, N.B. E1C 9M3
For questions on installation call 1-800-561-3344 (Canada).
Register Your Appliance In Canadá: GEAppliances.ca
Register your appliance on-line- at your convenience! Timely product registration will allow for enhanced communication and prompt service under the terms of your warranty, should the need arise. You may also mail in the pre-printed registration card included in the packing material. In Canada: GEAppliances.ca
PROPER INSTALLATION
WHEN NOT IN USE
Proper Use of Detergent
Sorting Wash Loads
Loading the Washer
Bag















