GE APPLIANCES Built-In Dishwashers

Installation Instructions
See your Owner’s Manual for details on how to contact us regarding installation questions
Stop
BEFORE YOU BEGIN
Read these instructions completely and carefully.
WARNING
- To reduce the risk of electric shock, fire, or injury to persons, the installer must ensure that the dishwasher is completely enclosed at the time of installation.
- FOR PERSONAL SAFETY: Remove house fuse or open circuit breaker before beginning installation. Do not use an extension cord or adapter plug with this appliance.
- The improper connection of the equipment grounding conductor can result in a risk of electric shock. Check with a qualified electrician or service representative if you are in doubt that the appliance is properly grounded.
- If house wiring is not 2-wire with ground, a ground must be provided by the installer. When house wiring is aluminum, be sure to use UL-Listed anti-oxidant compound and aluminum-to-copper connectors.
- To reduce the risk of electric shock, fire, or injury to persons, the installer should check to ensure that wires are not pinched or damaged, the house wiring is attached to the junction box bracket through a strain relief, and all electrical connections made at the time of install (wire nuts) are contained inside of the junction box cover.
Caution
Do not remove wood base until you are ready to install the dishwasher. The dishwasher will tip over when the door is opened if base is removed.
While performing installations described in this booklet, gloves, safety glasses or goggles should be worn.
FOR YOUR SAFETY
Read and observe all WARNINGS and CAUTIONS shown throughout these instructions.
IMPORTANT – Observe all governing codes and ordinances.
- Note to Installer – Be sure to leave these instructions for the consumer’s and local inspector’s use.
- Note to Consumer – Keep these instructions with your Owner’s Manual for future reference.
- Skill Level – Installation of this dishwasher requires basic mechanical, electrical and plumbing skills. Proper installation is the responsibility of the installer. Product failure due to improper installation is not covered under the GE Appliances Warranty. See Warranty information.
- Completion Time – 1 to 3 Hours. New installations require more time than replacement installations.
IMPORTANT – The dishwasher MUST be installed to allow for future removal from the enclosure if service is required.
Care should be exercised when the appliance is installed or removed, to reduce the likelihood of damage to the power supply cord.
If you received a damaged dishwasher, you should immediately contact your dealer or builder.
Optional Accessories – See the Owner’s Manual for available custom panel kits.
Your dishwasher is a water-heating appliance.
CHECK THE FOLLOWING
- Tub trim does not interfere with the door
- Dishwasher is square and level at both the top and bottom of the cabinet opening, with no twisting or distortion of the tub or door
- All 4 legs of the dishwasher are firmly in contact with the floor
- Drain hose is not pinched between the dishwasher and adjacent cabinets or walls Tub trim is fully seated on the tub flange
Installation Preparation
PARTS SUPPLIED IN INSTALLATION PACKAGE:
- Bottle Jets clips (on some models)
- Junction box cover and #10 hex-head screw
- Hose clamp
- Drain hose (approximately 58” long)
- Drain hose hanger
- 2 #8-18 hex head screws to secure brackets to washer tub frame
- 1 top trim piece (on some models)
- 2 side trim pieces
- 2 mounting brackets for wood countertops or side cabinets
- 2 #8-18 x 5/8” Phillips special head screws, to secure dishwasher to underside of countertop or to side cabinets
- Plug buttons
- Literature, samples and/or coupons

MATERIALS YOU WILL NEED:
- 90° elbow (3/4”hose internal thread on one end,opposite end sized to fit water supply)
- UL-listed wire nuts (3)
- Masking Tape
Materials For New Installations Only:
- Air gap for drain hose, if required
- Waste tee for house plumbing, if applicable
- Electrical cable or Power Cord Kit WX09X70910 (5.4 Ft) or WX09X70911 (7.9 ft) depending on your installation.
- Hose clamp (if needed for optional drain hose)
- Strain relief for electrical connection
- Hand shut-off valve (recommended)
- Hot Water Line–3/8” minimum, copper tubing (including ferrule, compression nut) or GE Appliances Part # WX28X326, flexible braided hose.
- WD24X10065 drain hose (12’ long), if needed.

TOOLS YOU WILL NEED:
- Phillips-head screwdriver
- 1/4” and 5/16” nutdriver
- 6” Adjustable wrench
- Level
- Carpenter’s square
- Measuring tape
- Safety glasses
- Flashlight
- Bucket to catch water when flushing the line
- 15/16” socket (optional for skid removal)
- Gloves
- Pliers
For New Installations Only:
- Tubing cutter
- Drill and appropriate bits
- Hole saw set

PREPARE DISHWASHER ENCLOSURE

- The rough cabinet opening must be at least 24” deep, 24” wide and approximately 34-1/2” high from floor to underside of the countertop.
- The dishwasher must be installed so that drain hose is no more than 16’ in length for proper drainage.
- The dishwasher must be fully enclosed on the top, sides and back, and must not support any part of the enclosure.
WARNING
To reduce the risk of electric shock, fire, or injury to persons, the installer must ensure that the dishwasher is completely enclosed at the time of installation.
DISHWASHER HANDLE DIMENSION: The dishwasher door should be flush with the cabinet. For models with a handle, the total depth (with handle) is 26-1/4” max. depending on the model. Locate the Quick Specs document online for more dishwasher dimensions.

CLEARANCES: When installed into a corner, allow 2” min. clearance between dishwasher and adjacent cabinet, wall or other appliances. Allow 25-1/2” min. clearance from the front of the dishwasher for door opening.
DRAIN REQUIREMENTS
- Follow local codes and ordinances.
- Do not exceed 16’ distance to drain.
NOTE: Air gap must be used if waste tee or disposer connection is less than 18” above floor to prevent siphoning.
DETERMINE DRAIN METHOD
The type of drain installation depends on the following questions.
- Do local codes or ordinances require an air gap?
- Is waste tee less than 18” above floor?
If the answer to either question is YES, Method 1 MUST be used.
- If the answers are NO, either method may be used.
CABINET PREPARATION
- Drill a 1-1/2” diameter hole in the cabinet wall within the shaded areas shown in PREPARE DISHWASHER ENCLOSURE section for the drain hose connection. The hole should be smooth with no sharp edges.
IMPORTANT – When connecting drain line to disposer, check to be sure that drain plug has been removed. DISHWASHER WILL NOT DRAIN IF PLUG IS LEFT IN PLACE.

Method 1 – Air Gap with Waste Tee or Disposer
An air gap must be used when required by local codes and ordinances. The air gap must be installed according to manufacturer’s instructions.

Method 2 – “High Drain Loop” with Waste Tee or Disposer

Tip: Avoid unnecessary service call charges. Always be sure disposer drain plug has been removed before attaching dishwasher drain hose to the disposer.
PREPARE ELECTRICAL WIRING
WARNING
FOR PERSONAL SAFETY: Remove house fuse or open circuit breaker before beginning installation.
Do not use an extension cord or adapter plug with this appliance.
ELECTRICAL REQUIREMENTS
Be sure that the electrical connection and wire size are adequate and in conformance with the National Electric Code, ANSI/NFPA 70 – latest edition, and all local codes and ordinances.
This appliance must have:
- 120V, 60Hz, AC-only, 15-ampere or 20-ampere, fused electrical supply.
- Wiring must be 2 wire with ground and rated for 75°C (167°F).
- If the electrical supply does not meet the above requirements, call a licensed electrician before proceeding.
It is recommended to have:
- A circuit breaker or time-delay fuse.
- A properly grounded individual branch circuit.
Grounding Instructions–Permanent Connection
This appliance must be connected to a grounded metal, permanent wiring system, or an equipment-grounding conductor must be run with the circuit conductors and be connected to the equipment-grounding terminal or lead on the appliance.
Grounding Instructions–Power Cord Models
This appliance must be grounded. In the event of a malfunction or breakdown, grounding will reduce the risk of electric shock by providing a path of least resistance for electric current. This appliance is equipped with a cord having an equipment-grounding conductor and a grounding plug. The plug must be plugged into an appropriate outlet that is installed and grounded in accordance with all local codes and ordinances.
WARNING
The improper connection of the equipment grounding conductor can result in a risk of electric shock. Check with a qualified electrician or service representative if you are in doubt that the appliance is properly grounded.

WARNING
For models equipped with power cord: Do not modify the plug provided with the appliance; if it will not fit the outlet, have a proper outlet installed by a qualified technician.
Cabinet Preparation & Wire Routing
- The wiring may enter the opening from either side, rear or the floor within the shaded area illustrated above in Figure E and defined in Figure A.
- Cut a 1-1/2″ maximum diameter hole to admit the electrical cable. Edges of hole should be smooth and rounded. Permanent wiring connections may pass through the same hole as the drain hose and hot water line, if convenient. If cabinet wall is metal, the hole edge must be covered with a bushing.
NOTE: Power cords with plug must pass through a separate hole in the cabinet.
Electrical Connection to Dishwasher
Electrical connection is on the right front of dishwasher.
- For permanent connections the cable must be routed as shown in Figure E. Cable must extend a minimum of 24″ from the rear wall.
- For power cord connections, install a 3-prong grounding type receptacle in the sink cabinet rear wall, 6″ min. or 18″ maximum from the opening, 6″ to 18″ above the floor.
- Use only WX09X70910 or WX09X70911 Dishwasher Power Cord Kit.
PREPARE HOT WATER LINE
NOTE: GE Appliances recommends copper tubing for the water line, but if you choose to use flexible hose, use GE Appliances WX28X326, flexible braided hose.
- The water supply line (3/8” copper tubing or flexible braided hose) may enter from either side, rear or floor within the shaded area shown in Figure F.
- The water supply line may pass through the same hole as the electrical cable and drain hose. Or, cut an additional 1-1/2″ diameter hole to accommodate the water line. If power cord with plug is used, water line must not pass through power cord hole.

Water Line Connection
- If using a flexible braided supply hose, label the hose with the installation date to use as reference. Flexible braided hoses, elbows and gaskets should be replaced in 5 years.
- Turn off the water supply.
- Install a hand shut-off valve in an accessible location, such as under the sink. (Optional, but strongly recommended and may be required by local codes.)
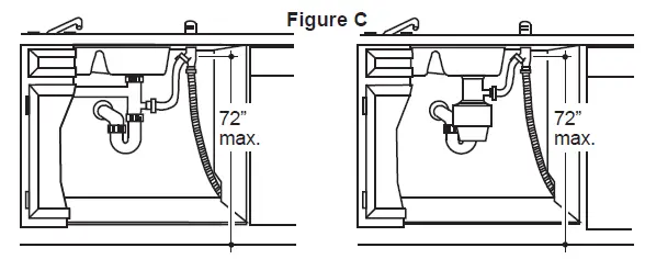
- Water connection is on the left side of the dishwasher. Install the hot water inlet line, using no less than 3/8” copper tubing or a flexible braided hose. Route the line as shown in Figure F and extend forward at least 19” from rear wall.
- Adjust water heater for 120°F to 140°F temperature.
- Flush water line to clean out debris.
- The hot water supply line pressure must be 20-120 PSI.
CAUTION
Do not remove wood base until you are ready to install the dishwasher. The dishwasher will tip over when the door is opened if base is removed.
Turn page to begin dishwasher installation.
Dishwasher Installation
STEP 1 PREPARATION
Locate the items in the installation package:
- Screws
- Junction box cover
- Drain hose and clamp
- Mounting brackets
- Trim pieces (on some models)
- Drain hose hanger
- Owner’s Manual
- Product samples and/or coupons
STEP 2 CHECK DOOR BALANCE
NOTE: If installing a Custom Door Panel (available on some models), please follow the instructions found in the Custom Door Panel kit WD35X20417.

- With dishwasher on the wood base, check the door balance by opening and closing the door.
- Door is properly balanced if, when opened, it self closes within 20° from vertical, stays in position from 20° to 70° and falls fully open beyond 70°.
- If necessary increase or decrease tension as shown. Some models will have 2 springs on one side and 1 spring on the other side. Latch door and adjust springs to correct balance.

Tip: Make sure door opens and closes smoothly.
Check door opening and closing. If door does not open easily or falls too quickly, check spring cable routing.
The cable is held in place by “shoulders” on the pulley.
Check to be sure cable has not slipped over the pulley shoulders and is routed as shown.
STEP 3 REMOVE WOOD BASE, INSTALL LEVELING LEGS
IMPORTANT – Do not kick off wood base!
Damage will occur.
- Move the dishwasher close to the installation location and lay it on its back. NOTE: Do not place thedishwasher on its side.
- Remove the 4 leveling legs on the underside of the wood base with a 15/16” socket wrench.
- Discard base.

- On models without the center bottom adjustable leveling system:
Screw leveling legs back into the dishwasher frame,approximately 1/2” from frame as shown.
- On models with the center bottom adjustable leveling system:
Screw front leveling legs back into dishwasher frame approximately 1/2”.
Screw rear leveling legs completely in until fully seated.

STEP 4 REMOVE TOEKICK
- Remove the 2 toekick screws and toekick. Set aside for use in Step 22.

STEP 5 FLOOR PROTECT PAN (On some models)
- Pan should not be removed during installation.

STEP 6 INSTALL 90° ELBOW

- Thread 90° elbow onto the water valve.
- Ensure rubber gasketis located between valve and elbow.
- Do not overtighten elbow. Water valve bracket could bendor water valve fitting could break.
- Position the end of the elbow to face the rear of the dishwasher.
STEP 7 INSTALL DRAIN HOSE TO DRAIN LOOP
Connect drain loop end to drain hose using the clamp as shown in the figure.

NOTE: The high drain loop on the side of the tub is designed for better wash performance. Do not remove from the side of the tub.
STEP 8 POSITION WATER LINE AND HOUSE WIRING
- Position water supply line and house wiring on the floor of the opening to avoid interference with base of dishwasher and components under dishwasher.

STEP 9 INSTALL DRAIN HOSE, THROUGH CABINET
- Position dishwasher in front of cabinet opening, and if present, dislodge drain hose from drain hose clip. Insert drain hose into the hole in cabinet side.
If a power cord is used, guide the end through a separate cabinet opening.

Tip: Prevent unnecessary service call charges for fill, drain or noise concerns.
Position utility lines so they do not interfere with anything under or behind the dishwasher.
STEP 10 SLIDE DISHWASHER THREE-FOURTHS OF THE WAY INTO CABINET
IMPORTANT – Do not push against front panel with knees. Damage will occur.
- Grasp the sides of the front panel and slide dishwasher into the opening a few inches at a time.

- As you proceed, pull the drain hose through the opening under the sink. Stop pushing when the dishwasher extends about 6 inches forward of adjacent cabinets.
- Make sure drain hose is not kinked under or behind the dishwasher.
- Make certain the house wiring, drain line and water line do not interfere with components under dishwasher.
STEP 11 INSTALL TRIM PIECES
In this step you will need the trim pieces set aside in Step 1.

- Select the top trim piece (See Figure R) and line up center to the top latch. Press the trim piece onto the tub flange moving from one side to the other.
- Select the left trim piece (see Figure R). Align top edge with the top trim and press it onto the left side of the tub flange moving from the top to the bottom.
Repeat for the right side tub flange trim piece. (See Figure R for right side trim piece.)
STEP 12 INSTALL MOUNTING BRACKETS
You will need the mounting brackets and 2 #8 hexhead screws set aside in Step 1.
You must install the mounting brackets onto the dishwasher tub frame top or sides prior to sliding the dishwasher into place under the countertop. This dishwasher is capable of a true-flush installation at a 24” deep opening. The mounting brackets have several available attachment positions to accommodate different cabinet constructions.
Install mounting brackets on top if the underside of countertop is wood or wood-like material that accepts screws:
IMPORTANT – After installing brackets and before closing the dishwasher door, adjust the brackets by bending them up as needed, so that they do not contact the top of the dishwasher door and cause damage.

- If you are installing the dishwasher under a counter with a short overhang, the countertop brackets may extend beyond the edge of the counter. If this is the case, remove the excess length by repeatedly bending the brackets at the front notch only until they break.
Install mounting brackets on sides.
if the countertop is granite or similar material that will not accept wood screws:
- If present, remove drain hose clip from collar and dispose.
- Break off front portion of the tab with pliers at the location shown prior to attaching to dishwasher.
- Position the left-hand side bracket as shown. Attach the bracket to the tub frame with the #8 screw through the slotted hole below the round hole. Repeat with the right bracket.

STEP 13 PUSH DISHWASHER INTO FINAL POSITION
- Check the tub insulation blanket, if equipped, to be sure it is smoothly wrapped around the tub. It should not be “bunched up” and it must not interfere with the door springs. If the insulation is “bunched up” or interfering with the springs, straighten and re-center the blanket prior to sliding the dishwasher into its final position.
- Slide the dishwasher into the final position by pushing on the sides of the door panel. Do not push or pull the door in a partially open or closed position when moving the dishwasher. Do not use a knee or push on the center of the panel. If you do, damage to the panel will likely result. Check that the dishwasher is squarely positioned in the cabinet opening at both the top and the bottom of the appliance prior to mounting to the cabinet.
IMPORTANT – Before opening the dishwasher door, be certain the edges of the dishwasher door panel are behind the face of the adjacent cabinet and not up against the cabinet face. Refer to Figure U. If the dishwasher door is opened when the edge of the door is against the face of the cabinet, dishwasher door damage and cabinet damage will occur. - Open and close the dishwasher door to be sure it operates smoothly, and does not rub on the adjacent cabinet.
Tip: Prevent unnecessary service charges for panel damage or wash performance.
Check dishwasher alignment prior to opening dishwasher door to prevent panel damage.
Make sure utility lines are not trapped or crushed behind dishwasher. Crushed lines will restrict water flow.

Check that tub trim does not contact the door at all points

Tub trim may be trimmed if necessary to ensure proper door operation
Do not allow tub trim to get trapped by or come into contact with the door

STEP 14 LEVEL DISHWASHER
IMPORTANT – Dishwasher must be level for proper dish rack operation, wash performance and door operation. The dishwasher must be leveled left to right and front to back. This ensures the dish racks will not roll in or out on their own, circulation water will flow to the pump inlet, and the door will close without hitting the side of the tub.
- Remove the lower dish rack and place a level on the door and lower rack track as shown in figure.

If your model has a rear leveling system, the rear height is adjusted from the front of the dishwasher along with the 2 front legs on the bottom of the dishwasher. Begin the leveling process with the front legs by individually turning the front 2 legs. Adjust the front legs first. When the front legs are adjusted to a height resulting in an appropriate gap to the upper cabinet, proceed to adjust the rear leveling system by adjusting the leveling bolt as illustrated in the figure. Turn the bolt to adjust the rear leveling system. Slowly rotate the bolt clockwise to raise the back of the dishwasher, and counterclockwise to lower it. Continue to adjust the feet until the dishwasher is level as illustrated in the figure. Ensure all 3 legs are firmly in contact with the floor.

If your model has 4 leveling feet, adjust the level of the dishwasher by individually turning the 4 legs on the bottom of the dishwasher as shown in figure.

- The dishwasher is properly leveled when the level indicator is centered left to right and front to back. Also, the dishwasher door should close without hitting the side of the tub.
- Replace the lower rack.
Tip: Prevent unnecessary service charges. Verify dishwasher is leveled.
Pull the dish racks half way out. They should stay put. Open and close the door. The door should fit in the tub opening without hitting the side of the tub. If the racks roll on their own, or the door hits the side of tub, re-level the dishwasher.
STEP 15 POSITION DISHWASHER, SECURE TO COUNTERTOP OR CABINET
In this step you will need the 2 Phillips special head screws from the screws set aside in Step 1.
The dishwasher must be secured to the countertop or the cabinet sides. When the underside of the countertop is wood, use Method 1. Use Method 2 when the underside of the countertop is made of a material, such as granite, that will not accept wood screws.
IMPORTANT – Prevent door panel and control panel damage. Dishwasher must be positioned so the front panel and control panel do not contact the adjacent cabinets or countertop. Mounting screws must be driven straight and flush. Protruding screw heads could scratch the door panel or control panel and interfere with door operation.
Method 1
Secure dishwasher to underside of wood countertop.
- Recheck alignment of the dishwasher in the cabinet. Refer to Steps 13 and 14. Door panel and/or control panel must not hit cabinets or countertop.
- Fasten the dishwasher to the underside of the countertop with the 2 Phillips special head screws. Refer to figure. Make certain screws are driven straight and flush to prevent panel damage.

Method 2
Secure dishwasher to cabinet sides.
- Recheck alignment of the dishwasher in the cabinet. Refer to Steps 13 and 14. Door panel and/or control panel must not hit cabinets or countertop.
- Remove plug buttons. Do not discard.
- Fasten the dishwasher to the adjacent cabinets with the 2 Phillips special head screws provided. Refer to Figure X. Make certain screws are driven straight and flush to prevent panel damage. Do not screw into the cabinet face frame.
- Install plug buttons to the side of the tub in the holes provided.

- Re-check that the dishwasher is square and level at both the top and bottom of the cabinet opening, with no twisting or distortion of the tub or door after mounting to the cabinets/countertop. Adjust if necessary.
- Confirm all leveling legs are in contact with the floor to prevent the dishwasher from rocking and ensure proper door and latch operation.
STEP 16 CONNECT WATER SUPPLY
Connect water supply line to 90° elbow.
If using a flexible braided hose connection:
- Attach nut to 90° elbow using an adjustable wrench. If using a copper tubing connection:
- Slide compression nut, then ferrule over end of water line.
- Insert water line into 90° elbow.
- Slide ferrule against elbow and secure with compression nut.
IMPORTANT – Check to be sure that door spring and/or door spring cable do not rub or contact the fill hose or water supply line. Test by opening and closing the door. Re-route the water supply lines if a rubbing noise or interference occurs.

STEP 17 CONNECT DRAIN LINE
The molded end of the drain hose will fit 5/8” through 1” diameter inlet ports on the air gap, waste tee or disposer.
- Determine size of inlet port.
- Cut drain hose connector on the marked line, if required, to fit the inlet port.

- If a longer drain hose is required, replace the provided user bag drain hose with GE Appliances service part WD24X10065, a 12’ long hose which can be connected directly to the drain loop already attached to the unit (see Step 7). If service part hose is not available, an additional hose with coupler, ID of 5/8” or 7/8” and no longer than 66”, may be attached to the provided user bag drain hose. Secure the connection with hose clamp (obtain locally) to the provided user bag drain hose.

NOTE:
- TOTAL DRAIN HOSE LENGTH MUST NOT EXCEED16’ FROM THE REAR OF THE DISHWASHER FOR PROPER DRAIN OPERATION.
- Connect drain line to air gap, waste tee or disposer using the previously determined method. Secure hose with a screw-type clamp.
Method 1 – Air gap with waste tee or disposer

Method 2 – “High drain loop” with waste tee or disposer
With this method you will need the drain hose hanger set aside in Step 1.
Fasten drain hose to underside of countertop with the provided hanger.

IMPORTANT – When connecting drain line to disposer, check to be sure that drain plug has been removed. DISHWASHER WILL NOT DRAIN IF PLUG IS LEFT IN PLACE.

Tip: Avoid unnecessary service call charges for a no drain complaint.
Make sure excess drain hose has been pulled through the cabinet opening. This will prevent excess hose in the dishwasher cavity from becoming kinked or crushed by the dishwasher.
STEP 18 CONNECT POWER SUPPLY
If a power cord with plug is already installed proceed to Step 19.
WARNING
If house wiring is not 2-wire with ground, a ground must be provided by the installer. When house wiring is aluminum, be sure to use UL-Listed anti-oxidant compound and aluminum-to-copper connectors.
In this step you will need the junction box cover and the #10 Hex head screw from the screws set aside in Step 1.
- Secure house wiring to the back of the junction box with a strain relief.
- Locate the 3 dishwasher wires, (white, black and green) with the stripped ends coming out of the AC jumper. Use UL listed wire nuts of appropriate size to connect incoming ground to green, white to white and black to black.
- Install the junction box cover using #10 hex head screw. Check to be sure that wires are not pinched under the cover.
- Make sure that the junction box cover is resting on the mounting bracket.
- If using a Power Cord Kit, use GE Appliances part number WX09X70910 or WX09X70911 and refer to the included instructions.
NOTE: Do not remove the Junction Box Bracket.

NOTE: All ground screws, brackets and wires must remain intact.
STEP 19 PRETEST CHECKLIST
Review this list after installing your dishwasher to avoid charges for a service call that is not covered by your warranty.
- Check to be sure power is OFF.
- Open door and remove all foam and paper packaging.
- Locate the Owner’s Manual set aside in Step 1.
- Read the Owner’s Manual for operating instructions.
- Check door opening and closing. If door does not open and close freely, check for proper routing of spring cable over pulley. If door drops or closes when released, adjust spring tension. See Step 2.
- Check to be sure that wiring is secure under the dishwasher, not pinched or in contact with door springs or other components. See Step 18.
- Check door alignment with tub. If door hits tub, level dishwasher. See Step 14.
- Check door alignment with cabinet. If door hits cabinet, reposition dishwasher. See Step 13.
- Check that door spring does not contact water line, fill hose, wiring or other components. See Step 13.
- Verify water supply and drain lines are not kinked or in contact with other components. Contact with motor or dishwasher frame could cause noise.
- Turn on the sink hot water faucet and verify water temperature. Incoming water temperature must be between 120°F and 140°F. A minimum of 120°F temperature is required for best wash performance. See “Prepare Hot Water Line,” page 5.
- Add 1 quart of water to the bottom of the dishwasher to lubricate the pump seal.
- Turn on water supply. Check for leaks. Tighten connections if needed.
- Remove protective film if present from the control panel and door.
- Check that tub trim does not contact the door.
STEP 20 DISHWASHER WET TEST
- Turn on power supply or plug power cord into outlet, if equipped.
- Select a cycle to run and push the Start pad.
- Ensure the door is latched. Dishwasher should start.
- Check to be sure that water enters the dishwasher. If water does not enter the dishwasher, check to be sure that water and power are turned on.
- Check for leaks under the dishwasher. If a leak is found, turn off power at the breaker, and then tighten water connections. Restore power after leak is corrected.
NOTE: A small amount of water may splash out of the fill funnel, on the right side of the tub, during the first use after installation. Splash-out is most likely to occur if there is air in the water supply line from new construction or if the valve has been closed for an extended time. - Check for leaks around the door. A leak around the door could be caused by door rubbing or hitting against adjacent cabinets. Reposition the dishwasher if necessary. See Step 13.
- Press and hold the Start pad for 3 seconds to cancel the cycle. The unit will begin to drain. Check drain lines. If leaks are found, turn off power at the breaker and correct plumbing as necessary. Restore power after corrections are made. See Steps 7, 8, 9, 10 and 17.
- Open dishwasher door and make sure all of the water has drained. If not, check that disposer plug has been removed and/or air gap is not plugged. Also check drain hose to be sure it is not kinked underneath or behind dishwasher. See Step 17. Press Start pad once again and run dishwasher through another cycle. Check for leaks and correct if required.
- Repeat these steps as necessary.
STEP 21 POSITION SOUND INSULATION PIECE (on some models)
- Locate the sound insulation package inside the dishwasher.
- Stand the parts upright as shown.

- Locate the control box.

- Push insulation block portion under the dishwasher until it is beneath the control box.

- Push the panel portion up to the front of the block.

- Tuck the sides of the front panel behind the toekick attachment screw holes.
STEP 22 REPLACE TOEKICK
- Place toekick against the legs of the dishwasher.

- Align the toekick with the bottom edge and make sure it is against the floor.
- Insert and tighten the 2 toekick attachment screws. The toekick should stay in contact with the floor.
Tip: Reduce sound from under the dishwasher. Make sure toekick is against floor.
STEP 23 INSTALL BOTTLE JETS CLIPS (on some models)
- Locate the Bottle Jets clips, depending on model, either in the silverware basket or the user bag. Install a clip over a Bottle Jets stem by slipping its clip end over the nozzel and pressing it down to the base.

STEP 24 CHECK THE FOLLOWING
- Tub trim does not interfere with the door
- Dishwasher is square and level at both the top and bottom of the cabinet opening, with no twisting or distortion of the tub or door
- On models without the adjustable leveling system, make sure all 4 legs of the dishwasher are firmly in contact with the floor
- On models with the adjustable leveling system, make sure both front legs of the dishwasher and the center rear leveling system leg are firmly in contact with the floor
- Drain hose is not pinched between the dishwasher and adjacent cabinets or walls
- Tub trim is fully seated on the tub flange
STEP 25 LITERATURE
- Be sure to leave complete literature package, these Installation Instructions and product samples and/or coupons with the consumer.
NOTE: Product improvement is a continuing endeavor. Therefore, materials, appearance and specifications are subject to change without notice.





























