
VPAP™ ST-A + iVAPS / VPAP™ ST-A
NONINVASIVE VENTILATOR
Information Guide
Please read the entire Information and Welcome Guides before using the VPAP ST-A or
VPAP ST-A + iVAPS (hereafter ‘VPAP ST-A’).
Note: The iVAPS mode is not available in all devices.
Asia Pacific
VPAP ST-A indications for use
The VPAP ST-A is indicated to provide noninvasive ventilation for patients weighing more than 13 kg or more than 30 kg in iVAPS mode with respiratory insufficiency or obstructive sleep apnoea (OSA). The VPAP ST-A is intended for home and hospital use.
The Nordic countries and the UK
VPAP ST-A + iVAPS indications for use
The VPAP ST-A + iVAPS is indicated to provide noninvasive ventilation for patients weighing more than 13 kg or more than 30 kg in iVAPS mode with respiratory insufficiency or obstructive sleep apnoea (OSA). The VPAP ST-A + iVAPS is intended for home and hospital use.
VPAP ST-A indications for use
The VPAP ST-A is indicated to provide noninvasive ventilation for patients weighing more than 13 kg with respiratory insufficiency or obstructive sleep apnoea (OSA). The VPAP ST-A is intended for home and hospital use.
Contraindications
Positive airway pressure therapy may be contraindicated in some patients with the following preexisting conditions:
- severe bullous lung disease
- pneumothorax or pneumomediastinum
- pathologically low blood pressure, particularly if associated with intravascular volume depletion
- dehydration
- cerebrospinal fluid leak, recent cranial surgery, or trauma.
Adverse effects
Patients should report unusual chest pain, severe headache, or increased breathlessness to their prescribing physician. An acute upper respiratory tract infection may require emporary discontinuation of treatment.
The following side effects may arise during the course of therapy with the device:
- drying of the nose, mouth, or throat
- nosebleed
- bloating
- ear or sinus discomfort
- eye irritation
- skin rashes.
Troubleshooting
If there is a problem, try the following suggestions. If the problem cannot be solved, contact your equipment supplier or ResMed. Do not attempt to open the device enclosure.
| Problem/Possible cause | Solution |
| No display | |
| Power is not connected. | Ensure the power cable is connected and the power outlet (if available) is on. |
| The DC plug is partially inserted into the back of the device or inserted too slowly. | Fully insert the DC plug. |
| Insufficient air delivered from the device | |
| Ramp time is in use. | Wait for air pressure to build up or change ramp time. |
| Air filter is dirty. | Replace air filter. |
| Air tubing is not connected properly. | Check air tubing. |
| Air tubing is blocked, pinched or punctured. | Unblock or free the air tubing. Check the air tubing for punctures. |
| Mask and headgear are not positioned correctly. | Adjust position of mask and headgear. |
| Problem/Possible cause | Solution |
| Incorrect air tubing selected. | If you are using the SlimLine, Standard or 3 m air tubing ensure that you have the correct air tubing selected via the menu. |
| Non-vented mask is used. | Only use a vented mask. |
| Mask vents might be blocked. | Check if you have sufficient venting. Unblock mask vents if necessary. |
| EPAP may be set too low. | Talk to your clinician about your settings. |
| Device does not start when you breathe into the mask | |
| Breath is not deep enough to trigger SmartStart/Stop. | Take a deep breath in and out through the mask. |
| SmartStart/Stop is disabled because the High Leak or LowMinute Ventilation alarm is enabled. | Press Start/Stop to start therapy. |
| SmartStart/Stop is disabled. | Talk to your clinician about enabling the SmartStart/Stop feature. |
| There is excessive leak. | Adjust position of mask and headgear. Connect the air tubing firmly at both ends. |
| Device does not stop when you remove your mask | |
| SmartStart/Stop is disabled because the High Leak or Low Minute Ventilation alarm is enabled. | Press Start/Stop to stop therapy. |
| SmartStart/Stop is disabled because Confirm Stop is enabled. | A message appears on the screen. To stop therapy, select Yes and press the Push Dial. |
| SmartStart/Stop is disabled. | Talk to your clinician about enabling the SmartStart/Stop feature. |
| SmartStart/Stop is enabled but the device does not stop automatically when you remove your mask | |
| Incompatible mask system being used. | Only use equipment recommended by ResMed. |
| Problem/Possible cause | Solution |
| Incorrect mask setting being used. | Check the selected mask type in the Setup menu. Change it if necessary. |
| The patient is using a nasal pillows mask with a set pressure less than 6 cm H2O. | Disable SmartStart/Stop. |
| The patient is using a paediatric mask with a set pressure less than 8 cm H2O. | Disable SmartStart/Stop. |
| Pressure rises inappropriately | |
| Talking, coughing or breathing inan unusual manner. | Avoid talking with a nasal mask on, and breathe as normally as possible. |
| Mask cushion is buzzing againstthe skin. | Adjust the headgear. |
| Cushion seated incorrectly causing excessive leak. | Adjust headgear or re-fit cushion. |
| Displays message: High temperature fault, refer to user manual | |
| Device has been left in a hotenvironment. | Allow to cool before re-use. Disconnect the power cord and then reconnect it to restart the device. |
| Air filter is blocked. | Replace your air filter. Disconnect the power cord and then reconnect it to restart the device. |
| Air tubing is blocked. | Check your air tubing and remove any blockages. Disconnect the power cord and then reconnect it to restart the device. |
| Humidity level setting is too high, resulting in accumulation of water in the air tubing. | Turn the humidity level setting down and empty the water from the air tubing. |
| Displays message: Check ResMed 30/90W Power Supply Unit and fully insert the connector | |
| The DC plug is partially inserted into the back of the device or inserted too slowly. | Fully insert the DC plug. |
| Problem/Possible cause | Solution |
| A non-ResMed power supply unit is connected to the device. | Remove the power supply unit and replace with a ResMed power supply unit. |
| The power supply unit is being covered by bedding. | Make sure that the power supply unit is free from bedding, clothes or other objects that could cover it. |
| The following message is displayed on the LCD after you try to update settings or copy data to the SD card: Card error, please remove SD card and contact service provider | |
| SD card is not inserted correctly. | Ensure that the SD card is inserted correctly. |
| You may have removed the SD card before settings were copied to the device. | Reinsert the SD card and wait for the Home screen or the “Settings updated successfully, press any key” message to appear on the LCD. Note: This message only appears once. If you re-insert the SD card after you have updated your settings, the message will not be redisplayed. |
| The following message is NOT displayed on the LCD after you try to update the settings using the SD card: Settings updated successfully, press any key | |
| The settings were not updated. | Contact your clinician/service provider immediately. |
Alarms
If the system has not been properly assembled, the device will trigger an alarm. Check that the air tubing has been properly attached to the device and mask (and humidifier if used).
| Problem/Possible cause | Solution |
| Alarm is activated and the LCD screen display disappears | |
| Power failure. | Remove your mask until power is restored. |
| Power cord is disconnected or mains power switch is turned off during therapy. | Ensure the power cord is connected and the mains power switch (if available) is on. |
| Problem/Possible cause | Solution |
| Displays message: High leak, please check system setup and all connections | |
| There is excessive leak. | Adjust position of mask and headgear. Connect the air tubing firmly at both ends. |
| Displays message: No tube, please check your tube is connected | |
| Flow is high because air tubing is not connected properly. Note: The tube disconnection check may not operate when an antibacterial filter is used. | Connect the air tubing firmly at both ends. |
| Displays message: Tube blocked, please check your tube | |
| Air tubing is blocked. | Check your air tubing and remove any blockages. Disconnect the power cord and then reconnect it to restart the device. |
| Displays message: No SpO2 data, check oxi sensor attachment to module/finger | |
| Oximeter sensor is not attachedproperly. | Ensure that the oximeter sensor is attached properly to the module and the patient’s finger. |
| Oximeter sensor might be faulty. | If the message appears repeatedly but the oximeter is attached properly to the module and the patient’s finger, the oximeter sensor might be faulty. Contact your service provider or exchange the oximeter. |
| Displays message: Non-vented mask, use vented mask or unblock mask vents | |
| Non-vented mask is used. | Only use a vented mask. |
| Mask vents might be blocked. | Check if you have sufficient venting. Unblock mask vents if necessary. |
| A low EPAP in conjunction with supplemental oxygen may result in false triggering of this alarm on a vented mask. | Talk to your clinician about your settings. |
| Problem/Possible cause | Solution |
| Displays message: No oximeter, check/connect oximeter adapter | |
| Oximeter adapter is not attached properly. | Ensure that the oximeter adapter is attached properly. |
| Oximeter adapter might be faulty. | If the message appears repeatedly but the oximeter adapter is attached properly, the oximeter adapter might be faulty. Contact your service provider. |
| Displays message: Check ResMed 30/90W Power Supply Unit | |
| The power supply unit is being covered by bedding. | Make sure that the power supply unit is free from bedding, clothes or other objects that could cover it. |
| The power supply unit is overheated. | Let the power supply unit cool down. |
| The DC plug is partially inserted into the back of the device or inserted too slowly. | Fully insert the DC plug. |
| Displays message: Alarm module fault, please contact service provider | |
| General failure of the device and/or the alarm module. Therapy cannot be started again. | Contact your service provider immediately. |
General technical specifications
| Power supply | 90W power supply unit Input range: 100-240V, 50-60Hz, 115V, 400Hz nominal for aircraft use Typical power consumption: 70W (80VA) Maximum power consumption: 110W (120VA) |
| 30W power supply unit Input range: 100-240V, 50-60Hz, 115V, 400Hz nominal for aircraft use Typical power consumption: 20W (40VA) Maximum power consumption: 36W (75VA) | |
| 90W DC/DC converter Nominal inputs: 12V, 24V Typical power consumption: 70W Maximum power consumption: 110W | |
| Environmental conditions | Operating temperature: +5°C to +35°C Note: The air flow for breathing produced by this therapy device can be higher than the temperature of the room. Under extreme ambient temperature conditions (40°C) the device remains safe. Operating humidity: 10 to 95% non-condensing Operating altitude: Sea level to 2,591 m; air pressure range 1013 hPa to 738 hPa Storage and transport temperature: -20°C to +60°C Storage and transport humidity: 10 to 95% non-condensing |
| Aircraft use | ResMed confirms that the device/s meets the Federal Aviation Administration (FM) requirements (RTCA/DO-160, section 21, category M) for all phases of air travel. |
| Electromagnetic compatibility | Product complies with all applicable electromagnetic compatibility requirements (EMC) according to IEC60601-1-2, for residential, commercial and light industry environments. It is recommended that mobile communication devices are kept at least 1 m away from the device. Information regarding the electromagnetic emissions and immunity of this ResMed device can be found on www.resmed.com, on the Products page under Service and Support. Click on the PDF file for your language. |
| IEC 60601-1 classification | Class II (double insulation), Type BF, Ingress protection IP21 |
VPAP ST-A technical specifications
| Mode pressure ranges | CPAP mode Set Pressure: 4-20 cm H2O S, ST, T and PAC modes IPAP: 4-30 cm H20; EPAP: 2-25 cm H2O iVAPS mode PS: 0-28 cm H20; EPAP: 2-25 cm H2O |
| Maximum single fault pressure | Maximum single fault steady state pressure: 30 cm H20—if pressure exceeded for > 6 sec; 40 cm H20—if pressure exceeded for >1 sec |
| Physical | Nominal dimensions (L x W x H): 153 mm x 172 mm x 86 mm Weight: 1.04 kg Housing construction: Flame retardant engineering thermoplastic Air outlet: 22 mm conical air outlet (complies with ISO 5356-1:2004) |
| Air filter | Hypoallergenic air filter: Acrylic and polypropylene fibers in a polypropylene carrier Standard air filter: Polyester non-woven fiber |
| Sound DECLARED DUAL-NUMBER NOISE EMISSION VALUES in accordance with ISO 4871:1996 | Pressure level (CPAP mode) With SlimLine air tubing: 26 dBA with uncertainty of 2 dBA as measured according to EN ISO 17510-1:2009 With Standard air tubing: 27 dBA with uncertainty of 2 dBA as measured according to EN ISO 17510-1:2009 With either SlimLine tubing and H5i: 28 dBA with uncertainty of 2 dBA as measured according or Standard air to EN ISO 17510-1:2009 |
| Power level (CPAP mode) With SlimLine air tubing: 34 dBA with uncertainty of 2 dBA as measured according to EN ISO 17510-1:2009 With Standard air tubing: 35 dBA with uncertainty of 2 dBA as measured according to EN ISO 17510-1:2009 With either SlimLine or Standard air tubing and H5i: 36 dBA with uncertainty of 2 dBA as measured according to EN ISO 17510-1:2009 | |
| Alarm volume settings | Low (nominal 56 dBA), Medium (nominal 68 dBA), High (nominal 80 dBA) |
| Supplemental oxygen | Recommended maximum supplemental oxygen flow: 15 L/min (CPAP, S, ST, T, PAC); 4 L/min (iVAPS mode) |
Air tubing technical specifications
| Air tubing | Material | Length | Inner diameter |
| ClimateLine heated air tubing | Flexible plastic and electrical components | 2 m | 15 mm |
| ClimateLine MAX heated air tubing | Flexible plastic and electrical components | 1.9 m | 19 mm |
| SlimLine air tubing | Flexible plastic | 1.8 m | 15 mm |
| Standard air tubing | Flexible plastic | 2 m | 19 mm |
| 3 m air tubing | Flexible plastic | 3 m | 19 mm |
| Heated air tubing temperature cut-out: ≤ 41°C | |||
Notes:
- The manufacturer reserves the right to change these specifications without notice.
- The temperature and relative humidity settings displayed for Climate Control are not measured values.
- Check with your clinician/service provider before using the SlimLine air tubing with devices other than the S9 or H5i.
- The electrical connector end of the heated air tubing is only compatible with the H5i air outlet and should not be fitted to the device or mask.
- When using the SlimLine or ClimateLine above 20 cm H2O, the device optimum performance may not be reached if used with an antibacterial filter. The device performance must be checked prior to prescribing the SlimLine for use with an antibacterial filter.
- The ClimateLine or ClimateLineMAX is designed only for use with the H5i.
Humidifier performance
The following settings have been tested at 22°C ambient temperature:
| Mask pressure cm | RH output % | Nominal system output AHa , BTPSb | ||
| H2O | Setting 3 | Setting 6 | Setting 3 | Setting 6 |
| 3 | 90 | 100 | 10 | 18 |
| 10 | 95 | 100 | 11.5 | 21 |
| 20 | 95 | 100 | 11 | 18 |
| 25 | 100 | 100 | 12 | 13.5 |
a. AH – Absolute Humidity in mg/L.
b. BTPS – Body Temperature Pressure Saturated.
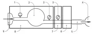
Pneumatic flow path

| 1. Flow sensor | 4. Mask | 7. Alarm module |
| 2. Blower | 5. Air tubing | 8. Device |
| 3. Pressure sensor | 6. H5i | 9. Inlet filter |
Flow (maximum) at set pressures
The following are measured at the end of the specified air tubing:
| Pressure, cm H2O | AutoSet CS and Standard air tubing, L/min | AutoSet CS, Hsi and Standard air tubing, L/min | AutoSet CS and SlimLine air tubing, L/min | AutoSet CS, Hsi and ClimateLine heated air tubing, L/min |
| 4 | 200 | 170 | 195 | 170 |
| 8 | 200 | 170 | 190 | 170 |
| 12 | 200 | 170 | 184 | 170 |
| 16 | 200 | 170 | 175 | 170 |
| 20 | 190 | 170 | 168 | 161 |
| 25 | 180 | 161 | 144 | 125 |
Displayed values
| Value | Range | Display resolution |
| Pressure sensor at air outlet | ||
| Mask pressure | 2–30 cm H2O | 0.1 cm H2O |
| Flow derived values | ||
| Leak | 0–200 L/min | 1 L/min |
| Tidal volume | 0–4000 mL | 1 mL |
| Respiratory rate | 0–50 BPM | 1 BPM |
| Minute ventilation | 0–30 L/min | 0.1 L/min |
| Ti | 0.1–4.0 sec | 0.1 sec |
| I:E ratio | 1:50–2:1 | 0.1 |
| Value | Accuracya | |
| Pressure measurementa | ||
| Mask pressure | ±0.5 cm H2O (+4% of measured value) | |
| Flow measurementsa | ||
| Leakb | ±12 L/min or 20% of reading, whichever is greater, at 0 to 60 L/min | |
| Tidal volumeb,c | ±20% | |
| Respiratory rateb,c | ±1 BPM | |
| Minute ventilationb,c | ±20% | |
a. Results are expressed at ATPD (Ambient Temperature and Pressure, Dry).
b. Accuracy may be reduced by the presence of leaks, supplemental oxygen, tidal volumes <100 mL
or minute ventilation <3 L/min.
c. Measurement accuracy verified as per EN ISO 10651-6:2009 for Home Care Ventilatory Support Devices (Figure 101 and Table 101).
Pressure accuracy
| Maximum static pressure variation at a cm H2O according to EN ISO 17510-1:2009 | |||||||||
| Without H5i | Standard air tubing | SlimLine air tubing | |||||||
| 9.89 cm H2O to 9.97 cm H2O | 9.76 cm H2O to 9.87 cm H2O | ||||||||
| With Hsi | 9.82 cm H2O to 9.98 cm H2O | 9.78 cm H2O to 9.88 cm H2O | |||||||
| Maximum dynamic pressure variation according to EN ISO 17510-1:2009 | |||||||||
| Pressure (cm H20) | 10 BPM | 15 BPM | 20 BPM | ||||||
| AutoSet CS and Standard air tubing without H5i / AutoSet CS and Standard air tubing with H5i | |||||||||
| 4 | 0.18 / 0.18 | 0.30 / 0.30 | 0.51 /0.51 | ||||||
| 8 | 0.21 / 0.20 | 0.26 / 0.24 | 0.38 / 0.36 | ||||||
| 12 | 0.21 /0.20 | 0.26 / 0.23 | 0.34 / 0.31 | ||||||
| 16 | 0.22 / 0.21 | 0.27 / 0.26 | 0.36 / 0.33 | ||||||
| 20 | 0.23 / 0.22 | 0.26 / 0.28 | 0.38 / 0.35 | ||||||
| 25 | 0.30 / 0.31 | 0.54 / 0.50 | 0.74 / 0.71 | ||||||
| Pressure (cm H20) | 10 BPM | is BPM | 20 BPM | ||||||
| AutoSet CS and SlimLine air tubing without H5i / AutoSet CS and SlimLine air tubing with H5i | |||||||||
| 4 | 0.22 / 0.20 | 0.28 / 0.29 | 0.47 / 0.53 | ||||||
| 8 | 0.23 / 0.19 | 0.32 / 0.29 | 0.41 /0.42 | ||||||
| 12 | 0.22 / 0.21 | 0.35 / 0.29 | 0.41 /0.45 | ||||||
| 16 | 0.22 / 0.23 | 0.41 / 0.33 | 0.44 / 0.50 | ||||||
| 20 | 0.24 / 0.27 | 0.37 / 0.34 | 0.48 / 0.50 | ||||||
| 25 | 031/031 | 050/054 | 0.78/0.84 | ||||||
Symbols
The following symbols may appear on your product or packaging.
Caution;
Read instructions before use; IP21 Protection against insertion of fingers and against vertically dripping water; IP20 Not drip proof;
Type BF equipment;
Class II equipment;
Start/Stop;
Manufacturer
European RoHS;
Batch code;
Catalogue number;
Serial number;
Direct current; ![]()
Lock/unlock;
China pollution control logo 1;
China pollution control logo 2; ;
European Authorised Representative;
Keep Dry;
Environmental information
WEEE 2002/96/EC is a European Directive that requires the proper disposal of electrical and electronic equipment. This device should be disposed of separately, not as unsorted municipal waste. To dispose of your device, you should use appropriate collection, reuse and recycling systems available in your region. The use of these collection, reuse and recycling systems is designed to reduce pressure on natural resources and prevent hazardous substances from damaging the environment.
If you need information on these disposal systems, please contact your local waste administration. The crossed-bin symbol invites you to use these disposal systems. If you require information on collection and disposal of your ResMed device please contact your ResMed office, local distributor or go to www.resmed.com/environment.
Servicing The VPAP ST-A device is intended to provide safe and reliable operation when operated in accwww.resmed.com/environmentordance with the instructions provided by ResMed. ResMed recommends that the VPAP ST-A device be inspected and serviced by an authorised ResMed Service Centre if there is any sign of wear or concern with device function. Otherwise, service and inspection of the devices generally should not be required during the five year design life of the device.
Servicing
The VPAP ST-A device is intended to provide safe and reliable operation when operated in accordance with the instructions provided by ResMed. ResMed recommends that the VPAP ST-A device be inspected and serviced by an authorised ResMed Service Centre if there is any sign of wear or concern with device function. Otherwise, service and inspection of the devices generally should not be required during the five year design life of the device.
Limited warranty
ResMed Pty Ltd (hereafter ‘ResMed’) warrants that your ResMed product shall be free from defects in material and workmanship from the date of purchase for the period specified below.
| Product | Warranty period |
| 90 days |
| Product | Warranty period |
| 6 months |
| 1 year |
| 2 years |
This warranty is only available to the initial consumer. It is not transferable.
If the product fails under conditions of normal use, ResMed will repair or replace, at its option, the defective product or any of its components.
This Limited Warranty does not cover: a) any damage caused as a result of improper use, abuse, modification or alteration of the product; b) repairs carried out by any service organization that has not been expressly authorized by ResMed to perform such repairs; c) any damage or contamination due to cigarette, pipe, cigar or other smoke; and d) any damage caused by water being spilled on or into an electronic device.
Warranty is void on product sold, or resold, outside the region of original purchase.
Warranty claims on defective product must be made by the initial consumer at the point of purchase.
This warranty replaces all other expressed or implied warranties, including any implied warranty of merchantability or fitness for a particular purpose. Some regions or states do not allow limitations on how long an implied warranty lasts, so the above limitation may not apply to you.
ResMed shall not be responsible for any incidental or consequential damages claimed to have resulted from the sale, installation or use of any ResMed product. Some regions or states do not allow the exclusion or limitation of incidental or consequential damages, so the above limitation may not apply to you.
This warranty gives you specific legal rights, and you may also have other rights which vary from region to region. For further information on your warranty rights, contact your local ResMed dealer or ResMed office.
WARNINGS
- Read the entire manual before using the device.
- Use the device only as directed by your physician or healthcare provider.
- Use the device only for the intended use as described in this manual. Advice contained in this manual should not supersede instructions given by the prescribing physician.
- If you notice any unexplained changes in the performance of the device, if it is making unusual or harsh sounds, if the device or the power supply are dropped or mishandled, if water is spilled into the enclosure, or if the enclosure is broken, discontinue use and contact your ResMed Service Center.
- Beware of electrocution. Do not immerse the device, humidifier, power supply or power cord in water. In the event of a spill, disconnect the device from the power supply and let the parts dry. Always unplug the device before cleaning and make sure that all parts are dry before plugging in the device.
- Explosion hazard—do not use in the vicinity of flammable anesthetics.
- Make sure the power cord and plug are in good condition and the equipment is not damaged.
- Keep the power cord away from hot surfaces.
- The device should only be used with masks (and connectors 1 ) recommended by ResMed, or by a physician or respiratory therapist. A mask should not be used unless the device is turned on. Once the mask is fitted, ensure that the device is blowing air. The vent hole or holes associated with the mask should never be blocked.
Explanation: The device is intended to be used with special masks (or connectors) which have vent holes to allow continuous flow of air out of the mask. When the device is turned on and functioning properly, new air from the device flushes the exhaled air out through the mask vent holes. However, when the device is not operating, insufficient fresh air will be provided through the mask, and the exhaled air may be rebreathed. Rebreathing of exhaled air for longer than several minutes can, in some circumstances, lead to suffocation. This applies to most models of CPAP or bilevel devices.
- Oxygen supports combustion. Oxygen must not be used while smoking or in the presence of an open flame.
- Always ensure that the device is turned on and airflow generated before the oxygen supply is turned on. Always turn the oxygen supply off before the device is turned off, so that unused oxygen does not accumulate within the device enclosure and create a risk of fire.
- Do not leave long lengths of air tubing around the top of your bed. It could twist around your head or neck while you are sleeping.
- Do not use electrically conductive or antistatic air tubings.
- Do not use the air tubing if there are any visible signs of damage.
- Only ResMed air tubing and accessories should be used with the device. A different type of air tubing or accessory may alter the pressure you actually receive, reducing the effectiveness of the treatment.
- Only use the ResMed 90W or 30W power supply unit. Use the 90W power supply unit to power the system comprising the device, H5i, air tubing, DC/DC converter and battery pack. The 30W power supply unit is designed to power the device only and recommended for travelling.
- Only ResMed products are designed to be connected to the module connector port. Connecting other devices could damage the device.
- Blocking the air tubing and/or air inlet of the device while in operation could lead to overheating of the device.
CAUTIONS
- Do not open the device enclosure. There are no user serviceable parts inside. Repairs and servicing should only be performed by an authorised ResMed service agent.
- Do not use bleach, chlorine, alcohol, or aromatic-based solutions, moisturizing or antibacterial soaps or scented oils to clean the device, humidifier or air tubing. These solutions may cause damage and reduce the life of these products.
- Incorrect system setup may result in incorrect mask pressure reading. Ensure the system is correctly set up.
- Be careful not to place the device where it can be bumped or where someone is likely to trip over the power cord.
- Make sure that the area around the device is dry and clean and clear of bedding, clothes or other objects that could block the air inlet or cover the power supply unit.
- Ensure that the device is protected against water if used outdoors. Enclose the device in the S9 travel bag for transport.
Manufacturer: ResMed Pty Ltd 1Elizabeth Macarthur Drive Bella Vista NSW 2153 Australia.
See www.resmed.com for other ResMed locations worldwide.
For patent information, see www.resmed.com/ip.
S9, H5i, ClimateLine, SlimLine, SmartStart and VPAP are trademarks of ResMed. S9, ClimateLine, SlimLine, SmartStart and VPAP
are registered in U.S. Patent and Trademark Office.
© 2017 ResMed. 368823/2 2017-12
Global leaders in sleep and respiratory medicine
www.resmed.com


















