Instruction Manual
INSTALLATION INSTRUCTIONS FOR CUSTOM PANEL ATTACHMENT UNDER COUNTER DISHWASHER STAINLESS STEEL TUB
IMPORTANT: Before installing your dishwasher, please use this instruction sheet as a supplement to the installation instructions.
Custom Panel Models Only
IMPORTANT: These instructions cover installation for a custom-made panel as well as an IKEA Voxtorp kitchen door front with a built-in handle. See the “Voxtorp Kitchen Door Front Installation” section.
Gather these additional tools and parts before starting the attachment of the custom panel. Read and follow the instructions provided in this Instruction Sheet.
Additional Tools Needed:
- 3/32″ drill bit.
- 5/16″ nut driver (for short screws)
- 6-lobe screwdriver (for long screws)OR
- Phillips screwdriver or 1/4″ nut driver used with the supplied 6-lobe adapter
Additional Parts Supplied with Custom Panel Models:
- 4 – Plastic studs (attached to each other by runners)
- 4 – Short screws (10-16 x 5 /8″ hex-head screws)
- 4 – Long screws (8-18 x 1 1 /2″ 6-lobe screws)
- 1 – Template (located inside Use and Care Guide bag assembly)
- 1 – Instruction sheet (located inside Use and Care Guide bag assembly)
- 1 – Phillips to 6-lobe adapter

NOTE: The screws supplied are used for only 3/4″ (19 mm) thick wooden panel. If the wooden panel is less than 3/4″ (19 mm) thick, customer must purchase screws locally. Make sure all these parts are included in the literature package.
If parts are not included, call 1-800-422-1230. In Canada, call 1-800-807-6777.
Custom Wood Panel Requirements
Custom panel dimensions
*This dimension is for a 4″ (102 mm) toekick. If the installation needs a higher toekick, adjust the height of the wood panel accordingly, except on models with fan-assisted dry. Fan models have a duct at the bottom of the door that would be exposed if you shorten the door panel for toekick heights above 4″ (102 mm). Toekick heights greater than 6″ (152 mm) are not recommended for this product.
Follow Steps Below:
A customer-supplied door panel and handle (together) must weigh no more than 16 lbs (7.3 kg) and must be made to specific dimensions. It is recommended that a cabinetmaker cut the customer-supplied panel because of the precise dimensions needed.
NOTES:
- The handle for the custom panel is not included.
- All mounting hardware supplied is for a 3/4″ (19 mm) thick wood panel. If a thinner wood panel or materials other than wood are used, it is the customer’s responsibility to obtain the proper length screws and adjust the pilot holes accordingly.
Custom Wood Kick Plate

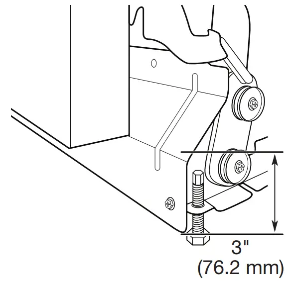
If a custom wood kick plate is to be installed over the dishwashers’ metal access panel, the height must not exceed 3″ (76 mm) from the bottom of the metal access panel. IMPORTANT: Use a moisture-resistant sealer on both sides and all edges of the panel and any wooden kick plates to avoid damage from moisture.
Custom Wood Panel Installation
NOTE: For instructions to install a Voxtorp kitchen door front, go to the “Voxtorp Kitchen Door Front Installation” section.
WARNING
Excessive Weight Hazard
Use two or more people to move and install the dishwasher.
Failure to do so can result in back or another injury.
- Stand dishwasher upright
Using 2 or more people, stand the dishwasher up.
NOTE: Do not install kick plate until instructed to do so in the dishwasher Installation Instructions. - Attach handle

Install the custom hardware handle(s) on the front of the wooden panel inside the dotted line.
IMPORTANT: If the handle is attached from the back of the custom panel, the screw holes should be countersunk for the heads of the screws to be flush with the panel.
If the handle is attached to the front of the custom panel, the screw lengths cannot exceed the panel thickness. - Panel template
Using the template provided, attach it to the backside of the custom panel with tape. Make sure that the center of the template is aligned with the center of the wooden panel and top of the template is aligned to the top face of the wooden panel. - Predrill custom panel holes
NOTE: Do not drill deeper than 5/8″ (16 mm) to keep from drilling through panel. Pilot hole depths given are for 3/4″ (19 mm) thick panel.
Mark 4 pilot holes on the wooden panel using the template provided. Predrill 4 pilot holes using a 3/32″ drill bit. Use tape to mark the drill bit to gauge hole depth. Drill pilot holes approximately 5/8″ (16 mm) into the custom panel. - Attach plastic studs
Using a 5/16″ nut driver, attach the 4 plastic studs to the wooden panel using the four 10-16 x 5/8″ hex-head (short) screws provided. - Attach custom panel
Align the studs on the custom wood panel to the keyhole slots on the door assembly. Ensure that all 4 plastic studs are engaged in the keyhole slots. Slide wood panel down until the top surface of the wooden panel is flush with the top of the door. - Align top edges of the panel to the door
Open the door and align the top edges. Use tape to mark a 3/32″ drill bit to gauge the hole depth of approximately 11/2″ (38 mm). Drill pilot holes into the top corners of the door using a hole-in liner as a guide.
- Install custom panel
Using a 6-lobe screwdriver, (or Phillips screwdriver or 1/4″ nut driver with the 6-lobe adapter), install two 8-18 x 11/2″ (long) screws in top corners to secure the custom wood panel in place. - Remove the short screws

Remove the short screws (3rd from top) on either side of the inner door panel. Use tape to mark a 3/32″ drill bit to gauge the hole depth of approximately 11/2″ (38 mm). Drill 2 pilot holes using the door liner hole as a guide into the panel. Install the 2 remaining long screws.
Voxtorp Kitchen Door Front Installation
WARNING
Excessive Weight Hazard
Use two or more people to move and install the dishwasher.
Failure to do so can result in back or another injury.
- Stand dishwasher upright
Using 2 or more people, stand the dishwasher up.
NOTE: Do not install kick plate until instructed to do so in the dishwasher Installation Instructions. - Panel template
Using the template provided, attach it to the backside of the Voxtorp kitchen door front. Make sure that the center of the template is aligned with the center of the door front and top of the template is aligned to the top face of the door front. - Predrill custom panel holes
NOTE: Do not drill deeper than 5/8″ (16 mm) to keep from drilling through the panel. Pilot hole depths given are for a 3/4″ (19 mm) thick panel.
Mark 4 pilot holes on the door front using the template provided. Predrill 4 pilot holes using a 3/32″ drill bit. Use tape to mark the drill bit to gauge hole depth. Drill pilot holes approximately 5/8″ (16 mm) into the door front. - Attach plastic studs
Using a 5/16” nut driver, attach the 4 plastic studs to the door front using the four 5/16″ hex-head (short) screws provided. - Attach custom panel
Align the studs on the door front to the keyhole slots on the door assembly. Ensure that all 4 plastic studs are engaged in the keyhole slots. Slide the door front down until the top surface of the door front is flush with the top of the door. - Remove the short screws
Remove the short screws (2nd and 3rd from top) on either side of the inner door panel. Use tape to mark a 3/32″ drill bit to gauge the hole depth of approximately 11/2″ (38 mm). Drill 4 pilot holes using the door liner hole as a guide into the door front. Install the 4 remaining long screws.
W10885892B
©2016.
All rights reserved. Todos los derechos reservados.
®IKEA is a registered trademark of Inter-Ikea Systems B.V.

Using the template provided, attach it to the backside of the custom panel with tape. Make sure that the center of the template is aligned with the center of the wooden panel and top of the template is aligned to the top face of the wooden panel.
NOTE: Do not drill deeper than 5/8″ (16 mm) to keep from drilling through panel. Pilot hole depths given are for 3/4″ (19 mm) thick panel.
Using a 5/16″ nut driver, attach the 4 plastic studs to the wooden panel using the four 10-16 x 5/8″ hex-head (short) screws provided.
Align the studs on the custom wood panel to the keyhole slots on the door assembly. Ensure that all 4 plastic studs are engaged in the keyhole slots. Slide wood panel down until the top surface of the wooden panel is flush with the top of the door.
Open the door and align the top edges. Use tape to mark a 3/32″ drill bit to gauge the hole depth of approximately 11/2″ (38 mm). Drill pilot holes into the top corners of the door using a hole-in liner as a guide.
Using a 6-lobe screwdriver, (or Phillips screwdriver or 1/4″ nut driver with the 6-lobe adapter), install two 8-18 x 11/2″ (long) screws in top corners to secure the custom wood panel in place. 
Using 2 or more people, stand the dishwasher up.
Using the template provided, attach it to the backside of the Voxtorp kitchen door front. Make sure that the center of the template is aligned with the center of the door front and top of the template is aligned to the top face of the door front.
NOTE: Do not drill deeper than 5/8″ (16 mm) to keep from drilling through the panel. Pilot hole depths given are for a 3/4″ (19 mm) thick panel.
Using a 5/16” nut driver, attach the 4 plastic studs to the door front using the four 5/16″ hex-head (short) screws provided.

















