MASTER DC 61 Hybrid Infrared Heater

INFORMATION ON SAFETY
(WARNINGS)
IMPORTANT: This air heater has been designed for mobile and temporary professional applications. It has not been designed for domestic use nor for ther-mal comfort of human. IMPORTANT: This appliance is not suitable for use by persons (including children) with reduced physical, sensory and mental capacities or with lack of experi-ence or knowledge unless supervised by a person re-sponsible for their safety. Children must be supervised to make sure they do not play with the appliance. DANGER: Suffocation by carbon monoxide can be fatal.
The first symptoms of suffocation by carbon monoxide are similar to those of flu with headache, light-headedness and/or nausea. These symptoms could be caused by the faulty functioning of the heater. IF THESE SYMPTOMS OCCUR, GO OUTDOORS IMMEDIATELY and have the heater repaired by the technical support centre.
REFUELLING:
- Personnel appointed to carry out refuelling must be qualified and fully familiar with the manufacturer’s instructions and current regulations on how to refuel heaters safely.
- Only use the type of fuel specified on the heater’s identification plate.
- Before refuelling, turn off the heater and wait for it to cool down.
- The tanks used to store the fuel must be stored in a separate place.
- Fuel tanks must be kept at a minimum distance from the heater, according to current standards.
- The fuel must be stored in an area where the floor does not allow it to penetrate or drip onto flames under-neath it, which may ignite the fuel.
- The fuel must be stored in accordance with cur-rent regulations.
SAFETY:
- Never use the heater in areas with petrol, paint solvents or other highly flammable vapours.
- Comply with all local legislation and current regu-lations when using the heater.
- Heaters used near tarpaulins, curtains or other similar covering materials must be a safe distance from them. It is advised to use fire-proof covering material.
- Only use in well-ventilated areas. Set-up a suit-able opening in line with current standards, with the purpose of introducing fresh air from outdoors.
- Power on the heater only with a current which has the voltage and frequency values specified on the heater’s identification plate.
- Only use suitably earthed 3-wire extension leads.
- Recommended safety distances between the heater and flammable substances: front output 2.5 m (8 ft); on the side, at the top and at the back = 1.5 m (5 ft).
- Avoid fire hazards by placing the hot or function-ing heater on a steady level surface.
- Keep animals at a safe distance from the heater.
- Disconnect the power supply or battery from the heater, when not in use.
- When it is controlled by a thermostat, the heater can turn on at any time.
- Never use the heater in frequently used rooms nor in bedrooms.
- Never move, handle, refuel or conduct mainte-nance on the heater when it is hot, connected to the mains, battery-powered or in operation.
- Keep the hot parts of the heater a suitable dis-tance from inflammable or thermolabile materials (in-cluding the power supply cable).
- If the power cable or battery is damaged, they must be replaced by a technical support centre to pre-vent any risk (dispose of the damaged material accord-ing to current regulations).
- Make sure that the heater is turned off before connecting the power cable and/or inserting the re-chargeable battery, in order to avoid risks.
- Use only the original rechargeable batteries rec-ommended by the manufacturer. The use of non-origi-nal rechargeable batteries can cause damage, injuries, burns, explosions, electric shocks, poisoning, or en-danger life.
- Keep the disconnected rechargeable battery at a safe distance from paper clips, coins, keys, nails, screws and any other small metal objects that could cause a short-circuit. A short-circuit between the con-tacts of the rechargeable battery can cause damage, injuries, burns, explosions or endanger life.
- Incorrect use of the rechargeable battery can cause the battery fluid to leak. Avoid all contact with the battery. In the event of accidental contact, rinse your-self thoroughly with water. Seek immediate medical at-tention if the fluid comes into contact with your eyes. The fluid in the rechargeable battery can cause skin irritation or burns.
- Incorrect use of the rechargeable battery can cause the battery to release fumes. Avoid inhaling these fumes at all costs. Ensure a good flow of fresh air and seek immediate medical attention in the event of accidental inhalation of fumes. The fumes can irritate the airways.
- In order to avoid serious risk, do not attempt to open or disassemble the rechargeable battery.
- In order to avoid serious risk, protect the re-chargeable battery against heat (for example, constant direct sunlight or fire) water, humidity, etc.
- Use the specific rechargeable battery only for this heater, in order to avoid hazardous overloading.
- se only original rechargeable batteries with the voltage rating indicated on the technical data plate af-fixed to the heater. The use of other types of recharge-able battery (like imitation batteries, regenerated bat-teries, batteries from other brands, etc.) poses the risk of injuries and/or explosions.
- Use only original battery chargers to charge the rechargeable battery. Each battery must be charged using its specific charger in order to avoid the risks of fire and explosion.
- Use only the power supply methods recom-mended in this manual. It is prohibited to change the power supply method when the heater is running, in order to avoid serious damage.►1.2.27. When the heater is managed by the thermostat or switches from power supply to battery power cable, the heater may turn off and go in stand-by mode (the display shows “[ ]”), pay close attention because the heater may au-tomatically turn on again at any time and may cause serious damage to property and people.
UNPACKING
- Remove all packaging material used to deliver the heater and dispose of it in compliance with current standards.
- Remove all items from the packaging.
- Check for any damage incurred during transport. If the heater appears damaged, immediately inform the dealer from whom it was purchased.
DESCRIPTION OF ARTICLES
- POWER CABLE (where present):
THE POWER SUPPLY CABLE DOES NOT CHARGE THE BATTERY.
(Pic. 5) The heater can be connected to the mains by the power supply cable. Check the cable regularly for wear, in order to avoid serious damage. Observe all the warning messages relating to the power cable in this manual. - BATTERY (when applicable):

(Pic. 6)
NOTES: DEPENDING ON THE BATTERY CAPACITY (MEASURED IN Ah), IT IS NECESSARY TO USE AN ORIGINAL BATTERY CHARGER AND OF ADEQUATE POWER.
The heater can operate autonomously using an original Li-ion rechargeable battery, without a mains connection. The rechargeable battery is provided only partially charged. It is advisable, therefore, to fully charge the battery before initial use. Use only original batteries to power the heater. Observe all the warning messages relating to the battery in this manual. - BATTERY CHARGER (when applicable):

(Pic. 7) The battery charger is designed to charge orig-inal lithium-batteries. The operating parameters for the battery charger (see the data plate affixed on the battery charger) must be observed. Use the battery charger in completely dry, dust-free environments to charge only the original rechargeable batteries used to power this heater. The battery charger is designed to automatically charge the rechargeable battery when connected (Pic. 8).
A LED light on the battery charger provides detailed diagnostics during the charging phase (Pic. 9).
Observe all the warn-ing messages relating to the battery charger in this man-ual.
FUEL
WARNING: The heater only works with DIESEL or KEROSENE.
Only use diesel or kerosene to avoid any fire or explosion hazard. Never use petrol, naphtha, solvents for paints, al-cohol or other highly inflammable fuels.
Use non-toxic, anti-freeze additives in case of very low temperatures.
OPERATING PRINCIPLE
The air needed to ensure proper combustion is produced by the rotation of a fan inside the burner. The air flow comes out from the burner sleeve and mixes with the fuel that is sprayed at a high pressure by a nozzle. The noz-zle-sprayed fuel is guaranteed by an electric pump that sucks the fuel from the tank and pushes it at high pressure to the nozzle.
OPERATION
WARNING: Carefully read the “SAFETY INFORMATION” before switching on the heater.
IMPORTANT: After the first time the heater does not switch on, make sure there is fuel in the tank, make sure the fuel filter is clean and make sure that the heater is positioned on a flat, stable surface. IMPORTANT: This is a target infrared heater. Heats objects, not air. IMPORTANT: To change type of power supply from battery to cable and vice-versa, turn off the heater by strictly following the entire procedure to avoid serious damages.
- IGNITING THE HEATER:
- Follow all the safety instructions.
- Check if there is any fuel in the tank.
- Close the tank cap.
- Connect the power plug to the mains or charged battery (SEE VOLTAGE IN “TECHNICAL DATA TABLE”) (Pic. 10-11).


- Turn the “ON/OFF” switch to “ON” (|) (A Pic. 3). The heater should turn on within a few seconds. If the heater does not start, see the troubleshooting paragraph (Par. 10).
PLEASE NOTE: IF THE HEATER SWITCHES OFF DUE TO LACK OF FUEL, TURN OFF THE HEATER, TOP UP THE TANK AND TURN IT ON AGAINST (SEE PAR. 5.1.).
TURNING OFF THE HEATER:
CAUTION: DO NOT REMOVE VOLTAGE OR DISCONNECT THE POWER CABLE OR REMOVE THE BATTERY UNTIL THE HEATER HAS COOLED COMPLETELY (approx. 5 min.).
- Turn the “ON/OFF” switch to “OFF” (0) (A Pic. 3).
- CONNECTING THE ROOM THERMOSTAT (optional):
CAUTION: THE ROOM THERMOSTAT (OPTIONAL) ONLY WORKS WHEN THE HEATER IS POWERED BY THE POWER CABLE. CAUTION: WHEN THE HEATER IS MANAGED BY THE ROOM THERMOSTAT (OPTIONAL), THE HEATER’S SWITCH-OFF AND ON IS AUTOMATIC.
Remove the plug connected to the heater and connect the room thermostat (optional) (C Pic. 3).
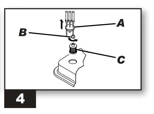
FUEL FILTER CLEANING
THE FILTER MAY NEED TO BE CLEANED DEPENDING ON THE QUALITY OF THE FUEL USED.
- Remove the plug positioned on the tank (A Pic. 4).
- Remove the filter from the tank.
- Loosen the nut (B Pic. 4).
- Remove the filter (C Pic. 4).
- Clean the filter with clean fuel; make sure you do not damage it.
- Put the filter back in the tank.
STORAGE AND TRANSPORT
ORDER TO KEEP AND/OR TRANSPORT THE HEATER IN THE BEST WAY, THE FOLLOWING PROCEDURE MUST BE FOLLOWED:
- Empty the fuel from the tank.
- If you notice any residue, pour clean fuel into the tank and rinse again.
- Close the tank cap and dispose of the fuel appropriately according to the Standards in force.
- in order to keep the heater in the best way possible, it must be kept on a level surface to prevent the escape of fuel and in a dry place away from any possible ex-ternal threats.
DISPLAY ERRORS
| ERROR | CAUSE | SOLUTION |
| F0 | OPERATION ERROR | |
| 1. The “ON/OFF” switch is turned “ON” (|) when the heater is plugged in | 1. After disconnecting the heater, see that the switch is in the “OFF” (0) position, plug the heater in and turn the switch “ON” (|) | |
| F1 | PHOTOCELL ERROR | |
| 1. No fuel 2. Fuel is contaminated
3. Photocell is dirty or damaged 4. Fuel filter is dirty 5. Ignition error | 1. Turn the switch “OFF” (0), refill the fuel tank 2. Turn the switch “OFF” (0) empty and refill the fuel tank. Clean the filter using clean fuel, do not damage the filter (SEE PARA. 6) 3. Contact the technical service center 4. SEE PARA. 6 5. Contact the technical service center | |
| F2 | TEMPERATURE CONTROL SENSOR ERROR | |
| 1. Interrupted cable 2. Sensor is damaged | 1. Contact the technical service center 2. Contact the technical service center | |
| F3 | THERMOSTAT ERROR | |
| 1. Internal heater overheating 2. Antitilting sensor intervent | 1. Turn the heater off, wait until it is cooled down 2. Place the heater on a level and stable surface | |
| F4 | INCORRECT VOLTAGE | |
| 1. Incorrect voltage | 1. Check voltage of your electric supply system | |
| FF | NO SWITCH-ON AFTER THREE ATTEMPTS | |
| 1. No fuel 2. Dirty fuel filter 3. Dirty or defective photocell 4. Dirty or defective nozzle 5. Anti-tilting sensor trip | 1. Contact the technical service center 2. Contact the technical service center 3. Contact the technical service center 4. Contact the technical service center 5. Contact the technical service center | |
| PF | FLAT BATTERY | |
| 1. Flat battery | 1. Recharge the battery | |
| [ ] | HEATER IN STAND-BY | |
| 1. Thermostat connected
2. Switching from cable to battery power supply | 1. Thermostat temperature set below the room tempera- ture 2. Automatic re-ignition | |
PREVENTIVE MAINTENANCE SCHEDULE
| COMPONENT | MAINTENANCE FREQUENCY | MAINTENANCE PROCEDURE |
| Fuel tank | Clean every 150-200 hours of operation or when necessary | Empty and rinse with fresh fuel |
| Nozzle | Clean or replace once per season or when ne- cessary | Contact the technical service center |
| Photocell | Clean once per season or when necessary | Contact the technical service center |
| Fuel filter | Clean or replace twice per season or when ne- cessary | Clean the fuel filter with clean fuel |
| Ignition device | Clean or replace every 1.000 hours of operation, or when necessary | Contact the technical service center |
| Fan blades | Clean when necessary | Contact the technical service center |
WARNING: BEFOR INITIATING ANY REPAIR OR MAINTENANCE PROCEDURE UNPLUG THE FEEDER CA-BLE AND MAKE SURE THAT THE HEATER IS COOLED DOWN.
PROBLEM IDENTIFICATION
| PROBLEM | POSSIBLE CAUSE | POSSIBLE SOLUTION |
| Heater doesn’t run | 1. Heater blocked 2. The power switch is in the “OFF” (0) position 3. No power | 1. Restart the heater 2. Turn the switch “ON” (|) 3A. Plug the feeder cable properly into the socket 3B. Check the power supply network 3C. Contact the technical service center 3D. Flat battery 4. Contact the technical service center 5A. Restart the heater 5B. Identify the display error 5C. Contact the technical service center 6. Calibrate the thermostat by setting it higher than ambient temperature 7A. Wait at least ten minutes then try to run ignition again 7B. Contact the technical service center 8. Contact the technical service center |
| 4. Feeder cable unplugged 5. Blocked control card | ||
| 6. Wrong thermostat setting | ||
| 7. Temperature sensor override | ||
| 8. Fuse damaged | ||
| Motor/pump runs but the flame does not start | 1. No fuel
2. Ignition device is dirty 3. Fuel filter is dirty 4. Nozzle is dirty 5. Photocell is dirty, damaged or installed improperly 6. Foreign substances present in the tank 7. Electrodes are used up or placed at an improper distance | 1. Turn off the heater, refill the fuel tank then restart the heater 2. Contact the technical service center 3. Clean the filter using clean fuel 4. Contact the technical service center 5. Contact the technical service center
6. Empty and refill the fuel tank with clean fuel 7. Contact the technical service center |
| Fan blocked or spins too slowly | 1. Engine damaged | 1. Contact the technical service center |




A LED light on the battery charger provides detailed diagnostics during the charging phase (Pic. 9).
Observe all the warn-ing messages relating to the battery charger in this man-ual.





















