LeGer 1049464654 Lena Gercke Upholstered Bedstead

Assembly instructions









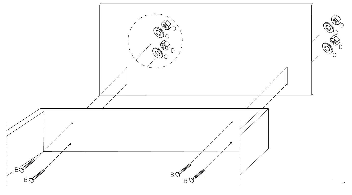
Watch Out! Do not over tighten













Watch Out! Do not over tighten


Download manual
Here you can download full pdf version of manual, it may contain additional safety instructions, warranty information, FCC rules, etc.