Instruction Manual
AGU-SP1
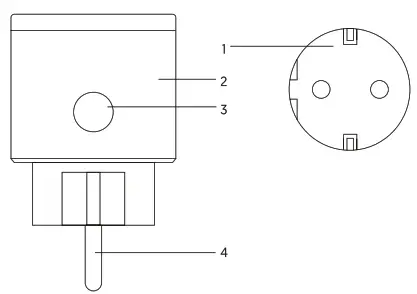
PRODUCT INFORMATION

- Socket Panel
- Smart Plug
- ON/OFF Button
- Flame Resistant Material
Note: ON/OFF button can be used as a restore button, long-press can change the flashing speed and will restore your smart plug to factory defaults. Only do this if you are sure you want to erase all your settings.
PARAMETERS
Model number: AGU-SS1
Rated voltage: AC100-240V
Rated current: 16 A (max)
AC frequency: 50/60Hz
Working temp.: -20° – 60°C
Wi-Fi frequency: 2.4GHz only
Maximum total power output: 3680W
WHAT’S IN THE BOX
1x Smart Plug
1x User manual
APP DOWNLOAD & INSTALLATION
Quick download APP by scanning QR code as follows
https://agunto.com/app-download/
Or search for ‘Agunto’ in Apple App Store or Google Play Store, or scan the QR code above to download.
The camera only supports 2.4GHz WiFi, not support 5GHz WiFi router. Make sure the router is a 2.4GHz connection.
Your provider can easily switch this for you
REGISTER AND LOG IN
Open the APP, if you haven’t an account, click on the ‘Sign Up’. (Figure 1) enter the registration screen, and enter a e-mailadres. If registration is completed, then log in APP.
ADD DEVICE
In the APP home page, click on ‘Add device’. (Figure 2). Select ‘Electricity’ (See: Figure 3) to add a device. Select ‘AGU-SP1’.

CONNECT DEVICE
Step 1. To get started attach the smart plug to the power outlet. Make sure Bluetooth is enabled on your smartphone.
Step 2. Wait for the blue light to blink rapidly or turn off the smart plug after 10 seconds, then press and hold the button for 5 seconds to make the light blink (follow the app instructions).
Step 3. In the app, confirm that the light is flashing fast and click next.
Step 4. The app will now search for a nearby device. Once found, press the plus sign to add the device.
Step 5. Now select your Wi-Fi network and enter the corresponding password and press next.
Step 6. The app will now add the smart plug, once added you can control the device through the app.
Note: You may see a prompt to add the device when you open the app. If so, click “Add.” Enable Bluetooth at all times.
FUNCTIONS
Power
Tap on the smart plug to turn the device on and off.
At the top of the screen you will see two values: one value with electricity per day and the other value per month.
Schedule
Schedule the device “lights” to turn on when you wake up or to automatically turn on when you get home. Turn devices on and off at different times to let people know that someone is home while you are away.
Energy monitoring
Understanding your energy consumption is very important. On this screen, you get an insight into your energy consumption per month or per year. This screen also offers you a possibility to view the log data of the smart plug: When was the device turned on? And when was the device switched off?
Settings
On the settings page, you can adjust the startup mode after the smart plug has been offline. You will also find the overload switch here, you can turn it on or off. This is a safety device and shuts off the power when overloaded.
SAFETY INFORMATION
The device is recommended for use indoors and in a dry location only, the power outlet shall be used within it’s published outlet rating on the instructions. Please contact seller for replacement if there is any damage caused by transportation. Please plug in the socket in proper condition and away from children. Please plug in the socket fully while using tor safety concern. Please do not disassemble or install the socket, otherwise, there may cause the product damage or security risks.
Argento is a new brand in the field of smart homes. Argento stands for convenience, usability and vitality. It opens for you the doors to a complete smart home. We show you that a smart home does not have to be a luxury but is affordable for everyone. A smarter home simplifies life at home.
AGUNTO
AGUNTO.COM
THE NETHERLANDS
[email protected]
POWERED BY: HOMEVITAAL
Google, Android and Google Play are trademarks of Google LLC
Apple, the Apple logo, are trademarks of Apple inc., registered
in the U.S and other countries and regions. App Store is a
service mark of Apple inc.

















