Digital Paging Station
User Manual

IMPORTANT REMARK
CAUTION
RISK OF ELECTRIC SHOCK DO NOT OPEN
WARNING: SHOCK HAZARD – DO NOT OPEN
AVIS: RISQUE DE CHOC ELECTRIQUE – NE PAS OUVRIR
The lightning flash with arrowhead symbol, within an equilateral triangle, is intended to alert the user to the presence of uninsulated “dangerous voltage” within the product’s nclosure that may be of sufficient magnitude toconstitute a risk of electric shock to persons.
The exclamation point within an equilateral triangle is intended to alert theuser to the presence of important operating and maintenance (servicing)instructions in the iterature accompanying the appliance.
WARNING (If applicable): The terminals marked with symbol of “
” may be of sufficient magnitude to constitute a risk of electric shock. The external wiring connectedto he terminals requires installation by an instructed person or the use of ready-madeleads or cords.
WARNING: To prevent fire or shock hazard, do not expose this equipment o rain ormoisture.
WARNING: An apparatus with Class I construction shall be connected to a mainssocket-outlet with a protective earthing connection.
IMPORTANT SAFETY INSTRUCTIONS
- Read these instructions.
- Keep these instructions.
- Heed all warnings.
- Follow all instructions.
- Do not use this apparatus near water.
- Clean only with dry cloth.
- Do not block any ventilation openings. Install in accordance with the manufacturer’s instructions.
- Do not install near any heat sources such as radiators, heat registers, stoves, or other apparatus (including amplifiers) that produce heat.
- Do not defeat the safety purpose of the polarized or grounding type plug. A polarized plug has two blades with one wider than the other. A grounding type plug has two blades and a third grounding prong. The wide blade or the third prong are provided for your safety. If the provided plug does not fit into your outlet, consult an electrician for replacement of the obsolete outlet.
- Protect the power cord from being walked on or pinched particularly at the plugs, convenience receptacles, and at the point where they exit from the apparatus.
- Only use attachments/accessories specified by the manufacturer.
- Unplug the apparatus during lightening sorts or when unused for long periods of time.
- Refer all servicing to qualified personnel. Servicing is required when the apparatus has been damaged in any way, such as power supply cord or plug is damaged, liquid has been spilled or objects have fallen into the apparatus, the apparatus has been exposed to rain or moisture, does not operate normally, or has been dropped.
- Disconnecting from mains: Switching off the POWER switch all the functions and light indicators of the amplifier will be stopped, but fully disconnecting the device from mains is done unplugging the power cord from the mains input socket. For this reason, it always shall remain readily operable.
- Equipment is connected to a socket-outlet with earthing connection by means of a power cord.
- The marking information is located at the bottom of apparatus.
- The apparatus shall not be exposed to dripping or splashing and that no objects filled with liquids, such as vases, shall be placed on apparatus.
NOTE: This equipment has been tested and found to comply with the limits for a Class A digital device, pursuant to part 15 of the FCC Rules. These limits are designed to provide reasonable protection against harmful interference when the equipment is operated in a commercial environment. This equipment generates, uses, and can radiate radio frequency energy and, if not installed and used in accordance with the instruction manual, may cause harmful interference to radio communications. Operation of this equipment in a residential area is likely to cause harmful interference in which case the user will be required to correct the interference at his own expense.
WARNING: This product must not be discarded, under any circumstance, as unsorted urban waste. Take to the nearest electrical and electronic waste treatment centre.
NEEC AUDIO BARCELONA, S.L. accepts no liability for any damage that may be caused to people, animal or objects due to failure to comply with the warnings above.
IMPORTANT NOTE
Thank you for choosing our Ecler eMPAGE digital paging station! It is VERY IMPORTANT to carefully read this manual and to fully understand its contents before any connection in order to maximize your use and get the bestperformance from this equipment.
To ensure optimal operation of this device, we strongly recommend that its maintenance be carried out by our authorised Technical Services.
Ecler eMPAGE comes with a 3-year warranty.
INTRODUCTION
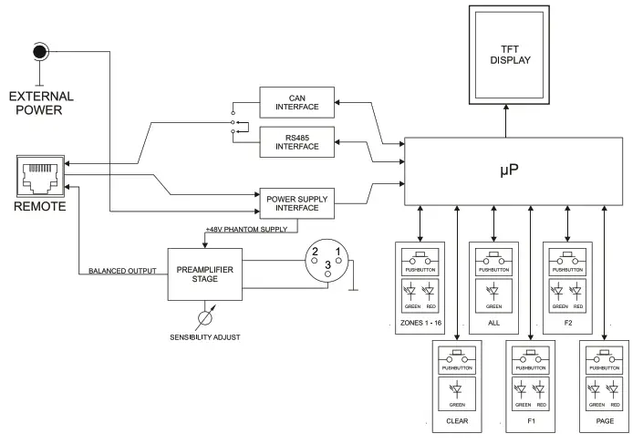
eMPAGE is a desktop paging station compatible with HUB series DSP digital zone managers and with MIMO88, MIMO88SG and MIMO1212SG digital audio matrixes (Note: from February 2019). With its buttons, LED indicators, electronic ink technology zone name display and gooseneck microphone, it is possible to select the destination zones for voice messages, find out if these zones are already controlled elsewhere, capture the voice message and send it in real time to the destination zones.
The main features of the eMPAGE station are:
- 20 mechanical keys with integrated LED status indicator (paging zone selection management)
- 1 mechanical key with adjacent LED indicator (message activation, PAGE key)
- Electronic ink display (shows paging zone names)
- Gooseneck microphone, with standard XLR connector
- Management of up to 16 paging zones
- RJ45 connector for single CAT5 or higher cabling (point-to-point), including power, audio output signal (picked up by the microphone) and digital control bus between the HUB/eMIMO1616 unit (RS-485 bus) or MIMO matrices (CAN bus) and the eMPAGE station
- Compatible with CAN bus communication (supporting in this mode MIMO88, MIMO88SG and MIMO1212SG EclerNet matrices)
- Connector for backup power supply (optional)
- Two eMPAGE units, with different or equal priority levels, can work simultaneously on the same HUB/eMIMO1616 matrix
- Four eMPAGE units, with different or equal priority levels, can work simultaneously on the same MIMO88 matrix
- Three eMPAGE units, with different or equal priority levels, can work simultaneously on the same MIMO88SG or MIMO1212SG matrix Programming of paging station(s) functionality from the web application embedded in the HUB/eMIMO1616 matrix: enabled paging zones, chime melodies, priorities, programmable keys, etc.
INSTALLATION
5.1. Installation in HUB series DSP zone managers and eMIMO1616
5.1.1. Installation and wiring
To install an eMPAGE unit, connected to a HUB/eMIMO1616 device (RS-485 bus connection), follow these steps:
- Remove the back cover of the unit by unscrewing the screws that hold it to the chassis to gain access to the connectors inside:

- RJ45 connector (1): connect a CAT5 or higher cable from this connectordirectly (point to point wiring) to the PAGER A or PAGER B port of the HUB/eMIMO1616 unit.
- Power connector (2): connect a backup power supply (WP24-PSU model) if necessary (see maximum cable length and recommendations below).

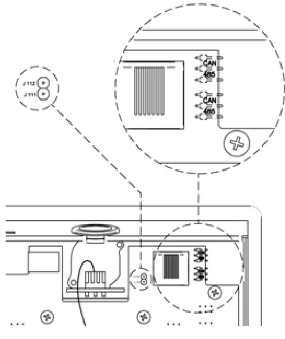
- Check that both jumpers shown in the diagram bellow are positioned in the 485 position.

- Screw the back cover back onto the unit chassis.
- Insert the supplied microphone into the XLR connector on the front panel
- Program the operation and settings of the paging console unit from the PAGERS/DUCKERS tab of the HUB/eMIMO1616 web application (see HUB/eMIMO1616 web application manual)
- For maximum sound quality and minimum background noise, use a screwdriver to set the ADJ control on the side of the unit to a high level (increase it by turning clockwise) and the GAIN control on the rear panel of the HUB/eMIMO1616 (the one associated with the PAGER A or B port to which the station is connected) to a low level. You can start from a state with ADJ to maximum and GAIN to minimum and adjust them following the above indications until you get the desired signal levels to broadcast the paging messages in the destination zones.

5.1.2 Maximum distances and recommendations
The maximum lengths for CAT5 or higher cabling connecting a station to an HUB/eMIMO1616 unit depend on the AWG category of the cable used. Examples:
| AWG24 Cable | AWG23 Cable | AWG22 Cable |
| Max. length 90 meters | Max. length110 meters | Max. length140 meters |
If the cable is too long, the paging station may work properly but noise will be superimposed on the signal picked up by the microphone. The solution to this possible problem is to supply the paging station with an external power supply. WP24-PSU model. The digital data exchange between the HUB/eMIMO1616 unit and the eMPAGE paging station, using an external power supply and good quality CAT5E cable, has been successfully tested with a wiring distance of 600 meters.
5.2. Installation with MIMO88, MIMO88SG or MIMO1212SG matrixes
5.2.1. Installation and wiring
To install an eMPAGE unit, connected to a MIMO88, MIMO88SG or MIMO1212SG unit, in CAN bus mode, follow these steps:
- Remove the back cover of the unit by unscrewing the screws that hold it to the chassis to gain access to the connectors inside:
RJ45 connector (1): connect a CAT5 or higher cable from this connector to the REMOTE 1 or REMOTE 2 port of the MIMO88, or to the REMOTE port of MIMO88SG or MIMO1212SG matrices. If other eMPAGE or WPTOUCH digital devices must be connected to the same port, in daisy chain topology, the included RJ45 to screw terminals adapter can be used
REMOTE ports in the back panel of MIMO matrices
eMPAGE RJ45 connector pinout diagram, CAN bus mode - Connect as well the audio from the paging console microphone (Audio signal + and – / OUT+ and -) to the + and – terminals of one balanced audio input in the MIMO matrix (ground is common with CAN bus data ground). This will be the input used in the PAGERS/DUCKERS module under control by the paging station
- Power connector (2): if necessary, connect a backup power supply (WP24-PSU model) (see section 5.2.2. Compatibility terms and external power supply requirements for further details)
Check that both jumpers shown in the diagram bellow are positioned in the CAN position. If the unit is the last one in the CAN bus wiring line, insert as well J111J112 jumper, 120 ohm terminal resistor ON (closed contact position)
- Screw the back cover back onto the unit chassis.
- Insert the supplied microphone into the XLR connector on the front panel
- Program the operation and settings of the paging console unit from the PAGERS/DUCKERS tab of the MIMO matrix in the EclerNet Manager project (see EclerNet Manager manual for extended information)
![]() | ![]() |
For maximum sound quality and minimum background noise, use a screwdriver to set the ADJ control on the side of the unit to a high level (increase it by turning clockwise) and the GAIN control in the affected input of the MIMO matrix in the EclerNet Manager project (the input to which the audio of the paging station microphone is connected to) to a low level. You can start from a state with ADJ to maximum and GAIN to minimum and adjust them following the above indications until you get the desired signal levels to broadcast the paging messages in the destination zones.

5.2.2. Compatibility terms and external power supply requirements
It’s possible to connect several eMPAGE units to the same MIMO matrix, considering the following conditions:
Each eMPAGE unit needs a minimum DC supply of 8V (measured locally, at the unit’s DC input terminals) to work properly. A console with a measured DC supply (coming rom the MIMO88, MIMO88SG or MIMO1212SG matrix REMOTE port DC wiring) lower than 8 VDC will always need anexternal WP24-PSU power supply
- Generally speaking, the REMOTE port(s) of a MIMO matrix can directly feed DC supply to a maximum of 2 eMPAGE units, but when wiring distances are really long,the inrush current peak when the system is powered ON may result on the eMPAGE units not working (blocked, unsuccessful power up sequence) and CAN bus errors detected in the MIMO matrix (registered in the log report in EclerNet Manager):
o Cable qualities and conditions may vary a lot and make it difficult to predict with precision whether a distant eMPAGE unit may work properly or not with direct DC supply from the MIMO matrix REMOTE port
o The DC voltage measurement (minimum 8 VDC) will be the only trustworthy method to troubleshoot a dubious case and decide to apply a solution - To resolve the above limitation, two possible countermeasures may be applied
o Option 1 – 100% reliable, always working: the addition of external power supplies (WP24-PSU model) connected to the eMPAGE units which do need it. eMPAGE units with direct supply from the REMOTE ports of the MIMO matrix and others with external power supply can coexist in the same CAN bus wiring line
o Option 2: use the spare NC (Not Connected) twisted pair in the Cat5 cable to double the DC supply line wiring from the REMOTE port in the MIMO matrix to the eMPAGE unit, thus reducing the wiring line resistance and DC voltage drop along it
Note 1: a hot connection of a new eMPAGE unit to a working MIMO system (with the system powered ON) may result in a reboot sequence of other digital remote controls attached to it, taking some seconds to recover the normal working conditions of them all.
Note 2: WP24-PSU is the optional external power supply compatible with the eMPAGE paging console. WP-PSU model is the one compatible with the MPAGE16 paging station and WPTOUCH digital control. Never use one of these two power supplies with devices not compatible with it.
OPERATING THE UNIT
6.1 Sending Messages
Sending voice messages via an eMPAGE paging station is done according to the following procedure:
- Visual check of the available/busy status of the zones (LED indicators)
- Select the message destination zones by pressing the corresponding keys
- Press and hold the PAGE key for the duration of the voice message
- Release the PAGE key
- Press the CLR (CLEAR) key if you want to cancel the last zone selection.
However, this process and its functional results when sending messages depend on the programming of the messaging module (PAGERS/DUCKERS) in the HUB/eMIMO1616, MIMO88, MIMO88SG or MIMO1212SG matrix unit to which the eMPAGE paging station is connected. This programming is done through the web application embedded in HUB/eMIMO1616 or with EclerNet Manager when used with MIMO matrices. Refer to the HUB/eMIMO1616 Web Application manual / EclerNet Manager user manual for more information.
6.2 Display And User Keys
The electronic ink display on the front panel shows the names of the zones enabled for paging. These names are automatically imported from the names assigned to the outputs of the HUB/eMIMO1616 or MIMO matrix unit to which the eMPAGE paging station is connected. In the case of zones not enabled for paging, the display will show “—”.
There are 21 user keys on the front panel of the unit:
- Keys for selecting the message destination zones. They behave like a “toggle”switch, i.e. successive keystrokes activate and deactivate the selection of a zone In the HUB/eMIMO1616 web application or EclerNet Manager application (for MIMO matrices), the zones you can send your messages to (zones enabled for each paging station connected to an HUB/eMIMO1616 or MIMO unit) are programmed, so that non-enabled zone keys are unavailable from these keys in the paging station.
- “F1” and “F2” keys: zone group selection keys
- “ALL” key: selects all zones that are enabled for the paging station (equivalent to pressing individually all enabled-zone keys)
- “CLR” key: disables all selected zones, leaving the paging station with no zones selected.
- “PAGE” key: when pressed and held down, it activates the voice message transmission function to the selected destination zones. If a “ding-dong” or “chime” melody has been programmed in the paging station, it is emitted when the PAGE key is pressed, and it is advisable to wait until it is finished before starting the voice message.
Note: all functions of the above keys are configured from the HUB/eMIMO1616 web application or EclerNet Manager application (for MIMO units).
6.3 Led Indicators
Two-colour LED indicators for zone selection keys (1 to 16). Possible states and their meaning:
- Unlit: free zone (not used by another paging station or priority module, if any)
- Lit in green: zone selected by the paging station to broadcast the next message
- Lit in red: zone not selected in the paging station, but hold by another paging station or module with higher priority
- Flashing in orange: zone selected by the paging station, but hold by another paging station or module with higher priority
- Lit in orange: the broadcast of a message has been interrupted by another pagingstation or priority module, totally or partially, and this lit LED warns the user that the message has not been fully broadcasted in that destination zone (regardless of whether it has been broadcasted in other zones or not). The LED status is reset by pressing the corresponding zone selection key, the ALL key or the CLR key.
- Temporarily flashing in green: indicates a zone not enabled for selection from the paging station
- Unlit: free zone (not used by another paging station or priority module, if any)
- Lit in green: zone selected by the paging station to broadcast the next message
- Lit in red: zone not selected in the paging station, but hold by another paging station or module with higher priority
- Flashing in orange: zone selected by the paging station, but hold by anotherpaging station or module with higher priority
- Lit in orange: the broadcast of a message has been interrupted by another paging station or priority module, totally or partially, and this lit LED warns the user that the message has not been fully broadcasted in that destination zone (regardless of whether it has been broadcasted in other zones or not). The LED status is reset by pressing the corresponding zone selection key, the ALL key or the CLR key.
- Temporarily flashing in green: indicates a zone not enabled for selection from the paging station
Two-colour LED indicator on the PAGE key. Lights while holding down the PAGE key to indicate that the paging station is in message send mode:
- Lit in orange: when you start sending a message (pressing and holding the PAGE key), it indicates that the chime melody is playing (as determined with the web control application), then turns green when the chime has finished playing. Thus, the speaker knows when the chime ends and can start its message without the risk of being covered by the chime (*)
- Lit in green: paging function activated, with voice message broadcasting to selected destination zones
- Lit in red: the page station is not operational (not activated from the HUB/eMIMO1616 unit, not connected to the control bus, etc.)
Note: the LED is also permanently lit in orange when updating the unit’s firmware from the web application or EclerNet Manager, accompanied by a message “UPGRADING FIRMWARE” on the electronic ink display.
Green LED indicator for ALL and CLR keys:
- Lit in green: while the keys are pressed, Green LED indicator for zone selection group keys, F1 and F2:
- Off: the function assigned to the key is disabled (OFF)
- Lit in green: function assigned to the key is enabled (ON)
- Flashing in green: key function not available (nothing assigned to the key fromthe web application)
6.4 Priorities for Sending Messages
From the HUB/eMIMO1616 web application, you can set a certain priority level, from 1 (highest priority) to 4 (lowest priority), for each of the 4 available priority modules, including 2 PAGER/DUCKER modules (PAGER type is always associated with paging stations) and the other 2 only DUCKER modules (triggered by priority signal level
detection).
In the MIMO88 matrix there are 4 PAGER/DUCKER modules available (and 4 priority levels), and in the MIMO88SG and MIMO1212SG matrices, 3 of them (and 3 riority levels).
In a configuration with two paging stations having different priority levels, the paging station with the highest priority may interrupt the station with the lowest priority if messages are sent simultaneously to the same destination zones (i.e. while the zones are busy). This interruption can be total or partial in terms of message duration, and only affects those zones where there is overlap. electing a zone (by pressing keys 1 to 16) does not imply taking them busy – for that it is necessary to select it and to press the AGE key. Thus, while the PAGE key is held down on the highest priority paging station and the message is transmitted to the destination zones it selected, the following ccurs on the lowest priority station:
- LED indicators light up red for the zones to which the highest priority paging station is transmitting the message, and which were not also selected on the lowest priority station. When the PAGE key is released on the priority paging station, the red LEDs go out.
- LED indicators flash orange for the zones to which the highest priority paging station is transmitting the message and which were selected on the lowest priority station. When the PAGE key is released on the priority paging station, the LEDs light up green.
- If the non-priority paging station is broadcasting a message (or starts broadcasting while the priority station is broadcasting its message), it will be interrupted in all zones where the priority station is broadcasting (overlapping) and will continue to broadcast in the other zones (not overlapping). The LED indicator for zones where the message has been interrupted (or not broadcast) will light up orange.
After the priority message has been broadcast, the LED for that zone will remain lit in orange, alerting the user that the message has not been broadcast in its entirety in hat destination zone (whether or not it has been broadcast in other zones). This status is reset by pressing any of the following keys:
- Key of the zone in question, selected (green)
- ALL key, leaving this zone and all others selected (green)
- CLR key, deselecting all zones
When the two paging stations have the same priority level, the first one that holds a zone (or several) has priority for the duration of its message, holding the zone(s) up to heir release (end of the message). If, while this paging station is broadcasting a message, the other station tries to broadcast another message to a zone hold by the first tation (overlapping zones and zones hold by the first station), the LED indicator for zones where the message has not been broadcast will light up orange. After the priority essage as been broadcast, the LED for that zone will lit orange, alerting the user that the message has not been broadcast in its entirety in that destination zone (whether or not it as eenbroadcast in other zones). This status is reset by pressing any of the following keys:
- Key of the zone in question, selected (green)
- ALL key, leaving this zone and all others selected (green)
- CLR key, deselecting all zones
As long as you press PAGE, it is not possible to change the zone selection, and therefore the HUB/eMIMO1616 / MIMO unit will ignore all messages related to zone election. The functions of the ALL, CLEAR, F1 and F2 keys will also be ignored during this time.
NOTES
- When connecting an eMPAGE unit to an HUB/eMIMO1616 matrix, the eMPAGE unit will check whether its firmware needs to be updated, and if so, automatically performs update, without external manual intervention. This process takes a few seconds to be carried out, while the message “UPGRADING FIRMWARE” will be displayed, accompanied by the orange LED on the PAGE key.
- When connecting an eMPAGE paging station to the PAGER port of a running (powered on) HUB/eMIMO1616 unit, it is normal to have to restart all other connected eMCONTROL1 stations and controls, a process that takes a few seconds to complete, and after which all eMCONTROL1 stations and controls become fully functional.
- Press the CLR key for 5 seconds to display the unit name and firmware version.
PART NAMES

- XLR female connector
- Paging zone selection keys
- Electronic ink display
- CLR key
- ALL key
- F1 key
- F2 key
- Paging indicator LED
- PAGE key
- Kensington security slot
- RJ45 connector access
TECHNICAL SPECIFICATIONS
Analogue
| Microphone type Polar pattern Microphone frequency response Phantom Output level | Removable gooseneck condenser microphone (eMCN1) Unidirectional 50Hz – 18KHz (-10dB) 48VDC, always ON With eMCN1 Mic: -5dBV @ 94dB SPL with ADJ MAX -10dBV @ 94dB SPL with ADJ MID -20dBV @ 94dB SPL with ADJ MIN |
| Digital | |
| Paging zones Control keys IndicatorsDisplay Communication | 16 F1, F2, All, Clear Green LED on All and Clear keys, Bicolor LED on other keys Active Matrix Electrophoretic Display – 296×128 Pixels RS485 and CAN, internally selectable by jumper |
| Supply | |
| Nominal Power supply Minimum External Power supply Maximum Power Consumption | From RJ45 Remote input: 12VDC From External Input: 24VDC From RJ45 Remote Input: 8VDC From External Input: 8VDC From RJ45 Remote Input: 180mA From External Input: 180mA @ 8VDC, 80mA @ 24VDC |
| Others | |
| External power supply Connector Dimensions Weight Included accessories Optional accessories | Optional, 24VDC (min. 80mA) Recommended external power supply: Ecler WP24-PSU RJ45 remote port 150x50x180mm / 5.9”x2.0”x7.1” (WxHxD, microphone excluded) 900 g. / 1.98 lb. Windscreen for microphone, jumper for internal connection and RJ45 to Euroblock adapter External power supply: WP24-PSU |
BLOCK DIAGRAM

CONFIGURATION DIAGRAM

CAN / 485 jumpers: 485 position for eMIMO series (factory default) / CAN position for MIMO series
J111-J112: insert jumper to enable 120Ω terminal line resistor (just required in CAN bus mode, for MIMO series operation)
PACKAGE CONTENTS
- eMPAGE unit
- Condenser gooseneck microphone
- RJ45 to screw terminals adapter (CAN bus daisy chain adapter)
- User quick guide
- Warranty card
All product characteristics are subject to variation due to production tolerances.
NEEC AUDIO BARCELONA S.L. reserves the right to make changes or improvements in the design or manufacturing that may affect these product specifications.
For technical queries contact your supplier, distributor or complete the contact form on our website, in Support/Technical requests.
Motors, 166‐168 08038 Barcelona
Spain ‐ (+34) 932238403
[email protected]
www.ecler.com



RJ45 connector (1): connect a CAT5 or higher cable from this connector to the REMOTE 1 or REMOTE 2 port of the MIMO88, or to the REMOTE port of MIMO88SG or MIMO1212SG matrices. If other eMPAGE or WPTOUCH digital devices must be connected to the same port, in daisy chain topology, the included RJ45 to screw terminals adapter can be used
REMOTE ports in the back panel of MIMO matrices
eMPAGE RJ45 connector pinout diagram, CAN bus mode
Check that both jumpers shown in the diagram bellow are positioned in the CAN position. If the unit is the last one in the CAN bus wiring line, insert as well J111J112 jumper, 120 ohm terminal resistor ON (closed contact position)





















