170 842
AK410-CB
120 V~ 60 Hz 78 W
Read and follow all the instructions before using this product.
Chartwell
52 in Ceiling Fan
Owner’s Manual
_________________


ongratulations on your purchase of a Home Decorators Collection ceiling fan, Your new fan will be a beautiful addition to your home, and will keep you comfortable throughout the year.
The Home Decorators Collection Fan Company offers a wide variety of ceiling fans. We offer combinations of wood and brass finishes, solid designer colors, and our unique glass and crystal designs.
A large selection of light fixtures and light kits is also available. Ask your dealer about other accessories that will allow you to further customize your fan.
We’re certain that your Home Decorators Collection fan will provide you with many years of comfort, energy savings and satisfaction. To ensure your personal safety and to maximize the performance of your fan, please read this manual thoroughly.
Chartwell by Home Decorators Collection®
CEILING FAN
Brand: Home Decorators Collection
Model: 170 842 (AK410-CB)
120 V ~ 60 Hz 78 W
(Energy Consumption): 87.3 Wh
Importer: SERVICIOS HOME DEPOT, S. DE R.L. DE C.V.
Ricardo Margain 605, Santa Engracia, San Pedro Garza García, Nuevo León, C.P.
66267 Tel. / Phone: 800 004 6633
Read and follow all the instructions of security and operation before using this product
Cont. 1 Fan
Assembly required
Made in: China
52″ CHARTWELL
Ceiling Fan by HDC
Thank you for purchasing our ceiling fan. This product has been manufactured with the highest standards of safety and quality.
Date Purchased _____________________
Store Purchased _____________________
Model No. ________170 842 (AK410-CB)_
Serial No. __________________________
Vendor No. _________________548810__
UPC _________________840059610078__
Safety Rules – Read and Save These Instructions
1. To reduce the risk of electric shock, insure electricity has been turned off at the circuit breaker or fuse box before beginning.
2. All wiring must be in accordance with the National Electrical Code “ANSI/NFPA 70” and local electrical codes. Electrical installation should be performed by a qualified licensed electrician.
3. The outlet box and support structure must be securely mounted and capable of reliably supporting a minimum of 35 lbs (15.9 kg) or less. Use only UL-listed outlet boxes marked “FOR FAN SUPPORT”.
4. The fan must be mounted with a minimum of 7.55 ft (2.3m) clearance from the trailing edge of the blades to the floor.
5. Avoid placing objects in the path of the blades.
6. To avoid personal injury or damage to the fan and other items, be cautious when working around or cleaning the fan.
7. Do not use water or detergents when cleaning the fan or fan blades. A dry dust cloth or lightly dampened cloth will be suitable for most cleaning.
8. After making electrical connections, spliced conductors should be turned upward and pushed carefully up into outlet box. The wires should be spread apart with the grounded conductor and the equipment-grounding conductor on one side of the outlet box and ungrounded conductor on the other side of the outlet box.
9. All set screws must be checked and retightened where necessary before installation.
10. The appliance is not to be used by persons (including children) with reduced physical, sensory or metal capabilities, or lack of experience and knowledge, unless they have been given supervision or instruction. Children should be supervised to ensure that they do not play with the appliance.
11. Instructions for the use of the apparatus according with NOM-024-SCFI, are provided with the apparatus.
WARNING
TO REDUCE THE RISK OF ELECTRIC SHOCK, THIS FAN MUST BE INSTALLED WITH AN ISOLATING WALL CONTROL / SWITCH.
WARNING
TO REDUCE THE RISK OF PERSONAL INJURY, DO NOT BEND THE BLADEARMS (ALSO REFERRED TO AS FLANGES), WHEN INSTALLING THE BRACKETS, BALANCING THE BLADES OR CLEANING THE FAN. DO NOT INSERT FOREIGN OBJECTS IN BETWEEN ROTATING FAN BLADES.
CAUTION
TO REDUCE THE RISK OF PERSONAL INJURY, USE ONLY THE SCREWS PROVIDED WITH THE OUTLET BOX.
NOTE
CHANGE OR MAINTAIN LED LIGHT KIT SHALL BE PERFORMED BY THE MANUFACTURER, ITS SERVICE AGENT OR DULY QUALIFIED PERSONS.
Unpacking Your Fan
Unpack your fan and check the contents. You should have the following items:

1. Set of blades (5) 7. 20 watt LED Light kit
2. Canopy assembly 8. Glass shade
3. Ball/downrod assembly 9. Receiver
4. Coupling cover 10. Remote control
5. Fan motor assembly 11. 23A 12V battery
6. Blade arms (5)
WARNING
DO NOT INSTALL OR USE FAN IF ANY
PART IS DAMAGED OR MISSING.
CALL TOLL FREE 800-004-6633.

A. Blade Attachment Hardware
(16 Screws, 16 Fiber Washers)
B. Blade Attachment Hardware
(11 Screws with Lock Washers)
C. Electrical Hardware
(3 Plastic Wire Nuts)
D. Extension cord
This fan includes a 20W LED light. The purchaser should return the fan to the original store of purchase during the warranty period in case of the light not working.
Installing Your Fan
Tools Required
Phillips screwdriver, straight slot screwdriver, step ladder and wire cutters.

Mounting Options
If there isn’t an existing NOM listed mounting box, then read the following instructions. Disconnect the power by removing fuses or turning off circuit breakers.
Secure the outlet box directly to the building structure. Use appropriate fasteners and building materials. The outlet box and its support must be able to fully support the moving weight of the fan (at least 35 lbs). Do not use plastic outlet boxes.
WARNING
TO REDUCE THE RISK OF FIRE, ELECTRIC SHOCK OR PERSONAL INJURY, MOUNT FAN ONLY TO AN OUTLET BOX MARKED ACCEPTABLE FOR FAN SUPPORT AND USE THE MOUNTING SCREWS PROVIDED WITH THE OUTLET BOX. OUTLET BOX COMMONLY USED FOR THE SUPPORT OF LIGHTING FIXTURE MAY NOT BE ACCEPTABLE FOR FAN SUPPORT AND MAY NEED TO BE REPLACED. CONSULT A QUALIFIED ELECTRICIAN IF IN DOUBT.
Figures 1~3 are examples of different ways to mount the outlet box.
Figure 1
- Outlet box
Figure 2
- Outlet box
Figure 3
- Provide strong support
- Ceiling mounting plate
- Recessed outlet box
NOTE: You may need a longer downrod to maintain proper blade clearance when installing on a steep, sloped ceiling. The maximum angle allowable is 18 ° . If the canopy touches downrod, remove the decorative canopy bottom cover and turn the canopy 180 ° before attaching the canopy to the mounting plate.
Figure 4
- Outlet box
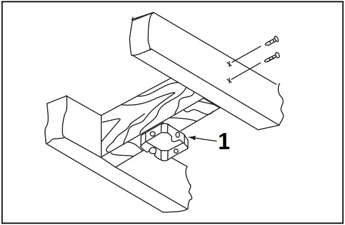
To hang your fan where there is an existing fixture but no ceiling joist, you may need an installation hanger bar as shown in Figure 4 (available at any Home Depot store).
Hanging the Fan
REMEMBER to turn off the power. Follow the steps below to hang your fan properly.
1. Remove the canopy bottom cover from the canopy by turning the cover counterclockwise. (Figure 5)
2. Remove the mounting bracket from the canopy by loosening canopy mounting screws a half turn from the screw head. Next, turn the canopy counterclockwise to remove the mounting bracket from the canopy. (Figure 5)
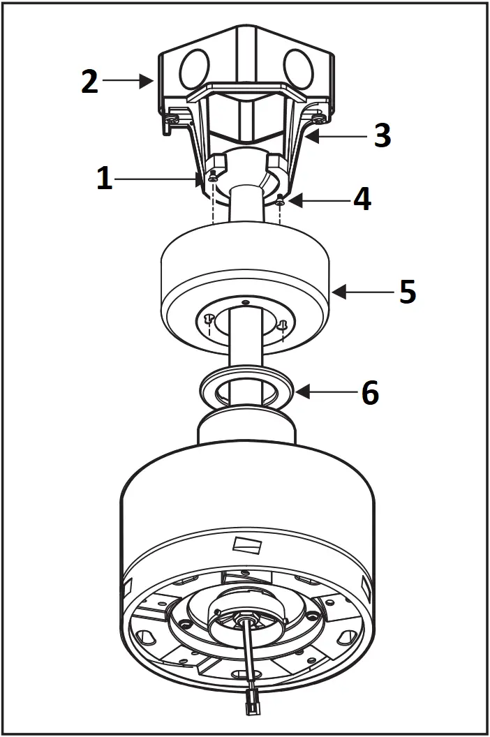
3. Remove the cotter pin and clevis pin, and loosen the two collar set screws from the fan motor assembly collar. (Figure 6)
4. Take out the setscrew located in the hanger ball, lower the hanger ball and remove the cross pin. Remove the hanger ball from the hanger ball/downrod assembly. (Figure 6)
5. Remove the ground lead from the downrod assembly. (Figure 6)
NOTE: If a longer downrod is needed, take out the screw located in the hanger ball, lower the hanger ball and remove the pin, remove all 3 pieces from the downrod and assemble them onto the new longer downrod before proceeding step 3. (The longer downrod is available at any Home Depot store)
6. Carefully feed the motor wires up through the downrod. Thread the downrod into the collar. Align the holes and replace the clevis pin and cotter pin. Tighten the two collar setscrews. (Figure 8)
7. Slip coupling cover, canopy bottom cover, and canopy onto the downrod. Carefully reinstall the hanger ball onto the downrod and reinstall the ground lead onto the downrod, being sure that the cross pin is in the correct position, the setscrew is tightened and wires are not twisted. (Figure 8)
WARNING
FAILURE TO PROPERLY INSTALL COTTER PIN AS NOTED IN STEP 6 COULD RESULT IN FAN LOOSENING AND POSSIBLY FALLING.
Figure 5
- Mounting Bracket
- Ceiling Canopy
- Canopy Bottom Cover
Figure 6
- Cross pin
- Ground lead
- Downrod
- Clevis pin
- Set screws
- Cotter pin
- Motor collar
- Hanger ball
- Set screw
Figure 8
- Extension cord
- Ground lead
- Hanger ball
- Downrod
- Ceiling canopy
- Motor wires
- Coupling cover
- Cotter pin
- Tighten screws firmly
- Clevis pin
- Motor collar
- Pin in locked position
- Canopy Bottom Cover
- Set screw
- Cross pin
Installing Fan to the Electrical Box
WARNING
TO REDUCE THE RISK OF FIRE, ELECTRIC SHOCK OR OTHER PERSONAL INJURY. MOUNT FAN ONLY TO AN OUTLET BOX OR SUPPORTING SYSTEM MARKED ACCEPTABLE FOR FAN SUPPORT AND USE THE MOUNTING SCREWS PROVIDED WITH THE OUTLET BOX.
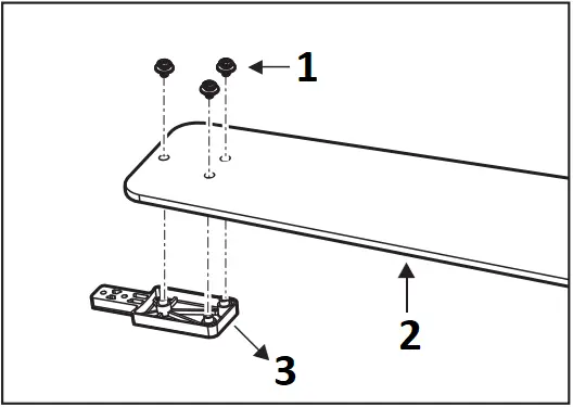
1. Pass the 120-volt supply wires through the center hole in the ceiling mounting bracket as shown in Figure 9.
2. Attach the mounting bracket on the outlet box by sliding the mounting bracket over the screws provided with the outlet box. (Figure 9)
3. Securely tighten the two mounting screws. (Figure 9)
4. Carefully lift the fan assembly up to the ceiling mounting bracket and seat the hanger ball in the mounting bracket socket. Make sure the tab on the mounting bracket socket is properly seated in the groove in the hanger ball (Figure 10). This will help to balance the ceiling fan.
Figure 9
- NOM listed outlet box
- 120V Wires
- Ceiling mounting bracket
- Mounting screws (Supplied with outlet box)
Figure 10
- Tab
- Groove
WARNING
THE TAB IN THE RING MUST REST IN THE GROOVE OF THE HANGER BALL AS FIGURE 10. FAILURE TO PROPERLY SEAT THE TAB IN THE GROOVE COULD CAUSE DAMAGE TO WIRING.
Making the Electrical Connections
NOTE
THE FREQUENCIES ON YOUR RECEIVER AND REMOTE CONTROL HAVE BEEN PRESET AT THE FACTORY. BEFORE INSTALLING THE RECEIVER, MAKE SURE THE DIP SWITCHES ON THE RECEIVER AND REMOTE CONTROL ARE SET TO THE SAME FREQUENCY. THE DIP SWITCHES ON THE REMOTE CONTROL ARE LOCATED INSIDE THE BATTERY COMPARTMENT.
NOTE
THE BATTERY WILL WEAKEN WITH AGE AND SHOULD BE REPLACED BEFORE LEAKING TAKES PLACE AS THIS WILL DAMAGE THE REMOTE CONTROL. DISPOSE OF THE USED BATTERY PROPERLY AND KEEP THE BATTERY OUT OF THE REACH OF CHILDREN.
Setting the Code on the Remote: (Figure 11)
1. Remove the battery cover on the back of the remote control by pressing firmly on the arrow and sliding the cover off.
2. Slide the code switches to your choice of either up or down. The factory setting is up.
3. Install one 23A 12V batteries (included).
4. Replace the battery cover on the remote control.
Setting the Code on the Receiver: (Figure 11)
5. Slide the code switches on the receiver to the same positions as set on the remote control.
Figure 11
- Remote control
- Receiver
6. After checking the switches, insert the receiver into the mounting bracket with the flat side of the receiver facing the ceiling. (Figure 12)
Figure 12
- Receiver
- Ceiling Mounting Bracket
7. Make wire connections from the fan to the
receiver. (Figure 13)
From Fan To Receiver
3-Pin Connector …………. 3-Pin Connector
8. Make wire connections from the receiver and fan to the outlet box as follows, using the wire nuts. (Figure 13)
From Receiver To Outlet Box
Black Wire “AC in L” ….. Black Wire (Hot)
White Wire “AC in N” …..White Wire (Neutral)
From Fan and Receiver To Outlet Box
Green Wires*…………….. Green or Bare Wire (Ground)
* There are two green grounding leads: one from the mounting bracket and one from the hanger ball/downrod assembly.
9. Turn the wire nut connections upward, spreading them apart so the green (ground) and white wires will be on one side of the outlet box and the black and blue wires will be on the other side. Carefully tuck the connections up into the outlet box.
NOTE
FAN MUST BE INSTALLED AT A MAXIMUM DISTANCE OF 20 FEET FROM THE TRANSMITTING UNIT FOR PROPER SIGNAL TRANSMISSION BETWEEN THE TRANSMITTING UNIT AND THE FAN’S RECEIVING UNIT.
WARNING
CHECK TO SEE THAT ALL CONNECTIONS ARE TIGHT, INCLUDING GROUND, AND THAT NO BARE WIRE IS VISIBLE AT THE WIRE NUTS. EXCEPT FOR THE GROUND WIRE.
NOTE
DO NOT CUT THE YELLOW ANTENNA WIRE.
Figure 13
- SUPPLY CIRCUIT
- Black
- White
- Ground Conductor
- Outlet Box
- Antenna
- Blue
- Green
Finishing the Fan Installation
WARNING
MAKE SURE THE TAB ON THE MOUNTING BRACKET PROPERLY SITS IN THE GROOVE IN THE HANGER BALL BEFORE ATTACHING THE CANOPY TO THE BRACKET BY TURNING THE HOUSING UNTIL IT DROPS INTO PLACE.
1. Make sure connections are neatly tucked into the ceiling outlet box. (Figure 14)
2. Slide the canopy up to the mounting bracket and place the key holes on the canopy over the loose canopy mounting screws on the mounting bracket. Turn the canopy clockwise until it locks in place at the narrow section of the key holes, and tighten the two canopy mounting screws.
Figure 14
- Mounting screw
- Outlet box
- Ceiling mounting bracket
- Mounting screw
- Canopy
- Canopy Bottom Cover
NOTE
ADJUST THE CANOPY MOUNTING SCREWS AS NECESSARY UNTIL THE CANOPY AND CANOPY BOTTOM COVER ARE SNUG.
Attach the canopy bottom cover to the canopy by inserting the screw heads into the key slots in the canopy bottom cover and rotating it clockwise.
Figure 15
- Mounting screw
- Canopy
- Canopy Bottom Cover
Attaching the Fan Blades
1. Attach the blades to the blade arms using the three blade attachment screws and fiber washers. Start a screw and fiber washer into the blade arm, but do not tighten. (Fig. 16)
2. Repeat for the two remaining blade attachment screws and fiber washers. (Fig. 16)
3. Tighten each screw securely starting with the center screw. Make sure the blade is straight. (Fig. 16)
4. Repeat these steps for the remaining blades. (Fig. 16)
Figure 16
- Screws with fiber washers
- Blade
- Blade arm
WARNING
TO REDUCE THE RISK OF PERSONAL INJURY, DO NOT BEND THE BLADE ARMS WHILE INSTALLING, BALANCING THE BLADES, OR CLEANING THE FAN. DO NO INSERT FOREIGN OBJECTS BETWEEN ROTATING FAN BLADES.
5. Insert the blade through the slot in the housing. Align the holes in the blade arm and the fan motor assembly and secure with a blade arm attachment screws wit lock washers. (Figure 17)
6. Repeat this procedure with the remaining blades.
Figure 17
- Motor assembly
- Blade
- Blade arm
- Slot
- Screws
Blade Balancing
All blades are grouped by weight during assembly. The following procedure should correct most fan wobble. Check after each step.
1. Verify that all blades and blade bracket screws are secure (most fan wobble problems are caused by loose parts). Once the fan is properly installed, run the ceiling fan for 10 minutes to let the fan self-adjust.
2. If wobble occurs after running the fan for 10 minutes, verify blade level using the following process:
– Select a point on the ceiling above the tip of one of the blades, then select any fan blade and measure from the center of the selected blade to the point on the ceiling (as shown in Figure 18). Rotate the fan until the next blade is positioned and repeat the measurement using the same point from the ceiling for every blade. Measurement deviations should be within 1/8″.
– If all deviations are less than 1/8″ and the fan continues to wobble, please call Customer Service (800-004-6633) to order a complimentary Blade Balancing Kit.
– If deviation is greater than 1/8″ , please call Customer Service (800-004-6633) to order complimentary replacements of your brackets.
Figure 18
- Touching ceiling
Installing the LED Light Kit
NOTE
BEFORE STARTING INSTALLATION, DISCONNECT THE POWER BY TURNING OFF THE CIRCUIT BREAKER OR REMOVING THE FUSE AT FUSE BOX. TURNING POWER OFF USING THE FAN SWITCH IS NOT SUFFICIENT TO PREVENT ELECTRIC SHOCK.
1. While holding the 20W LED light kit under the fan motor assembly, snap together the wire connection plugs :
– White to white – Black to blue
2. Position the notches on the inner edge of the 20W LED light kit so they match the tabs on the outside of the rim. Carefully lift the 20W LED light kit inside and secure it to the fan by turning the 20W LED light kit clockwise until comfortable. DO NOT OVERTIGHTEN. (Figure 19)
3. Raise glass shade up against the LED light kit, and secure it to fan by turning glass clockwise until snug. DO NOT OVERTIGHTEN. (Fig. 19)
Figure 19
- Wire Connector
- Glass Shade
- 20W LED light kit
- Notches
- Tabs
Operation
1.
– Press and release the
button to turn the fan on or off.
2.
– Press and release 1 time – turns the fan on high speed.
– Press and release 2 times – turns the fan on medium speed.
– Press and release 3 times – turns the fan on low speed.
– Press and release 4 times – turns the fan off.
3.
– Press and release the
button to turn the light on or off. Press and hold the
button to activate the dimmer function.
4.
– Correlated Color Temperature (CCT) changing.
NOTE
THE DEFAULT TEMPERATURE OF THE CEILING FAN LIGHT IS 3000K (WARM WHITE).
Push and release the button to cycle through the three color temperature options.
Option 1: 3000K (Soft White).
Option 2: 4000K (Bright White).
Option 3: 5000K (Daylight).
Figure 20
- Remote control
Installing the Remote Control Holder
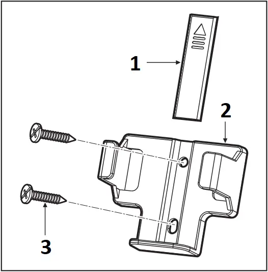
1. Attach the remote control holder with the two remote control holder mounting screws.(Figure 21)
2. Replace the remote control holder cover into remote control holder.
Figure 21
- Control holder cover
- Remote control holder
- Screws
Speed settings for warm or cool weather depend on factors such as the room size, ceiling height, number of fans, etc.
The reverse switch is located on the top of motor housing. Slide the switch to the left for warm weather operation. Slide the switch to the right for cool weather operation.
NOTE
WAIT FOR FAN TO STOP BEFORE CHANGING THE SETTING OF THE SLIDE SWITCH.
Warm weather – (Counter-Clockwise direction) A downward air flow creates a cooling effect.(Fig. 22) This allows you to set your air conditioner on a higher setting without affecting your comfort.
Cool weather – (Clockwise direction) An upward airflow moves warm air off the ceiling area. (Fig. 23) This allows you to set your heating unit on a lower setting without affecting your comfort.
Figure 22
Figure 23
Care of Your Fan
Here are some suggestions to help you maintain your fan.
1. Because of the fan’s natural movement, some connections may become loose. Check the support connections, brackets, and blade attachments twice a year. Make sure they are secure. (It is not necessary to remove fan from ceiling.)
2. Clean your fan periodically to help maintain its new appearance over the years. Do not use water when cleaning. Use only a soft brush or lint-free cloth to avoid scratching the finish. The plating is sealed with a lacquer to minimize discoloration or tarnishing. Do not use water when cleaning. This could damage the motor, or the wood, or possibly cause an electrical shock.
3. You can apply a light coat of furniture polish to the wood blades for additional protection and enhanced beauty. Cover small scratches with a light application of shoe polish.
4. There is no need to oil your fan. The motor has permanently lubricated sealed ball bearings.
Troubleshooting
| PROBLEM | SOLUTION |
| The fan will not start. |
|
| The fan sounds noisy. |
|
| Remote control fails. |
WARNING |
| The fan wobbles. |
|
Specifications
FAN SIZE | SPEED | VOLTS | AMPS | WATTS | RPM | CMM | N.W. | G.W. | C.M. |
| 52” | LOW | 120 | 0.22 | 11.42 | 53 | 47 | 8.40 kg (18.48 lbs) | 10.84 kg (23.85 lbs) | 0.05 |
MED. | 0.40 | 27.90 | 100 | 88 | |||||
| HIGH | 0.56 | 57.89 | 154 | 137 |
These are approximate measures. They do not include Amps and Wattage used by the light kit.
Importer: SERVICIOS HOME DEPOT, S. DE R.L. DE C.V.
Ricardo Margain 605, Santa Engracia, San Pedro Garza García,
Nuevo León, C.P. 66267. Tel. 800 004 6633
Warranty printed on manual is not valid for Mexico
Questions, problems, missing parts?
Before returning to the store call our customer service
800 004 6633
The appliance is not to be used by persons (including children) with reduced physical, sensory or metal capabilities, or lack of experience and knowledge, unless they have been given supervision or instruction.
Children should be supervised to ensure that they do not play with the appliance.

















