USE AND CARE GUIDE
52 IN. CRYSALIS
INDOOR CEILING FAN
Item #1008 590 327
1008 612 084
Model #AK376-CH
AK376-MBK
AK376-CH Marino 36 Inch Brushed Steel Ceiling Fan
Visual instruction of how to install this fan:
Visit www.homedepot.com and enter either the Item or Model number to and this fan and click the link of visual instruction in the product overview section.
THANK YOU
We appreciate the trust and confidence you have placed in Hampton Bay through the purchase of this ceiling fan. We strive to continually create quality products designed to enhance your home. Visit us online to see our full line of products available for your home improvement needs. Thank you for choosing Hampton Bay!
Safety Information
- To reduce the risk of electric shock, ensure electricity has been turned off at the circuit breaker or fuse box before beginning.
- All wiring must be in accordance with the National Electrical Code “ANSI/NFPA 70” and local electrical codes. Electrical installation should be performed by a qualified licensed electrician.
- The outlet box and support structure must be securely mounted and capable of reliably supporting a minimum of 35 lb (15.9 kg) or less. Use only UL Listed outlet boxes marked “FOR FAN SUPPORT.”
- The fan must be mounted with a minimum of 7 ft (2.1 m) clearance from the trailing edge of the blades to the fioor.
- Avoid placing objects in the path of the blades.
- To avoid personal injury or damage to the fan and other items, be cautious when working around or cleaning the fan.
- Do not use water or detergents when cleaning the fan or fan blades. A dry dust cloth or lightly dampened cloth will be suitable for most cleaning.
- After making electrical connections, spliced conductors should be turned upward and pushed carefully up into the outlet box. The wires should be spread apart with the grounded conductor and the equipment-grounding conductor on one side of the outlet box and ungrounded conductor on the other side of the outlet box.
- All set screws must be checked and retightened where necessary before installation.
- Suitable for use with solid-state speed control (MR181B-3 only).
The following responsible party designated in FCC §2.909 is responsible for this declaration:
| Model Number: | AK376-CH, AK376-MBK |
| Company Name: | TAL INTERNATIONAL CORPORATION |
| Company Address: | 2919 E. Philadelphia St., Ontario, CA 91761, U.S.A. |
| Telephone Number: | (909) 923-2888 Fax: (909) 923-8337 |
WARNING: To reduce the risk of electric shock, this fan must be installed with an isolating wall control/switch.
WARNING: To reduce the risk of personal injury, do not bend the blade arms (also referred to as fianges), when installing the brackets, balancing the blades or cleaning the fan.
WARNING: Do not insert foreign objects between rotating fan blades.
WARNING: To reduce the risk of fire, electric shock or personal injury, mount the fan to an outlet box marked acceptable for fan support with the screws provided with the outlet box.
CAUTION: To reduce the risk of personal injury, use only the screws provided with the outlet box.
READ AND SAVE THESE INSTRUCTIONS
Warranty
The manufacturer warrants the fan motor to be free from defects in workmanship and material present at time of shipment from the factory for a period of lifetime after the date of purchase by the original purchaser. The manufacturer warrants the light kit (excluding any glass), to be free from defects in workmanship and material at the time of shipment from the factory for a period of three years after the date of purchase by the original purchaser. The manufacturer also warrants that all other fan parts, excluding any glass or acrylic blades, to be free from defects in workmanship and material at the time of shipment from the factory for a period of one year after the date of purchase by the original purchaser. We agree to correct such defects without charge or at our option replace with a comparable or superior model if the product is returned. To obtain warranty service, you must present a copy of the receipt as proof of purchase. All costs of removing and reinstalling the product are your responsibility. Damage to any part such as by accident, misuse, improper installation or by affixing any accessories, is not covered by this warranty. Because of varying climatic conditions this warranty does not cover any changes in brass finish, including rusting, pitting, corroding, tarnishing or peeling. Brass finishes of this type give the longest useful life when protected from varying weather conditions. A certain amount of “wobble” is normal and should not be considered a defect. Servicing performed by unauthorized persons shall render the warranty invalid. There is no other express warranty. We hereby disclaim any and all warranties, including but not limited to those of merchantability and fitness for a particular purpose to the extent permitted by law. The duration of any implied warranty which cannot be disclaimed is limited to the time period as specified in the express warranty. Some states do not allow limitation on how long an implied warranty lasts, so the above limitation may not apply to you. The retailer shall not be liable for incidental, consequential, or special damages arising out of or in connection with product use or performance except as may otherwise be accorded by law. Some states do not allow the exclusion of incidental or consequential damages, so the above exclusion or limitation may not apply to you. This warranty gives specific legal rights, and you may also have other rights which vary from state to state. This warranty supersedes all prior warranties. Shipping costs for any return of product as part of a claim on the warranty must be paid by the customer.
Contact the Customer Service Team at 1-855-HD-HAMPTON or visit www.hamptonbay.com.
Pre-Installation
SPECIFICATIONS
| Fan size | Speed | Volts | Amps | Watts | RPM | CFM | N.W. |
| 52 in. | Low | 120 | 0.24 | 11 | 48 | 1545 | 9.7 kg (21.34 lb.) |
| Medium | 0.42 | 32 | 111 | 3346 | |||
| High | 0.54 | 59.75 | 154 | 4670 |
NOTE: These are approximate measures. They do not include amps and wattage used by the light kit.![]()
TOOLS REQUIRED

HARDWARE INCLUDED
NOTE: Hardware not shown to actual size.

| Part | Description | Quantity |
| AA | Plastic wire nut | 3 |
| BB | Blade attachment screw with lock washer (additional) | 1 |
| CC | 23A 12V battery | 1 |
| DD | Extension cord | 1 |
PACKAGE CONTENTS

| Part | Description | Quantity |
| A | Mounting bracket (preassembled) | 1 |
| B | Canopy | 1 |
| C | Canopy bottom cover (preassembled) | 1 |
| D | Hanger ball/downrod assembly | 1 |
| E | Coupling cover | 1 |
| F | Fan motor assembly | 1 |
| Part | Description | Quantity |
| G | Blade | 5 |
| H | Blade support plate with screw and lock washer | 5 |
| I | 16W LED Light kit assembly | 1 |
| J | Receiver | 1 |
| K | Remote control | 1 |
Installation
MOUNTING OPTIONS
WARNING: To reduce the risk of fire, electric shock, or personal injury, mount the fan to an outlet box marked acceptable for fan support using the screws provided with the outlet box. An outlet box commonly used for the support of lighting fixtures may not be acceptable for fan support and may need to be replaced. If in doubt, consult a qualified electrician.
If your ceiling fan does not have an existing UL Listed mounting box, then install one using the following instructions:
- Disconnect the power by removing the fuses or turning off the circuit breakers.
- Secure the outlet box (not included) directly to the building structure. Use appropriate fasteners and materials (not included). The outlet box and its bracing must be able to fully support the weight of the moving fan (at least 35 lb). Do not use a plastic outlet box.
The illustrations below show three different ways to mount the outlet box (not included).

NOTE: You may need a longer downrod to maintain proper blade clearance when installing on a steep, sloped ceiling. The maximum angle allowable is 18° away from horizontal. If the canopy (B) touches the hanger ball/downrod assembly (D), then remove the decorative canopy bottom cover (C) and turn the canopy (B) 180° before attaching the canopy (B) to the mounting bracket (A).

To hang your fan where there is an existing fixture but no ceiling joist, you may need an installation hanger bar (not included) as shown above.
Assembly
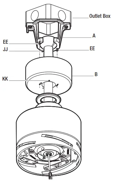
- Preparing the canopy
- Remove the canopy bottom cover (C) from the canopy (B) by turning the canopy bottom cover (C) counterclockwise.
- Remove the mounting bracket (A) from the canopy (B) by loosening canopy mounting screws (EE) a half turn from the screw head. Next, turn the canopy (B) counterclockwise to remove the mounting bracket (A) from the canopy (B).

- Preparing the motor
- Remove the cotter pin (GG) and clevis pin (FF), and loosen the two collar set screws (HH) from the fan motor assembly (F) collar.

- Remove the cotter pin (GG) and clevis pin (FF), and loosen the two collar set screws (HH) from the fan motor assembly (F) collar.
- Assembling the fan
WARNING: Failure to properly install the cotter pin (GG) could result in the fan loosening and possibly falling.
NOTE: If a longer downrod is needed (not included), take out the screw located in the hanger ball, lower the hanger ball and remove the pin. Remove all three pieces from the downrod, and assemble them onto the new longer downrod before proceeding to the downrod installation. Be sure to snap together the 3-pin connectors, the male plug (II) from the fan and female plug from the extension cord (DD).- Route the wires through the coupling cover (E), the canopy bottom cover (C) and the canopy (B) and then through the hanger ball/downrod assembly (D).
- Align the holes at the bottom of the hanger ball/downrod assembly (D) with the holes in the collar on top of the fan motor assembly (F).
- Carefully insert the clevis pin (FF) through the holes in the collar and the hanger ball/downrod assembly (D). Be careful not to jam the clevis pin (GG) against the wiring inside the hanger ball/downrod assembly (D).
- Insert the cotter pin (GG) through the hole near the end of the clevis pin (FF) until it snaps into the locked position.
- Firmly tighten the two collar set screws (HH) on top of the fan motor assembly (F).

- Installing the mounting bracket to the electrical box
WARNING: To reduce the risk of fire, electric shock or other personal injury, mount the fan only to an outlet box or supporting system marked acceptable for fan support and use the mounting screws provided with the outlet box.- Pass the 120-volt supply wires through the center hole in the mounting bracket (A).
- Attach the mounting bracket (A) on the outlet box by sliding the mounting bracket (A) over the screws provided with the outlet box. Note that the fiat side of the mounting bracket (A) is toward the outlet box.
- Securely tighten the two mounting screws.

- Hanging the fan on the mounting bracket
WARNING: The tab in the ring must rest in the groove of the hanger ball/downrod assembly (D). Failure to properly seat the tab in the groove could cause damage to the wiring.- Carefully lift the fan motor assembly (F) up to the mounting bracket (A) and seat the hanger ball/downrod assembly (D) in the mounting bracket (A) socket. Make sure the tab on the mounting bracket (A) socket is properly seated in the groove in the hanger ball/downrod assembly (D). This will help to balance the ceiling fan.

- Carefully lift the fan motor assembly (F) up to the mounting bracket (A) and seat the hanger ball/downrod assembly (D) in the mounting bracket (A) socket. Make sure the tab on the mounting bracket (A) socket is properly seated in the groove in the hanger ball/downrod assembly (D). This will help to balance the ceiling fan.
- Preparing the receiver and remote control
NOTE: The frequencies on your receiver and remote control have been preset at the factory. Before installing the receiver, make sure the dip switches on the receiver and remote control are set to the same frequency. The dip switches on the remote control are located inside the battery compartment.
NOTE: The battery will weaken with age and should be replaced before leaking takes place as this will damage the remote control. Dispose of the used battery properly and keep the battery out of the reach of children.
NOTE: The frequency switches on the receiving unit are covered with a rubber cover. Remove the rubber cover and then replace it after making any changes to the frequency switches.
Setting the Code on the Remote:- Remove the battery cover on the back of the remote control (K) by pressing firmly on the arrow and sliding the cover off.
- Slide the code switches to your choice of either up or down. The factory setting is up.
- Install the 23A 12V battery (CC) (included).
- Replace the battery cover on the remote control (K).
Setting the Code on the Receiver: - Slide the code switches on the receiver (J) to the same positions as set on the remote control (K).
- After checking the switches, insert the receiver (J) into the mounting bracket (A) with the fiat side of the receiver (J) facing the ceiling.

- Making the electrical connections
WARNING: Check to see that all connections are tight, including ground, and that no bare wire is visible at the wire nuts, except for the ground wire.
WARNING: To reduce the risk of electric shock, this fan must be installed with an isolating wall control/switch.
NOTE: The fan must be installed at a maximum distance of 20 ft. from the remote control for proper signal transmission between the remote control and the fan’s receiving unit.
NOTE: If a longer downrod (not included) is needed, use the extension cord (DD) to connect with the motor wires and receiver.
If you feel you do not have enough electrical wiring knowledge or experience, have your fan installed by a licensed electrician.
Follow the steps below to connect the fan to your household wiring. Use the plastic wire nuts (AA) with your fan. Secure the plastic wire nuts (AA) with electrical tape. Make sure there are no loose strands or connections.- Insert the receiver (J) into the mounting bracket (A) with the fiat side of the receiver (J) facing the ceiling.
- Make wire connections from the fan to the receiver (J).
From Fan………………..To Receiver
3-Pin Connector ————– 3-Pin Connector - Make wire connections from the receiver (J) and fan to the outlet box as follows, using the wire nuts (AA).
From Receiver……………….To Outlet Box
Black Wire “AC in L” ——— Black Wire (Hot)
White Wire “AC in N” ——– White Wire (Neutral)
From Fan……………..To Outlet Box
Green Wires* —————– Green or Bare Wire (Ground)
* There are two green grounding leads: one from the mounting bracket (A) and one from the hanger ball/downrod assembly (D).
Turn the wire nut connections upward, spreading them apart so the green (ground) and white wires will be on one side of the outlet box and the black wire will be on the other side. Carefully tuck the connections up into the outlet box.
- Attaching the canopy
WARNING: Make sure the tab on the mounting bracket (A) properly sits in the groove in the hanger ball (JJ) before attaching the canopy (B) to the mounting bracket (A) by turning the canopy housing until it drops into place.- Make sure connections are neatly tucked into the ceiling outlet box.
- Slide the canopy (B) up to the mounting bracket (A) and place the key holes on the canopy (B) over the loose canopy mounting screws (EE) on the mounting bracket (A). Turn the canopy (B) clockwise until it locks in place at the narrow section of the key holes. Make sure the positioning pin (JJ) on the mounting bracket falls into one of two holes (KK) on the canopy, and then tighten the two canopy mounting screws (EE).

- Attaching the canopy bottom cover
NOTE: Adjust the canopy mounting screws (EE) as necessary until the canopy (B) and canopy bottom cover (C) are snug.
Attach the canopy bottom cover (C) to the canopy (B) by inserting the screw heads into the key slots in the canopy bottom cover (C) and rotating it clockwise.
- Attaching the fan blades
WARNING: To reduce the risk of personal injury, do not bend the blades (G) while installing, balancing the blades (G) or cleaning the fan.
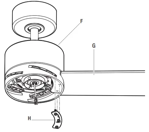
WARNING: Do not insert foreign objects between rotating fan blades (G).- Insert the blade (G) through the slot in the housing. Align the holes from the blade (G) to the holes from the fan motor assembly (F), and secure the blade in place with blade support plate with screws and lock washers (H) provided.
- Repeat this procedure with the remaining blades (G).

Assembly — Installing the Light Kit
- Attaching the light kit assembly to the light kit mounting plate
CAUTION: Before starting installation, disconnect the power by turning off the circuit breaker or removing the fuse at the fuse box. Turning power off using the fan switch is not sufficient to prevent electric shock.
NOTE: If the light kit could be wobbled by hand, it means the light kit is not twisted completely till the right position. Keep twisting the light kit till it could not be wobbled by hand.- Lift the 16W LED light kit assembly (I) into position and hook up the secure cable (LL) onto the hook ring (MM) on the light kit mounting plate (NN).
- While holding the 16W LED light kit assembly (I) under the fan motor assembly (F), snap together the wire connection plugs (OO):
White to white
Black to black - Position the notches (PP) in the inside rim of the 16W LED light kit assembly (I) so they line up with the tabs (QQ) on the inside of the rim on the light kit mounting plate (NN). Secure it to the fan by turning the 16W LED light kit assembly (I) clockwise until snug.

Operation
Power ON/OFF: Press and release the power button to turn the fan and light on or off.
Fan speed: LEDs on the fan speed button will illuminate to the corresponding speed.
Press and release 1 time: turns the fan on high speed.
Press and release 2 times: turns the fan on medium speed.
Press and release 3 times: turns the fan on low speed.
Press and release 4 times: turns the fan off.
Light ON/OFF
Press and release the button to turn the light on or off.
Press and hold the button to activate the dimmer function.
Correlated Color Temperature (CCT) changing
NOTE: The default temperature of the ceiling fan light is 3000k (Soft White).
Push and release the button to cycle through the three color temperature options.
Option 1: 3000K (Soft White).
Option 2: 4000K (Bright White).
Option 3: 5000K (Daylight).
INSTALLING THE REMOTE CONTROL HOLDER
- Attach the remote control holder (RR) with the two remote control holder mounting screws (SS).
- Replace the remote control holder cover (TT) into the remote control holder (RR).

REVERSE SWITCH OPERATING INSTRUCTIONS
The reverse switch is located on the top of the motor housing. Slide the switch to the left for warm weather operation. Slide the switch to the right for cool weather operation.
NOTE: Wait for the fan to stop before reversing the direction of the blade rotation.

Warm weather – (Counterclockwise Direction) A downward air flow creates a cooling effect. This allows you to set your air conditioner on a warmer setting without affecting your comfort.

Cool weather – (Clockwise Direction) An upward air flow moves warm air off the ceiling. This allows you to set your heating unit on a cooler setting without affecting your comfort.

Care and Cleaning
Do
- Check the support connections, brackets, and blade attachments twice a year. Make sure they are secure. Because of the fan’s natural movement, some connections may become loose over time. It is not necessary to remove the fan from the ceiling.
- Clean your fan periodically. Use only a soft brush or lint-free cloth to avoid scratching the flnish. The plating is sealed with a lacquer to minimize discoloration or tarnishing.
- (Optional) Apply a light coat of furniture polish to the wood blades.
- (Optional) Cover small scratches with a light application of shoe polish.
Do not
- Use water when cleaning. Water could damage the motor, or the wood, or possibly cause an electrical shock.
- Apply oil to your fan or motor. The motor has permanently-lubricated sealed ball bearings.
Troubleshooting
| Problem | Solution |
| The fan will not start. | Check the main and branch circuit fuses or breakers. Check the line wire connections to the fan and switch wire connections in the switch housing. Check to make sure the frequency switches from the remote control and receiver are set to the same frequency. |
| The fan sounds noisy. | Make sure all motor housing screws are snug. Make sure the screws that attach the fan blade to the motor hub are tight. Make sure the wire nut connections are not rattling against each other or the interior wall of the switch housing. Allow a 24-hour “breaking-in” period. Most noises associated with a new fan disappear during this time. If using the ceiling light kit, make sure the glassware is secured tightly. Make sure there is a short distance from the ceiling to the canopy. It should not touch the ceiling. Make sure your ceiling box is secure and that rubber isolator pads are used between the mounting bracket and outlet box. |
| The remote control is not working. | Do not connect the fan with wall mounted variable speed control(s). Make sure the frequency switches are set correctly. |
| The fan wobbles. | Verify that all blades and blade bracket screws are secure (most fan wobble problems are caused by loose parts). Once the fan is properly installed, run the ceiling fan for 10 minutes to let the fan self-adjust. If wobble occurs after running the fan for 10 minutes, verify blade level using the following process: Select a point on the ceiling above the tip of one of the blades, then select any fan blade and measure from the center of the selected blade to the point on the ceiling. Rotate the fan until the next blade is positioned and repeat the measurement using the same point from the ceiling for every blade. Measurement deviations should be within 1/8 in. If all deviations are less than 1/8 in. and the fan continues to wobble, please call Customer Service (1-855-HD-HAMPTON) to order a complimentary Blade Balancing Kit. If deviation is greater than 1/8 in., please call Customer Service (1-855-HD-HAMPTON) to order complimentary replacements of your brackets. |
This device complies with part 15 of the FCC Rules. Operation is subject to the following two conditions:
- This device may not cause harmful interference, and
- this device must accept any interference received, including interference that may cause undesired operation.
WARNING: Changes or modifications to this unit not expressly approved by the party responsible for compliance could void the user’s authority to operate the equipment.
NOTE: This equipment has been tested and found to comply with the limits for a Class B digital device, pursuant to Part 15 of the FCC Rules.
These limits are designed to provide reasonable protection against harmful interference in a residential installation. This equipment generates, uses and can radiate radio frequency energy and, if not installed and used in accordance with the instructions, may cause harmful interference to radio communications.
However, there is no guarantee that interference will not occur in a particular installation. If this equipment does cause harmful interference to radio or television reception, which can be determined by turning the equipment off and on, the user is encouraged to try to correct the interference by one or more of the following measures:
- Reorient or relocate the receiving antenna.
- Increase the separation between the equipment and receiver.
- Connect the equipment into an outlet on a circuit different from that to which the receiver is connected.
- Consult the dealer or an experienced radio/TV technician for help.
Questions, problems, missing parts? Before returning to the store,
call Hampton Bay Customer Service
8 a.m. – 7 p.m., EST, Monday – Friday, 9 a.m. – 6 p.m., EST, Saturday
1-855-HD-HAMPTON
HAMPTONBAY.COM
Retain this manual for future use.





Setting the Code on the Remote:






















