WCM1001P Wall Chaser
Instruction Manual
WWW.FERM.COM
WCM1001P Wall Chaser




Wall chaser 2400W WCM1001P
Thank you for buying this FERM product. By doing so you now have an excellent product, delivered by one of Europe’s leading suppliers. All products delivered to you by Ferm are manufactured according to the highest standards of performance and safety. As part of our philosophy we also provide an excellent customer service, backed by our comprehensive warranty.
We hope you will enjoy using this product for many years to come.
SAFETY INSTRUCTIONS
Read the enclosed safety warnings, the additional safety warnings and the instructions. Failure to follow the safety warnings and the instructions may result in electric shock, fire and/or serious injury. Save the safety warnings and the instructions for future reference.
The following symbols are used in the user manual or on the product:
| Denotes risk of personal injury, loss of life or damage to the tool in case of nonobservance of the instructions in this manual. | |
| Risk of electric shock. | |
| Immediately remove the mains plug from the mains if the mains cable becomes damaged and during cleaning and maintenance. | |
| Risk of flying objects. Keep bystanders away from the work area. | |
| Always wear eye protection! | |
| Wear hearing protection. | |
| Wear a dust mask. | |
| Wear safety gloves. | |
| Do not use in rain. | |
| Class II machine – Double insulation – You don’t need any earthed plug. | |
| Do not dispose of the product in unsuitable containers. | |
![]() | The product is in accordance with the applicable safety standards in the European directives. |
Safety Warnings Common for Grinding or Abrasive Cutting-Off Operations:
a) This power tool is intended to function as a grinder tool. Read all safety warnings, instructions, illustrations and specifications provided with this power tool. Failure to follow all instructions listed below may result in electric shock, fire and/or serious injury.
b) Operations such as sanding, wire brushing, polishing are not recommended to be performed with this power tool. Operations for which the power tool was not designed may create a hazard and cause personal injury.
c) Do not use accessories which are not specifically designed and recommended by the tool manufacturer. Just because the accessory can be attached to your power tool, it does not assure safe operation.
d) The rated speed of the accessory must be at least equal to the maximum speed marked on the power tool. Accessories running faster than their rated speed can break and fly apart.
e) The outside diameter and the thickness of your accessory must be within the capacity rating of your power tool. Incorrectly sized accessories cannot be adequately guarded or controlled.
f) Threaded mounting of accessories must match the grinder spindle thread. For accessories mounted by flanges, the arbour hole of the accessory must fit the locating diameter of the flange. Accessories that do not match the mounting hardware of the power tool will run out of balance, vibrate excessively and may cause loss of control.
g) Do not use a damaged accessory. Before each use inspect the accessory such as abrasive wheels for chips and cracks, backing pad for cracks, tear or excess wear, wire brush for loose or cracked wires.
If power tool or accessory is dropped, inspect for damage or install an undamaged accessory. After inspecting and installing an accessory, position yourself and bystanders away from the plane of the rotating accessory and run the power tool at maximum no-load speed for one minute.
Damaged accessories will normally break apart during this test time.
h) Wear personal protective equipment. Depending on application, use face shield, safety goggles or safety glasses.
As appropriate, wear dust mask, hearing protectors, gloves and workshop apron capable of stopping small abrasive or workpiece fragments. The eye protection must be capable of stopping flying debris generated by various operations. The dust mask or respirator must be capable of filtrating particles generated by your operation. Prolonged exposure to high intensity noise may cause hearing loss.
i) Keep bystanders a safe distance away from work area. Anyone entering the work area must wear personal protective equipment.
Fragments of workpiece or of a broken accessory may fly away and cause injury beyond immediate area of operation.
j) Hold the power tool by insulated gripping surfaces only, when performing an operation where the cutting accessory may contact hidden wiring or its own cord.
Cutting accessory contacting a “live” wire may make exposed metal parts of the power tool “live” and could give the operator an electric shock.
k) Position the cord clear of the spinning accessory. If you lose control, the cord may be cut or snagged and your hand or arm may be pulled into the spinning accessory.
l) Never lay the power tool down until the accessory has come to a complete stop.
The spinning accessory may grab the surface and pull the power tool out of your control.
m) Do not run the power tool while carrying it at your side. Accidental contact with the spinning accessory could snag your clothing, pulling the accessory into your body.
n) Regularly clean the power tool’s air vents.
The motor’s fan will draw the dust inside the housing and excessive accumulation of powdered metal may cause electrical hazards.
o) Do not operate the power tool near flammable materials. Sparks could ignite these materials.
p) Do not use accessories that require liquid coolants. Using water or other liquid coolants may result in electrocution or shock.
Kickback and Related Warnings
Kickback is a sudden reaction to a pinched or snagged rotating wheel, backing pad, brush or any other accessory. Pinching or snagging causes rapid stalling of the rotating accessory which in turn causes the uncontrolled power tool to be forced in the direction opposite of the accessory’s rotation at the point of the binding.
For example, if an abrasive wheel is snagged or pinched by the workpiece, the edge of the wheel that is entering into the pinch point can dig into the surface of the material causing the wheel to climb out or kick out. The wheel may either jump toward or away from the operator, depending on direction of the wheel’s movement at the point of pinching. Abrasive wheels may also break under these conditions. Kickback is the result of power tool misuse and/or incorrect operating procedures or conditions and can be avoided by taking proper precautions as given below.
a) Maintain a firm grip on the power tool and position your body and arm to allow you to resist kickback forces. Always use auxiliary handle, if provided, for maximum control over kickback or torque reaction during start-up. The operator can control torque reactions or kickback forces, if proper precautions are taken.
b) Never place your hand near the rotating accessory. Accessory may kickback over your hand.
c) Do not position your body in the area where power tool will move if kickback occurs. Kickback will propel the tool in direction opposite to the wheel’s movement at the point of snagging.
d) Use special care when working corners, sharp edges etc. Avoid bouncing and snagging the accessory. Corners, sharp edges or bouncing have a tendency to snag the rotating accessory and cause loss of control or kickback.
e) Do not attach a saw chain woodcarving blade or toothed saw blade. Such blades create frequent kickback and loss of control.
Additional Safety Warnings
- People below the age of 16 may not use the machine.
- The user or operator must be familiar with the content of this instruction manual.
- Before chasing in load-bearing walls, consult with the responsible structural engineer, architect or site supervisor.
- Use the power tool only when included guard is installed. Guard must be securely fitted to power tool and adjusted to guarantee the best possible safety level, which means that cutting disc part facing operator must be shielded as much as possible. The guard must protect the operator against splinters and accidental contact with cutting disc.
- Use only diamond cutting discs. Possibility of equipment installation in the power tool alone does not guarantee safe use.
- Use diamond cutting discs only for tasks they are designed for. For example, never grind with side surface of a cutting disc.
Cutting discs are designed to remove material with disc edge. Applying side force may break disc of this type. - Always use undamaged fixing flanges with size matching to cutting disc. Proper flanges support cutting disc and reduce risk of breaking.
- Secure the work area, also behind openings and cut-outs. Unsecured work areas can endanger you and other people.
- Watch out for open and concealed electricity cables, as well as water and gas pipes. Use suitable detectors to find concealed utility pipes and/or cables, or contact a local utility company for advice.
Contact with electricity cables can cause fires and an electric shock. Damage to a gas pipe can cause an explosion. Penetrating a water pipe causes damage to property or could cause an electric shock. - Whenever power tool can hit hidden electric wires or its own power cord during operation, hold it only by insulated handle.
When in contact with live wires all metal parts of the power tool are live too, this may cause electric shock of the operator. - Avoid causing situations where other people can stumble or trip. Tripping over cables can cause serious injuries.
- Secure the workpiece. A workpiece securely held in clamping devices or a vice is more safely held than in the hand.
- Avoid dust accumulation in the workplace.
Dusts can easily ignite. - Ensure adequate ventilation in closed rooms. Risk due to dust and impaired vision.
- Dust from materials such as coatings containing lead, several types of wood, minerals and metals can be harmful to health and cause allergic reactions, respiratory diseases and/or cancer.
Asbestos-containing material may only be machined by specialists.
– Wherever possible, use a industrial type vacuum cleaner suitable for the material you are working on.
– Ensure the workplace is properly ventilated.
– Observe the relevant regulations in your country for the materials to be machined. - Keep power cord away from rotating working tools. Loss of control over the power tool can lead to cutting or catching the power cord, also hand or whole arm can get into rotating work tool.
- Do not carry power tool when it is rotating. Accidental contact of rotating working tool with clothes may cause its catching and plunging of working tool into operator’s body.
- Do not start working before the power tool reaches its full rotary speed.
- Do not expose diamond dry-cutting discs to lateral pressure.
- Never use diamond dry-cutting discs for rough grinding.
Electrical safety
When using electric machines always observe the safety regulations applicable in your country to reduce the risk of fire, electric shock and personal injury. Read the following safety instructions and also the enclosed safety instructions.
Always check that the voltage of the power supply corresponds to the voltage on the rating plate label.
Class II machine – Double insulation – You don’t need any earthed plug.
If operating a power tool in a damp location is unavoidable, use a residual current device (RCD) protected supply. Use of an RCD reduces the risk of electric shock.
MACHINE INFORMATION
Intended use
This power tool is designed for dry cutting in masonry (brick, lime-sand blocks, undressed stone) and concrete. It must not be used for wet cutting or for cuts in metal, glass, wood, etc.
Technical specifications
| Model no. machine | WCM1001P |
| Model no. cutting disc | WCA1001 |
| Mains voltage | 230 V~ |
| Mains frequency | 50 Hz |
| Power input | 2400W |
| No-load speed | 8.000 /min |
| Disc diameter | 150mm |
| Disc bore | 22.2mm |
| Max. cutting depth | 43mm |
| Cutting width | 30mm |
| Weight | 6.2 kg |
| Sound pressure (LPA | 97 + 3 dB(A) |
| Acoustic power (LWA) | 108 + 3 dB(A) |
| Vibration ah | 10.94 + 1.5 m/s² |
Vibration level
The vibration emission level stated in this instruction manual has been measured in accordance with a standardized test given in EN 60745; it may be used to compare one tool with another and as a preliminary assessment of exposure to vibration when using the tool for the applications mentioned
- using the tool for different applications, or with different or poorly maintained accessories, may significantly increase the exposure level
- the times when the tool is switched off or when it is running but not actually doing the job, may significantly reduce the exposure level
Protect yourself against the effects of vibration by maintaining the tool and its accessories, keeping your hands warm, and organizing your work patterns.
Description
The numbers in the text refer to the diagrams on pages 2-3.
- On/off switch
- Lock-off switch
- Rear handle
- Rear roller
- Carbon brush cover
- Blade bolt
- Outer flange
- Diamond disc
- Front roller
- Front handle
- Depth adjustment lever
- Dust extraction port
- Depth adjustment scale
- Vacuum hose
ASSEMBLY
Before assembly, always switch off the machine and remove the mains plug from the mains.
Mounting and replacing the disc Fig. A, C, D
A broken or damaged disc must be replaced immediately.
Use only discs whose allowable rotary speed is higher or equal to maximum noload speed of the machine.
The wall chaser is designed to work with special 3-in-1 discs. Only use discs approved by the manufacturer.
- Hold the outer flange (7) using the supplied large spanner.
- Remove the bolt (6) using the supplied small spanner.
Note: the bolt has a left hand thread. - Remove the outer flange (7).
- Mount the disc (8) onto the spindle. Ensure the arrow on the housing correspond with the arrow on the disc (8).
Note: the spindle does not protrude the hole of the disc (8). - Put the outer flange (7) into the hole of the disc.
Rotate the outer flange (7) while pressing it, until it is fully tightened. - Tighten the bolt (6).
- Use the large spanner to hold the outer flange (7). Now tighten the bolt (6), using the small spanner.
To remove the disc, follow the installation procedure in reverse sequence.
Dust extraction
Fig. A, F
Provide good ventilation at the workplace.
Wear dust protection.
The dust from certain materials such as such as particulate matter can be harmful to your health. Breathing in this dust can cause allergic reactions and/or cause respiratory illnesses for the user or people in the near vicinity. Therefore a dust extraction system that is suitable for the material must be used. To do so:
The dust extractor must be suitable for the material being worked.
When vacuuming dry dust that is especially detrimental to health or carcinogenic, use a special dust extractor.
A vacuum cleaner hose (14) can be connected to the dust extraction port (12). When starting to work, first switch on the dust extraction system, e.g. industrial vacuum cleaner, next switch on the wall chaser. When the work is finished proceed inversely – switch off the wall chaser first, next the vacuum cleaner.
OPERATION
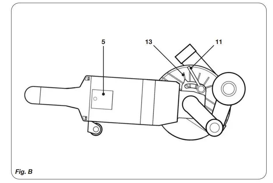
Adjusting the cutting depth Fig. B, E
Set the chase depth before starting to work and with the device switched off.
- Loosen the lever (11) by moving it backwards.
- Adjust to the required cutting depth, as shown on figure E. The depth can be read on the scale (13).
- Tighten the lever (11) by moving it forwards.
Switching on and off Fig. A
- To switch on the machine, keep the lock-off button (2) pressed and simultaneously press the on/off switch (1).
- To switch off the machine, release the on/off switch (1).
Making a cut
Fig. A, G
The wall chaser is designed only for straight cuts. Making curved or round cuts is not allowed.
The tool is designed for dry cuts only.
Always hold the tool with two hands on the insulated handles.
- Draw lines to define the direction in which to guide the discs.
- Mount a vacuum cleaner to the dust outlet.
- Set the cutting depth.
- Position the rear roller (4) on the wall surface. Note that the disc should not yet touch the wall surface.
- Switch the wall chaser on and wait until the discs reach full rotational speed.
- Gradually lower the wall chaser, plunging the discs into the wall surface.
- As soon as the front roller (9) rests on the wall surface, continue with the cut and move the wall chaser forward and away from you (in direction opposite to rotation of cutting disc).
- Slowly move the machine along the pre-drawn lines, firmly pressing the wheels against the wall.
Note: Do not apply too much pressure on the machine. Let the machine do the work.
Applying excessive pressure may cause motor overheating and damage of the cutting disc. - To end the cut, switch off the machine and wait until the discs have stopped completely.
Afterwards remove the discs from the chase and put down the machine.
After switching the wall chaser off, do not force the braking of the rotating disc by pressing it against processed material.
Cutting discs heat up to high temperatures during operation – do not touch them with unprotected parts of your body before they cool down.
Note: When cutting very hard materials, cutting disc may be overheated and become damaged in consequence. Excessive sparks around the cutting disc indicate overheating. When it appears, stop cutting and cool down the disc by running it with full rotational speed with no load for 3–5 minutes. A decrease of cutting efficiency and constant excessive sparks around the cutting disc may indicate a blunt cutting disc.
MAINTENANCE
Before cleaning and maintenance, always switch off the machine and remove the mains plug from the mains.
Clean the machine casings regularly with a soft cloth, preferably after each use. Make sure that the ventilation openings are free of dust and dirt. Remove very persistent dirt using a soft cloth moistened with soapsuds. Do not use any solvents such as gasoline, alcohol, ammonia, etc. Chemicals such as these will damage the synthetic components.
ENVIRONMENT
Faulty and/or discarded electrical or electronic apparatus have to be collected at the appropriate recycling locations.
Only for EC countries
Do not dispose of power tools into domestic waste. According to the European Guideline 2012/19/EC for Waste Electrical and Electronic Equipment and its implementation into national right, power tools that are no longer usable must be collected separately and disposed of in an environmentally friendly way.
WARRANTY
FERM products are developed to the highest quality standards and are guaranteed free of defects in both materials and workmanship for the period lawfully stipulated starting from the date of original purchase. Should the product develop any failure during this period due to defective material and/or workmanship then contact your FERM dealer directly.
The following circumstances are excluded from this guarantee:
- Repairs and or alterations have been made or attempted to the machine by unauthorized service centers.
- Normal wear and tear.
- The tool has been abused, misused or improperly maintained.
- Non-original spare parts have been used
This constitutes the sole warranty made by company either expressed or implied. There are no other warranties expressed or implied which extend beyond the face hereof, herein, including the implied warranties of merchantability and fitness for a particular purpose. In no event shall FERM be liable for any incidental or consequential damages. The dealers remedies shall be limited to repair or replacement of nonconforming units or parts.
The product and the user manual are subject to change. Specifications can be changed without further notice.
DECLARATION OF CONFORMITY PMM1010 – PAINT/CEMENT MIXER
We declare under our sole responsibility that this product is in conformity with directive 2011/65/EU of the European parliament and of the council of 8 June on the restriction of the use of certain hazardous substances in electrical and electronic equipment is in conformity and accordance with the following standards and regulations:
EN 55014-1, EN 55014-2, EN 60745-1, EN ISO 12100
EN 61000-3-2, EN 61000-3-3
2006/42/EC, 2014/30/EU, 2012/19/EU, 2011/65/EU
WWW.FERM.COM
2104-13
©2021 FERM


















