Micromax R203M13-001 REV. D AIR OXYGEN Blender Instruction Manual

Instructions for Use
NOTE: The latest edition of this operating manual can be downloaded from our website at www.maxtec.com
RECEIVING / INSPECTION
Remove the MicroMax Air-Oxygen Blender from the packaging and inspect for damage. If there is any damage,
DO NOT USE and contact your Provider
INTENDED USE
The MicroMax Air-Oxygen Blender dispenses a continuous and precise blend of medical air and USP oxygen via outlet ports to infant, pediatric and adult patients. The exact Fractional Concentration of Inspired Oxygen (FIO2) blend of gases corresponds to the dialed in FIO2 set- ting indicated by the control knob (dial).
READ ALL INSTRUCTIONS BEFORE USING
This manual instructs a Professional to install and operate the Air-Oxygen Blender. This is provided for your safety and to prevent damage to the Air-Oxygen Blender. If you do not understand this manual,
DO NOT USE the Air-Oxygen Blender and contact your Provider.
LIMITED WARRANTY AND LIMITATION OF LIABILITY
Maxtec warrants that the Blender, (the Product), will be free of defects in workmanship and/ or material for the following period: Two (2) years from shipment. Should any failure to conform to this warranty appear within the applicable period, Maxtec shall, upon written notification thereof and substantiation that the goods have been stored, installed, maintained and operated in accordance with the product instructions and standard industry practice, and that no modifications, substitutions, or alterations have been made to the goods, correct such defect by suitable repair or replacement at its own expense.
ORAL STATEMENTS DO NOT CONSTITUTE WARRANTIES.
The representatives of Maxtec or any retailers are not authorized to make oral warranties about the merchandise described in this contract, and any such statements shall not be relied upon and are not part of the contract for sale. Thus, this writing is a final, complete and exclu- sive statement of the terms of that contract.
THIS WARRANTY IS EXCLUSIVE AND IS IN LIEU OF ANY WARRANTY OF MERCHANTABILITY, FITNESS FOR A PARTICULAR PURPOSE OR OTHER WARRANTY OF QUALITY, WHETHER EXPRESS OR IMPLIED.
Maxtec shall not under any circumstances be liable for special, incidental or consequential damages including but not limited to lost profits, lost sales, or injury to person or property. Correction of non-conformities as provided above shall constitute fulfillment of all liablities of Maxtec whether based on contract, negligence, strict tort or otherwise. Maxtec reserves the right to discontinue manufacture of any product or change product materials, designs, or specifications without notice. Maxtec reserves the right to correct clerical or typographical errors without penalty.
DANGER
This product is not intended as a life-sustaining or life-supporting device.
WARNINGS
- Only trained, qualified medical personnel under the direct supervision of a licensed physi- cian should operate the Air-Oxygen Blender .
- Use this Air-Oxygen Blender only for its Intended Use as described in this
- Confirm prescribed dose before administering to Monitor on a frequent basis.
- The Air-Oxygen Blender shall be serviced by a qualified service
- Always follow ANSI and CGA standards for Medical Gas Products, Flowmeters and Oxygen
- The stand-alone gas mixer is not suitable for use with O2
- An Oxygen Analyzer/Monitor must be used to verify oxygen
- Accuracy of oxygen concentration will be affected if bleed is not activated at flow settings below 15 l/min for the High Flow Blender, and 3 l/min for the Low Flow
DO NOT obstruct the alarm.
DO NOT use Blender when alarm is sounding.
DO NOT use oil in or around the Blender.
DO NOT occlude or obstruct the bleed port on the auxiliary outlet of the Blender.
DO NOT use near any type of flame or flammable/explosive substances, vapors or atmosphere.
- Oxygen Concentration Dial does not rotate 360 degrees. Rotating the dial less than 21% or over 100% oxygen will damage the Blender.
CAUTIONS
- Federal (USA) law restricts this device to sale by or on the order of a
- Turn off gas supplies when Air-Oxygen Blender is not in
- Store the Air-Oxygen Blender in a clean, dry area when not in
- The Air-Oxygen Blender contains magnetic, ferrous material that may affect the results of an
- Ensure all connections are tight and leak
- Avoid excessive pressure surges greater than 100 psi (6.9 bar) when pressuring the Blender
DO NOT steam autoclave.
DO NOT immerse Air-Oxygen Blender into any liquid.
DO NOT gas sterilize with (EtO) Ethylene Oxide.
DO NOT use if dirt or contaminants are present on or around the Blender or connecting devices.
DO NOT smoke in an area where oxygen is being administered.
DO NOT clean with aromatic hydrocarbons.
- Inlet pressure of device used in conjunction with Blender must match inlet pressure of When using a bottled high pressure gas source, always use a pressure reducing regulator set within 30-75 psi (2.1-5.2 bar).
EXPLANATION OF ABBREVIATIONS
FIO2 Fractional Concentration of Inspired Oxygen
DISS Diameter Indexed Safety System
NIST Non-Interchangeable Screw Thread
psi Pounds Per Square Inch
l/min. Liters Per Minute
SYMBOL GUIDE
Federal law (USA) restricts this device to sale by or on order of a physician. | |
| | |
| |
MicroMax High Flow
Primary Outlet Flow Range. 15-120 l/min With both supply pressures at 50 psi (3.4 bar) with BLEED closed
Auxiliary Outlet Flow Range 2-100 l/min With both supply pressures at 50 psi (3.4 bar) with BLEED open
Bleed Flow. 13 l/min or less at 50 psi (3.4 bar)
Maximum Combined Flow (All Outlets) ≥ 120 l/min
Bypass Flow (Loss of Air or Oxygen supply) > 85 l/min
Bypass Alarm Activation 50 psi (3.45 bar) 13-25 psi (0.9-1.7 bar)
Bypass Alarm Activation 60 psi (4.14 bar) 16-24 psi (1.1-1.65 bar)
MicroMax Low Flow
Primary Outlet Flow Range 3-30 l/min With both supply pressures at 50 psi (3.4 bar) with BLEED closed
Auxiliary Outlet Flow Range 0-30 l/min With both supply pressures at 50 psi (3.4 bar) with BLEED open
Bleed Flow. 3 l/min or less at 50 psi (3.4 bar)
Maximum Combined Flow (All Outlets) ≥ 30 l/min
Bypass Flow (Loss of Air or Oxygen supply) > 45 l/min
Bypass Alarm Activation 50 psi (3.45 bar) 18-22 psi (1.2-1.5 bar)
Bypass Alarm Activation 60 psi (4.14 bar) 16-24 psi (1.1-1.65 bar)
Alarm Reset When pressure differential is 6 psi (0.4 bar) or less
Alarm Sound Level ≥ to 80 db at 1 ft (0.3 m)
Oxygen Concentration Adjustment Range. 21-100%
Gas Supply Pressure 30 – 75 psi (2.1 – 5.2 bar) Air and Oxygen within 10 psi (0.69 bar) of each other
Mixed Gas Stability ±1% Oxygen
Connection Types DISS Type – Air & Oxygen Inlets & Outlets and / or NIST Type – Air & Oxygen Inlets
NOTE: All flow-rate values are as measured from an Oxygen flowmeter (uncorrected).
Dimensions (without fittings)
Depth 4.9 in (12.5 cm)
Width 2.3 in (5.7 cm)
Height. 4.1 in (10.4 cm)
Weight 2.29 lbs (1.04 kg)
Shipping Weight. 2.95 lbs (1.34 kg)
Operating Temperature Range 59°F to 104°F (15°C to 40°C)
Transport / Storage Requirements
Temperature Range -10°F to 140°F (-23°C to 60°C)
Humidity. Max 95% Noncondensing
FIO2 Accuracy* ± 3% of full scale
Pressure Drop (Low Flow) £ 2 psi (0.14 bar) at inlet pressures from 30-90 psi (2.1- 6.2 bar) and at 10 l/min flow rate at 60% FIO2
Pressure Drop (High Flow) £ 3 psi (0.21 bar) at inlet pressures from 30-90 psi (2.1- 6.2 bar) and at 30 l/min flow rate at 60% FIO2 The Air-Oxygen Blender has been cleaned for Oxygen Service prior to delivery. The Air-Oxygen Blender reverse gas flow complies with clause 6 of ISO 11195. The Oxygen Analyzer should comply with ISO 80601-2-55.
Dryness and Composition for inlet gases
Air.
Medical Air supply should meet the requirements of ANSI Z86.1 – 1973 commodity specification for Air, type 1 grade D or better
Oxygen
Oxygen supply must meet all requirements of USP Medical Oxygen Grade N
Dew Point.
Both inlets should remain 10°F (5.55°C) or more below the lowest temperature to which the air distribution system equipment is exposed. At a temperature of 25°F (-3.9°C) and a pressure of 90 psi (6.33 kg/cm2) this equates to 2000 mg/m3.
- Accuracy of oxygen concentration will be affected if bleed is not activated at flow settings below 15 l/min for the high flow Blender, and 3 l/min for the low flow Blender.
Specifications are subject to change without prior notice.
CAUTION: Missing or illegible labels must be replaced, contact Maxtec. Depending on model, your fittings and/or labels may differ from these diagrams.

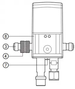
COMPONENT DESCRIPTION
- OXYGEN CONCENTRATION DIAL — A dial used for selecting oxygen concentrations between 21%-100%. The FIO2 scale is used for reference only. This Dial does not rotate 360°. The dial starts at 21% and ends at 100%.
- PRIMARY OUTLET PORT — A male DISS oxygen fitting with check valve that delivers flow when engaged to any controlling device, such as a
- AUXILIARY OUTLET PORT — A male DISS oxygen fitting with check valve that deliv- ers flow when engaged to any controlling device, such as a This outlet is equipped with a bleed valve that allows the user to control if the bleed is ON or OFF. With the bleed in the ON position, this outlet delivers accurate oxygen concentrations in the following flows: 2–100 l/min (high flow), 0–30 l/min (low flow).
- AUXILIARY BLEED COLLAR — The collar is used to engage and disengage the The bleed is necessary to maintain accurate FIO2 Concentration below 15 l/min for the High Flow and £ 3 l/min for the Low Flow. To activate the bleed, slide the knurled collar back until it contacts the cover. To deactivate the bleed, pull the collar away from cover until it reaches a positive stop.
- OXYGEN INLET FITTING — A female DISS or NIST oxygen fitting with one way valve that is used to connect an oxygen supply
- AIR INLET FITTING — A male DISS or NIST air fitting with one way valve that is used to connect an air supply
- ALARM — An audible alarm that sounds due to an excessive pressure drop or deletion of either gas
- REAR SLIDE MOUNT WITH DOVE TAIL
PRE-USE TESTING
WARNING: Read this User Manual before installing or operating the Air-Oxygen Blender. Confirm the concentration of air/oxygen with an Oxygen Analyzer/Monitor.
CAUTION: Inspect the Air-Oxygen Blender for visual damage before use,
DO NOT USE if damaged.
NOTE: The tests listed below should be performed prior to placing the Blender in service.

Pre-Use Testing consists of:
- Alarm Test
- Reverse Gas Flow Procedure
- Secure the Air-Oxygen Blender to a wall or pole bracket in an upright
- It is recommended to install a condensation trap in the air supply
- Connect the air and oxygen supply lines to the appropriate inlet fittings on the bottom of the
- Attach a flowmeter, or other metering device to one of the outlet ports and verify FIO2 range for accuracy with an oxygen
Primary Outlets Flow capacity:
- High Flow Blender (R203P14 Model) 15 l/min to 120 l/min
- Low Flow Blender (R203P13 Model) 3 l/min to 30 l/min
Auxiliary Outlet:
The auxiliary flow outlet maintains the same flow capacity and FIO2 accuracy as the Primary Outlets with Bleed Valve not engaged. When bleed flow is activated, some of the air/oxygen mixture will vent to atmosphere to maintain FIO2 concentration accuracy at the Low Flow settings.
- High Flow Blender (R203P14 Model) 15 l/min or less
- Low Flow Blender (R203P13 Model) 3 l/min or less 5 Attach a supply line to the outlet port of the
ALARM TEST
- Connect the Air-Oxygen Blender to air and oxygen sources, pressurize the Blender and turn “ON” the
- Set Oxygen Concentration Dial to 60%
- Disconnect or turn “OFF” the air supply to the Air-Oxygen The Blender should alarm with a loud whistle noise. The whistle indicates the alarm is operating correctly.
- Reconnect and activate the air supply line to the Blender, the alarm should stop
- Disconnect or turn “OFF” the oxygen supply line to the The whistle indicates the alarm is operating correctly.
- Reconnect and activate the oxygen supply line to the Blender, the alarm should stop
- If alarm fails to function properly,
DO NOT USE.
REVERSE GAS FLOW PROCEDURE
- Disconnect the oxygen hose from the gas Remove all outlet connections from the Blender to ensure that there is no outlet flow.
- While gradually increasing the air supply pressure from 30-75 psi (2.07-5.17 bar) check for leakage past the oxygen inlet check
- Replace the Duckbill Check Valve in the oxygen inlet if leakage is > 100 ml/min. Reference Air-Oxygen Blender Service Manual (P/N R203M15).
- Repeat steps 1-3 to check for leakage past the air inlet check
OPERATING INSTRUCTIONS
CAUTION: Inspect the Air-Oxygen Blender for visual damage before use, DO NOT USE
if damaged.
- Secure Blender to wall or pole mount
- Connect Air and Oxygen supply lines from Blender to wall
- Connect flowmeter to Blender
- Adjust the Oxygen Concentration Dial to the prescribed
NOTE: The Oxygen Concentration Dial does not rotate 360°. DO NOT force dial less than 21% or over 100% oxygen, this will damage the Blender.
- Confirm the flow of air and/or oxygen mixture to the
- Confirm the concentration of air/oxygen with an Oxygen Analyzer/Monitor. If necessary activate bleed flow valve to maintain FIO2
- To activate the bleed, slide the knurled collar back until it contacts the
- To deactivate the bleed, pull the collar away from the cover until bleed flow valve is
- Turn “OFF” gas supplies when Air-Oxygen Blender is not in
CLEANING
CAUTION
DO NOT steam autoclave.
DO NOT immerse the Air-Oxygen Blender into any liquid.
DO NOT use any strong solvent or abrasive cleaners.
DO NOT gas sterilize with (EtO) Ethylene Oxide.
DO NOT clean with aromatic hydrocarbons.
DO NOT allow the liquid to penetrate the device.
DO NOT gas or heat sterilize.
- Disconnect all gas connections and equipment before
- Close Bleed Valve to ensure O-Ring is not
- Clean exterior surfaces using Super Sani-Cloth germicidal disposable wipes. Remove all visible contamination from the external surfaces of the device and its Be sure to closely inspect and remove contamination from seams and recesses on the device that may trap contaminants. Wipe with clean paper towel to remove debris.
- After all visible contamination is removed; use a second germicidal wipe to thoroughly wet the surfaces of the device and Allow to remain wet for 4 minutes. Use additional wipes if needed to assure surfaces are wetted continuously for 4 minutes.
- Allow device to air dry
- Visually inspect the device for visible Repeat cleaning/disinfection process if necessary.
MAINTENANCE
The following maintenance on the Air-Oxygen Blender must be performed by a trained service technician:
- The alarm should be tested prior to being placed into clinical service and periodically there
- Every year conduct the Operational Verification Procedure (OVP).* A detailed description of the OVP tests can be found in the Blender Service Manual (P/N R203M15), available on the Internet; maxtec.com.
- Every 2 years the Air-Oxygen Blender should be
- Refer to the Air-Oxygen Blender Service Manual (P/N R203M15) for complete details regarding further maintenance and
TECHNICAL DESCRIPTION
For a complete Technical Description of the Air-Oxygen Blender and list of Replacement Parts, reference the Air-Oxygen Blender Service Manual (P/N R203M15) available on the Internet: www.maxtec.com.
RETURNS
Returned products require a Returned Material Authorization (RMA) number, contact Maxtec. All returns must be packaged in sealed containers to prevent damage. Maxtec will not be responsible for goods damaged in transit. Refer to Maxtec Return Policy available on the Internet: www.maxtec.com.
TROUBLESHOOTING
If the Air-Oxygen Blender fails to function, consult the Troubleshooting Guide below. If prob- lem cannot be solved by using Troubleshooting Guide, refer to the Air-Oxygen Blender Service Manual (P/N R203M15) available on the Internet; www.maxtec.com or consult your Provider.
| PROBLEM | PROBABLE CAUSE | REMEDY |
| Oxygen concentration discrepancy between Blender setting and Analyzer/ Monitor (greater than 3%) | 1. High Flow model, flow requirement below 15 l/min. Low Flow model, flow requirement below 3 l/min. 2.Analyzer/Monitor inaccurate 3 Low flow bleed obstructed 4. Gas supply contaminated 5.Downstream device causing back flow or restricted flow | 1. Use auxiliary outlet & engage bleed 2. Recalibrate Analyzer/ Monitor or Verify with second Analyzer/Monitor 3. Remove obstruction 4.Check gas sources with calibrated Oxygen Analyzer/ Monitor to confirm Oxygen is 100% and Air is 21% 5 Isolate Blender. Check oxygen concentration at Blender Outlets |
| No flow at Blender outlets | 1. Gas sources turned “OFF” 2. Gas sources not connected | 1. Turn gas sources “ON” 2. Connect gas sources |
| Alarm sounding | Difference between Oxygen and air inlet pressures greater than specified | Correct pressure difference until Air and Oxygen pressures are within specification |
DISPOSAL INSTRUCTIONS
This device and its packaging contain no hazardous materials. No special precautions need to be taken when disposing the device and/or its packaging. Please Recycle.

Federal law (USA) restricts this device to sale by or on order of a physician.















