
Touch-Free RFID Smart Lock
User Guide
ASSIGNED USE FUNCTIONALITY
Aspire Touch-Free RFID Smart Locks are operated by RFID Credential or by Mobile-ID. The Digilink network application simplifies lock management, and admin and manager credentials allow for management access.
LOCK PARTS
Front Unit

Deadlatch Rear Unit

RFID Credentials

CREDENTIALS

OPERATING INSTRUCTIONS
In assigned use functionality, users operate the lock with their assigned user credential(s) (either an RFID credential or Mobile-ID credential).
Operate with an Assigned RFID Credential

Unlock: Present an assigned RFID credential.
Lock: Close the door.
Operate with an Admin or Manager RFID Credential

Unlock: Present a valid Admin or Manager RFID credential.
Lock: Close the door.
Remote Unlock Using the Network App

Unlock: Locate the specific lock that you wish to remotely unlock on the hardware list within the Network app.
Toggle the switch next to the lock name to unlock.
Present hand to the lock interface to unlock.

Lock: Close the door.
Operate with an Assigned Mobile ID Credential

Unlock: Present an assigned Mobile ID credential.
Lock: Close the door.
Operate with an Admin or Manager Mobile ID Credential

Unlock: Present a valid Admin or Manager Mobile ID credential.
Lock: Close the door.
SUPPORT
Error Condition Indicators
10 rapid beeps:
The lock is binding which means that either door alignment or stored items are preventing the lock from operating. Press on the door while operating the lock. If the error condition persists, contact Digilock support for assistance.
2 sets of three beeps:
The batteries are low. Replace the batteries.
Does Not Unlock with an RFID Credential or Mobile-ID
The lock does not recognize the RFID credential or Mobile-ID. For immediate access, operate with a valid Admin or Manager credential.
Follow instructions to Assign User Credential(s) located in the network setup guide, to assign the user to the lock.
Does Not Operate with an Admin or Manager Credential
The lock does not recognize the Admin or Manager credential. Follow instructions to Add Admin or Manager credentials located in the network setup guide. For immediate access, operate with another valid Admin or Manager credential, or with the network app.
Does Not Operate with the Network App
The lock may have not been added to the network. Follow the “Add Lock” instructions located in the network setup guide, to add the lock to the network, if the lock if still non-functional with the network app after following those instructions, contact Digilock support for additional assistance.
No Audible Feedback or LED
- The batteries may need to be replaced. For immediate access, operate with the Network App or a Power Jumper key.
- The front unit may not be properly connected to the rear unit. Remove the lock from the door and check the connection.
USING POWER JUMPER KEY

Insert the Power Jumper key into the key slot.
A two-tone beep will be heard and the LED will turn on.

While the key is inserted, present a valid Admin or Manager RFID credential or present a valid Admin or Manager Mobile ID credential to access the lock.
After gaining access to the lock, change the batteries as soon as possible. The batteries are located in the rear unit of the lock.
BATTERY REPLACEMENT
It is not necessary to remove the lock from the door. In case of battery failure while the door is locked, operate with a Power Jumper key.
CAUTION: Risk of explosion or leakage if the battery is replaced by an incorrect type, mixed with a different battery type, or inserted backward. Replace all batteries of a set at the same time. Be sure to insert batteries with correct polarities. Remove exhausted batteries from the product promptly and dispose of used batteries according to the battery manufacturer’s instructions.

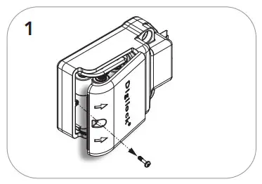
Remove the screw from the Cover Plate with a Phillips head screwdriver.
Remove the Cover Plate by lifting the tab at the edge of the cover, below the arrows.

Remove the batteries from the housing.
Replace with four premium alkaline AA batteries. Dispose or recycle used batteries according to local regulations.

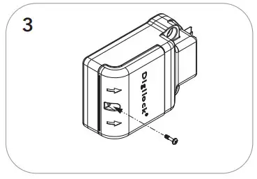
Replace the Cover Plate and secure it with the screw.
FCC Statement:
This equipment has been tested and found to comply with the limits for a Class B digital device, pursuant to part 15 of the FCC Rules. These limits are designed to provide reasonable protection against harmful interference in a residential installation. This equipment generates, uses, and can radiate radio frequency energy and, if not installed and used in accordance with the instructions, may cause harmful interference to radio communications.
However, there is no guarantee that interference will not occur in a particular installation. If this equipment does cause harmful interference to radio or television reception, which can be determined by turning the equipment off and on, the user is encouraged to try to correct the interference by one or more of the following measures:
- Reorient or relocate the receiving antenna.
- Increase the separation between the equipment and receiver.
- Connect the equipment into an outlet on a circuit different from that to which the receiver is connected.
- Consult the dealer or an experienced radio/TV technician for help.
Caution: Any changes or modifications to this device not explicitly approved by the manufacturer could void your authority to operate this equipment.
This device complies with part 15 of the FCC Rules. Operation is subject to the following two conditions:
(1) This device may not cause harmful interference, and (2) this device must accept any interference received, including interference that may cause undesired operation.
This equipment complies with FCC radiation exposure limits set forth for an uncontrolled environment. This equipment should be installed and operated with a minimum distance of 20cm between the radiator and your body.



















