Parrot Uncle F8245110V Nickel Crystal LED Caged DC Motor Ceiling Fan User Guide

Safety Information
- To reduce the risk of electric shock, the electricity has been turned off at the circuit breaker of fuse box before begin.
- All wiring must be in accordance with the National Electrical Code NASI/NFPA 70-1999 and local electrical codes. Electrical installation should be performed by a qualified licensed electrician.
- The outlet box and support structure must be securely mounted and capable of reliably supporting 35lb. (15.9kg). Use only UL listed outlet boxes marked
“Acceptable for Fan Support of 35lbs (15.9kg) or less.” - The fan must be mounted with a minimum of 7 ft. (2m) clearance from the trailing edge of the blades to the floor
- This product uses a lithium button/coin cell battery (Not included). If a new or used lithium button/coin cell battery is swallowed or enters the body, it can cause severe internal burns and can lead to death in as little as 2 hours. Always completely secure the battery compartment. If the battery compartment does not close securely, stop using the product, remove the batteries, and keep it away from children. If you think batteries might have been swallowed or placed inside any part of the body, seek immediate medical attention
- Do not place objects in the path of the blades
- To avoid personal injury or damage to the fan and other items, please be careful when working around or cleaning the
- Electrical diagrams are for reference only. Light kits that are not packed with the fan must be UL-listed and marked suitable for use with the model fan you are Switches must be UL General Use Switches. Refer to the instructions packaged with the light kits and switches for proper assembly.
- After making electrical connections, spliced conductors should be turned upward and pushed carefully up into the outlet box. The wires should be spread apart with the grounded conductor and the equipment-grounding conductor on one side of the outlet
- All setscrews must be checked and retightened where necessary before
THANK YOU FOR YOUR PURCHASE
Thank you for purchasing this quality product. To ensure correct function and safety, please read and save all instructions before using the product
SAFETY TIP
- To avoid possible electric shock, turn off the electricity at the main fuse box or circuit panel before you begin the fan installation or before servicing the fan or installing
- Read all instructions and safety information carefully before installing your fan and save these
- Make sure all electrical connections comply with local codes or ordinances and the National Electrical If you are unfamiliar with electric wiring, please use a qualified and licensed electrician.
- Make sure you have a location selected for your fan that allow clear space for the blades to rotate, and at least seven (7) feet of clearance between the floor and the fan blade The fan should be mounted at least thirty (30) inches from walls or other
upright structures.
- WARNING: The outlet box and ceiling support joist used must be securely mounted, and capable of supporting at least 100 To reduce the risk of fire, electric shock or personal injury, mount to the outlet box marked acceptable for fan supported and use mounting screws provided with the outlet box. The box must be supported directly by the building structure.
- WARNING: To reduce the risk of fire, electric shock or personal injury, mount to outlet box marked “acceptable for fan support” and use mounting screws provided with the outlet box most outlet boxes commonly used for the support of lighting fixtures are not acceptable for fan support and may need to be Consult a qualified electrician if in doubt.
- Electrical diagrams are for reference Light kits that are not packed with the fan must UL listed and marked suitable for use with the model fan you are installing. Switches must be UL. general use switches. Refer to the instructions packaged with the
light kits and switches for proper assembly.
- After installation is complete, check that all connections are absolutely
- After making electrical connections, spliced conductors should be turned upward and pushed carefully up into outlet
The wires should be spread apart with the grounded conductor and the equipment-grounding conductor on one side of the outlet box.
- WARNING: To reduce the risk of electrical shock and fire, do not use this fan with any solid-state fan speed control device, or
- Do not separate the reverse switch until the fan has come to a complete
- Do not insert anything into the fan blades while they are
- WARNING: To reduce the risk of personal injury, do not bend the blade brackets (also referred to as “flanges”) during assembly or after Do not insert objects in the path of the blades.
- To avoid personal injury or damage to the fan and other items, be cautious when working around or cleaning the
- Do not use water or detergent when cleaning the fan or fan A dry dust cloth or lightly dampened cloth will be suitable for most cleaning.
NOTE: The important safety precautions and instructions appearing in the manual are not meant to cover all possible conditions and situations that may occur. It must be understood that common sense and caution are necessary factors in the installation and operation of this fan.
NOTE: This product is not intended for use by persons (including children) with reduced physical, sensory or mental capabilities are different or are impaired, or lack of experience or knowledge, unless such persons are supervised or trained to operate the appliance by a person responsible for their safety.
NOTE: Children should be supervised to ensure that they do not use appliances as a toy.
Install Mounting Bracket
TRANSMITTER SETTING
To use factory pre-programmed setting – Skip the below programming steps. Insert battery (Not included) into transmitter, turn on the power supply to fan and it is ready to use.
Read all the steps BEFORE proceeding. Each step must be followed exactly in order to program the transmitter.
FIRST ONE USE INSTRUCTION
- Dial up to position“O”, it is on/off only for the lighting, and it is the brightest of the
- Dial down to position“D”, the brightness of the light can be control low or (*This function requires adjustable brightness product support).
SECOND ONE USE INSTRUCTION
- If you have more than 1 unit of this fan model in close proximity, it is equipped self-learning, please don’t press any key when self-learning.
- To set the second one down to the position of “1” (set to “0” position on one product when used directly).
- Turn on the power of the light
Battery(not included)
- Within 30 sec after the “Beep”, press and hold the LEARN button for 3 Once the receiver has detected and learned the frequency, the receiver will “Beep” twice, meanwhile the light will bright out twice. Programming/self- learning process is completed and fan is ready to use.

TRANSMITTER FUNCTION
TRANSMITTER FUNCTION
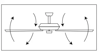
Forward
Fan rotates anti-clockwise creating a downward airflow delivering a cooling effect.
Suitable for hot weather condition or air-conditioned condition
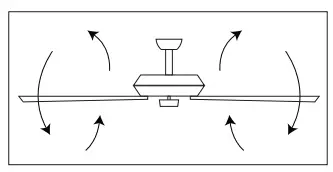
Reverse
Fan rotates clockwise creating an upward airflow moving warm air off the ceiling areas. This function works best at lower fan speed.
Suitable for cold weather or air-conditioned condition.
TRANSMITTER HOLDER
Installing Transmitter Holder
Install the transmitter holder to the wall or any flat surface with the two mounting screw provided.
ATTENTION1) If the fan is not responding to the transmitter. Turn off the power supply to fan for 30 sec and then restore power & reset the transmitter. 2) If long time not to use the transmitter, please take the battery out. |
SIZE OF PRODUCT
TROUBLESHOOTING GUIDE
Table of Contents
- Fan/ Transmitter is not working
- Fan is noisy
- Light is not working
- Fan Wobbles
Please refer to the instruction sheet for detailed directions and descriptions of installation steps and requirements.
- FAN/ TRANSMITTER IS NOT WORKING
| Ensure the transmitter is within the 20 foot range of the receiver |
| Refer to the TRANSMITTER SETTING instructions to set the transmitter |
| Check batteries to insure they are good and oriented correctly. The indicator should light up when the button is pressed. |
| Check the main and branch circuit fuses or breakers |
| Check the line wire connections to the fan and the switch wire connections in the switch housing per the instructions |
| If fan still does not work, please contact Customer Service Support@parrotuncle.com |
THE FAN IS NOISY
| Make sure all motor housing screws are tightened |
| Make sure the screws that a ach fan blade to motor are tight |
| Make sure the wire nut connectors are not rattling against each other or the interior wall of the switch housing |
| Allow 24-hour break in period. Most noises associated with the new fan may disappear during this time |
| If using a ceiling light kit, make sure the glassware is secured tightly |
| Make sure there is a short distance/gap from the ceiling to the top of the canopy. The canopy should not touch the ceiling! |
| Make sure your ceiling box is secure and that the rubber isolator pads are used between the mounting bracket and outlet box. |
LIGHT IS NOT WORKING
| Check Bulb to make sure it is installed correctly |
| Remove non-working bulb and replace with a bulb that is known to be a good working bulb |
MAINTENANCE
Due to the fan’s natural movement, connections may get loose after a period of usage. To ensure a proper and safety usage, inspect the suspension system and tighten all connections every 6 months.
Cleaning
Cleaning your fan periodically will prolong its useful life. Basic cleaning procedures are as follows:
- Please shut off the power before you clean the light fan and replace the
- The bulbs and nearby parts will be still hot after the power is shut To avoid burn, please clean them after they are cooled down.
- Don’t use sandpaper, wire brush and other sharp tools to clean the light
- Don’t clean the light fan by using detergents, acid or alkaline
- Use only soft or lint-free cloth to clean the light
- Please dry the light fan by cold-blast air after cleaning, in order to prevent dangerous leakage caused by water infiltrated into electriferous parts of the light fan or prevent rust of wet metal
- There is no need to oil the





























