
_____________________________
CEILING FAN

USE AND CARE GUIDE

BBCPD1725A2
Installation & Operating Instructions for the Parrotuncle Owner’s Installation, Manual
WARNING: SHUT POWER OFF AT FUSE OR CIRCUIT BREAKER
Safety Information
- To reduce the risk of electric shock, the electricity has been turned off at the circuit breaker or fuse box before begin.
- All wiring must be in accordance with the National Electrical Code NASI/NFPA 70-1999 and local electrical codes. Electrical installation should be performed by a qualified licensed electrician.
- The outlet box and support structure must be securely mounted and capable of reliably supporting 35lb.(15.9kg).Use only UL listed outlet boxes marked “Acceptable for Fan Support of 35lbs(15.9kg)or less.”
- The fan must be mounted with a minimum of 7 ft. (2m) clearance from the trailing edge of the blades to the floor
- Do not operate the reversing switch while the fan blades are in motion. You must turn the fan off and stop the blades before you reverse the blade direction.
- Do not place objects in the path of the blades.
- To avoid personal injury or damage to the fan and other items, please be careful when working around or cleaning the fan.
- Electrical diagrams are for reference only Light kits that are not packed with the fan must be UL-listed and marked suitable for use with the model fan you are installing Switches must be UL General Use Switches. Refer to the instructions packaged with the light kits and switches for proper assembly.
- After making electrical connections, spliced conductors should be turned upward and pushed carefully up into the outlet box.The wires should be spread apart with the grounded conductor and the equipment-grounding conductor on one side of the outlet box.
- All setscrews must be checked and retightened where necessary before installation.
![]()
WARNING: TO reduce the risk of personal injury, do not bend the blade brackets (also referred to as flanges) during assembly or after installation.Do not insert objects in the path of the blades.
WARNING: Remove the rubber motor stops on the bottom of the fan before installing the blades or testing the motor.
WARNING: To reduce the risk or fire or electric shock,do not use this fan with any solid-state speed control device.
WARNING: To avoid possible electric shock, turn the electricity off at the main fuse box before wiring. If you feel you do not have enough electrical wiring knowledge or experience,contact a licensed electrician.
WARNING: Electrical diagrams are for reference only. Optional use of any light kit shall be UL-listed and marked suitable for use with this fan.
WARNING: To reduce the risk of fire, electric shock, or personal injury, mount to outlet box marked” Acceptable for fan support of 35 lbs.(15.9 kg)or less ” and use the screws provided with the outlet box.

THANK YOU FOR YOUR PURCHASE
Thank you for purchasing this quality product. To ensure correct function and safety, please read and save all instructions before using the product
SAFETY TIP
1. To avoid possible electric shock, turn off the electricity at the main fuse box or circuit panel before you begin the fan installation or before servicing the fan or installing accessories.
2. Read all instructions and safety information carefully before installing your fan and save these instructions.
3. Make sure all electrical connections comply with local codes or ordinances and the National Electrical Code. If you are unfamiliar with electric wiring, please use a qualified and licensed electrician.
4. Make sure you have a location selected for your fan that allow clear space for the blades to rotate, and at least seven (7) feet of clearance between the floor and the fan blade tips. The fan should be mounted at least thirty (30) inches from walls or other upright structures.
5. WARNING: The outlet box and ceiling support joist used must be securely mounted, and capable of supporting at least 100 pounds . To reduce the risk of fire, electric shock or personal injury, mount to the outlet box marked acceptable for fan supported and use mounting screws provided with the outlet box. The box must be supported directly by the building structure.
6. WARNING: To reduce the risk of fire, electric shock or personal injury, mount to outlet box marked “acceptable for fan support” and use mounting screws provided with the outlet box most outlet boxes commonly used for the support of lighting fixtures are not acceptable for fan support and may need to be replaced. Consult a qualified electrician if in doubt.
7. Electrical diagrams are for reference only. Light kits that are not packed with the fan must UL listed and marked suitable for use with the model fan you are installing. Switches must be UL. general use switches. Refer to the instructions packaged with the light kits and switches for proper assembly.
8. After installation is complete, check that all connections are absolutely secure.
9. After making electrical connections, spliced conductors should be turned upward and pushed carefully up into outlet box. The wires should be spread apart with the grounded conductor and the equipment-grounding conductor on one side of the outlet box.
10. WARNING: To reduce the risk of electrical shock and fire, do not use this fan with any solid-state fan speed control device, or rheostat.
11. Do not separate the reverse switch until the fan has come to a complete stop.
12. Do not insert anything into the fan blades while they are rotating.
13. WARNING: To reduce the risk of personal injury, do not bend the blade brackets (also referred to as “flanges”) during assembly or after installation. Do not insert objects in the path of the blades.
14. To avoid personal injury or damage to the fan and other items, be cautious when working around or cleaning the fan.
15. Do not use water or detergent when cleaning the fan or fan blades. A dry dust cloth or lightly dampened cloth will be suitable for most cleaning.
NOTE: The important safety precautions and instructions appearing in the manual are not meant to cover all possible conditions and situations that may occur. It must be understood that common sense and caution are necessary factors in the installation and operation of this fan.
NOTE: This product is not intended for use by persons (including children) with reduced physical, sensory or mental capabilities are different or are impaired, or lack of experience or knowledge, unless such persons are supervised or trained to operate the appliance by a person responsible for their safety.
NOTE: Children should be supervised to ensure that they do not use appliances as a toy.
Blade screws(7PCS)
Mounting screws (2PCS)
Plastic wire nut (4PCS)
Washer (2PCS)
Screw (2PCS)
Metal plate(3PCS)

REMOTE CONTROL(1PCS)

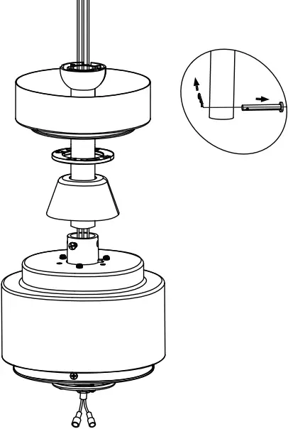
- Hanger bracket
- Canopy
- Decorative cover
- Coupling cover
- 4.5″ Ball/downrod assembly
- Hanging Pin
- Fan-motor assembly
- Switch housing
- LED assembly
- Glass shade
- Metal plate(3PCS)
- Blade(3PCS)
- “R” Locking Pin
Pls check whether above accessories are completed or not?Yes,and install.
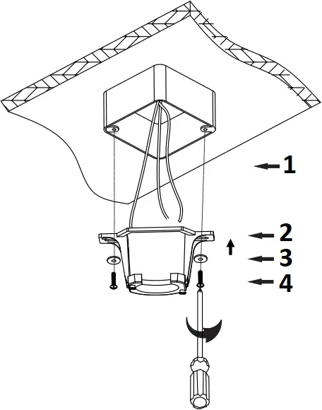
1 Attaching the fan to the electrical box
WARNING: To reduce the risk of fire,electric shock or personal injury, mount to an outlet box marked “Acceptable for fan support of 35 lbs. (15.9kg) or less,” and use the screws provided with the outlet box.
NOTE: The mounting bracket(A) is designed to slide into place on an outlet box with the outlet box screws(LL).

- Outlet box
- Mounting Bracket
- washers
- Self tapping screw
![]()
| ![]() | ![]()
|
![]() | ![]() |
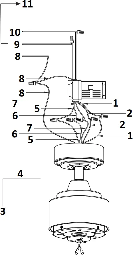
FROM POWER SOURCE
AC 110- 120 VOLT 60Hz
3.5AMPS.

- White
- Blue
- Use wire connecting nuts supplied with the remote controller.
- WIRE NUT
- Yellow
- Red
- Gray
- Ground wire
- AC IN N(White)
- AC IN L(Black)
- Use wire connecting nuts supplied with the fan

- RECEIVER
- CANOPY
Install remote control

- Carefully push the canopy to the bottom of the mounting bracket, make two sliding holes aligned to the two prominent screws on the mounting bracket, and then turn clockwise until tight.
- Push the canopy ring to the bottom of the canopy, slide the inner holes aligned to the two prominent screws on the mounting bracket again, and turn the canopy ring clockwise until tight.
remote control <ONLY>
Preparing for mounting

1:Remove the mounting bracket from the canopy by loosening the two canopy screws located in the L shaped slots.
2:Remove and save the two canopy screws in the round holes. This will enable you to remove the mounting bracket
LIGHT MUST BE KEPT AT THE ON POSITION
FAN MUST BE KEPT AT THE HIGH SPEED
![]() | ![]() |
![]()
| |
![]()
| |
![]() | |
![]() | |
WIRING SCHEMATIC DIAGRAM FOR RECEIVER

- Black wire
- Power supply live-wire
- White wire
- Power supply neutral-wire
- Green
- Ground wire
- Antenna wire
- Red
- To Motor wire
- Grey
- Yellow
- Blue
- Light live-wire
- White
- Light neutral-wire

- Receiver
POWER PARAMETER LIST
Voltage | Fan(max.) | Lamp(max.) |
| 120V | 40W | 60W |
Adopt RF wireless digit emission technique, biunique controlled , coincident code rate is less than one millionth.(Emitter and receiver must be sent back to factory for maintenance if damaged.)
Receiver can be controlled by any angles of the emitter in prescriptive space, unrestricted by direction.
With the memory function, the controller can save the status( light and direction ) while the supply power OFF and resume to the original after reload the power supply.
FUNCTION INSTRUCTION OF EMITTER

(1) LED indicated light
(2) ON/OFF the fan
(3) Turn up the speed of the fan
(4) Turn down the speed of the fan
(5) Direction of the fan (reverse switch)
(6) Short press: ON/OFF the light
Long press: Adjust the brightness of the light
(7) Timing control of the fan
(8) 3V CR2032 battery X 1 pcs
KINDLY REMINDERS:
1. If the emitter can not control the fan, learning code matching mode is used between emitter and receiver. Turn “ON” the supply power within 30 seconds and press the emitter’s ”
” button for 5 seconds, it can load normally after hearing a long sound “bee”, which means learning successfully and it can works normally.
(PS: Learning mode is not accepted after turn “ON” the supply power for 30 seconds)
2. When the emitter cannot control the receiver, please check the battery switch touching normally or not, correction of the positive and negative, full or empty of the power.
3. When the emitter cannot control the receiver, please check is there any existence of similar remote controlled products nearby, then check whether they works, because remote controlled product with the same frequency will disturb each other.
4. Low voltage of battery will affect the sensitivity of the emitter and the signal reception accordingly (the indicated light will flash out its warning when the battery get low voltage), must replace if the battery is getting low voltage.
5. Please take out the battery from the emitter when leaving unused for long time.
6. The maximum load of lighting see the above”POWER PARAMETER LIST”
PS: please connect the ground wire correctly, otherwise it may cause the light micro-light or flash
7. When installing the fan,the fan ceiling cover don’t press the antenna(or other wire),it is easy to breakdown the wire and short-circuited.
size of product


TROUBLESHOOTING GUIDE
Table of Contents
- Fan / Remote is not working
- Fan is noisy
- Fan Wobbles
- Light is not working
Please refer to the instruction sheet for detailed directions and descriptions of installation steps and requirements.
1. FAN / REMOTE IS NOT WORKING
| Ensure the remote is within the 20 foot range of the receiver |
| To reset the remote control: 1) Turn off power to fan using the wall switch or circuit breaker. 2) Remove batteries from remote. 3) Wait 10 seconds. 4) Replace batteries and turn power on |
| Check batteries to insure they are good and oriented correctly |
| Check to make sure the frequency switches (DIP Switches) from the remote to the receiver are set to the same frequency |
| Check the main and branch circuit fuses or breakers |
| If using a Variable Speed Wall Switch, ensure it is specifically designed for use with a ceiling fan. |
| Check the line wire connections to the fan and the switch wire connections in the switch housing per the instructions |
| If fan still does not work, please contact Customer Service [email protected] |
2. THE FAN IS NOISY
| Make sure all motor housing screws are tightened |
| Make sure the screws that attach fan blade to motor are tight |
| Make sure the wire nut connectors are not rattling against each other or the interior wall of the switch housing |
| Allow 24-hour break in period. Most noises associated with the new fan may disappear during this time |
| If using a ceiling light kit, make sure the glassware is secured tightly |
| Make sure there is a short distance/gap from the ceiling to the top of the canopy. The canopy should not touch the ceiling! |
| Make sure your ceiling box is secure and that the rubber isolator pads are used between the mounting bracket and outlet box |
3. THE FAN WOBBLES
| Verify all blades and blade bracket screws are secure (most fan wobble problems are caused by loose parts). Once fan is properly installed, run the ceiling fan for 10 minutes to let the fan self-adjust. |
| If wobble occurs after running the fan for 10 minutes, verify blade level using the following process: a) select a point on the ceiling above the tip of one of the blades. Then select the fan blade and measure from the center of the selected blade to point on the ceiling. Rotate the fan until the next blade is positioned and repeat the measurement using the same point from the ceiling for every blade. Measurements should be within 1/8 inch. b) If all deviation are less than 1/8 inch and the fan continues to wobble, please contact Customer Service [email protected] to order a complimentary Blade Balancing Kit |
| – If all deviations are less than 1/8 inch and the fan continues to wobble, please contact Customer Service [email protected] to order a complimentary Blade Balancing Kit |
4. LIGHT IS NOT WORKING
| Check Bulb to make sure it is installed correctly |
| Remove non-working bulb and replace with a bulb that is known to be a good working bulb |
| To reset the remote control: 1) Turn off power to fan using the wall switch or circuit breaker. 2) Remove batteries from remote. 3) Wait 10 seconds. 4) Replace batteries and turn power on |
AFTER INSTALLATION
WOBBLE”
The fan blades have been adjusted in the factory to minimize any wobble
NOTE:CEILING FANS TEND TO MOVE DURING OPERATION DUE TO THE FACT THAT THEY ARE MOUNTED ON A RUBBER CROMMET. IF THE FAN WAS MOUNTED RIGIDLY TO THE CEILING, IT WOULD CAUSE EXCESS VIBRATION. MOVEMENT OF A FEW CENTIMENTERS IS QUITE ACCEPTABLE AND DOES NOT SUGGEST ANY PROBLEM
TO REDUCE THE FAN WOBBLE: PLEASE CHECK THAT ALL SCREWS WHICH SECURED THE MOUNTING BRACKET AND DOWNROD ARE SECURE.
BALANCING A WOBBLING CEILING FAN:
For your convenience, a Balancing Kit is included; please follow this procedure when balancing the fan:
1. Check that all blade and blade arm screws are secure.
2. Most fan wobbling problems are caused when blade levels are unequal. Check this level by selecting a point on the ceiling above the tip of one of the blades. Measure this distance.Rotate the fan until the next blade is positioned for measurement. Repeat for each blade. The distance deviation should be equal within 1/8″(0.32cm).
3. Use the enclosed Blade Balancing Kit if the blade wobble is still noticeable.
4. If the blade wobble is still noticeable, interchanging two adjacent (side by side) blades can redistribute the weight and possibly result in smoother operation. WARNING: TO REDUCE THE RISK OF PERSONAL INJURY, DO NOT BEND THE BLADE ARM WHILE INSTALLING, BALANCING THE BLADES, OR CLEANING THE FAN. DO NOT INSERT FOREIGN OBJECTS BETWEEN ROTATING FAN BLADES.
NOISE
When it is quiet(especially at night) you may hear occasional small noises. This is normal. Please allow a 24-hour “breaking-in” period, most noises associated with a new fan disappear during the time.
CARE AND CLEANING
1. Periodic cleaning of your ceiling fan is the only maintenance required. Use a soft brush or lint free cloth to avoid scratching the paint finish. Please make sure to turn off electricity power before you clean your fan
2. Do not use water when cleaning your ceiling fan. It could damage the motor or the blades and create the possibility of an electrical shock.
3. Motor has permanently lubricated ball bearing. No need to oil
NOTE: MAKE SURE THE POWER IS OFF AT THE ELECTRICAL PANEL BOX BEFORE YOU ATTEMPT ANY CLEANING OR REPAIRS.






























