Dethatcher lawn comb 120cm mower
tractor garden grass moss removal
Instruction Manual![]()
Illustration similar, may vary depending on model
Dethatcher lawn comb 120cm mower tractor garden grass moss removal
Please read and follow the operating instructions and safety information prior to initial operation.
Technical changes reserved!
Illustrations, functional steps, and technical data may deviate insignificantly due to continuous further developments.
The information contained in this document may alter at any time without prior notice. No part of this document may be copied or otherwise duplicated without prior written consent. All rights reserved. WilTec Wildanger Technik GmbH cannot be held liable for any possible mistakes in this operating manual, nor in the diagrams and illustrations shown. Although WilTec Wildanger Technik GmbH has made every possible effort to ensure that this operating manual is complete, accurate, and up-to-date, errors cannot be ruled out entirely. If you have found an error or wish to suggest an improvement, we look forward to hearing from you. Send us an e-mail to:[email protected]
or use our contact form: https://www.wiltec.de/contacts/
The most recent version of this manual in several languages can be found in our online shop:https://www.wiltec.de/docsearch
Our postal address is:
WilTec Wildanger Technik GmbH
Königsbenden 12
52249 Eschweiler Germany
To return your goods for exchange, repair, or other purposes, please use the following address. Attention! To allow for a trouble-free complaint or return, it is important to contact our customer service team before returning your goods.
Retourenabteilung
WilTec Wildanger Technik GmbH
Königsbenden 28
52249 Eschweiler Germany
E-mail: [email protected]
Phone: +49 2403 55592–0
Fax: (+49 2403 55592–15)
Introduction
Thank you for choosing to purchase this quality product. To minimise the risk of injury, we ask you to always take some basic safety precautions when using this product. Please read this operating manual carefully and make sure that you understand it.
Keep these operation instructions in a safe place.
Safety instructions
General remarks
- Read the entire user’s manual, making sure that you have understood them, before using the dethatcher lawn comb.
- Before operating this device, the user must have read and understood all safety instructions and warnings as well as all operational, maintenance, and storing instructions.
- Not operating and maintaining the device correctly can provoke severe injuries to the user or nearby persons.
Operation instructions
- Never transport persons with the device. Never sit or stand on it.
- Never allow children to play on the device, to stand or climb on it.
- Check the device before every use to make sure that it is in a good condition.
- Immediately replace or repair damaged or worn parts.
- Before operating the device, check it for loose parts.
- Drive around large holes and ditches when using the device.
- Be careful when using the device near streams, ditches, and steep slopes. When working on impracticable ground, always reduce your speed.
- Only tow the device with the vehicles recommended.
- For proper towing, you must always read the user’s manual to the towing vehicle.
- Secure and lock the hanger assembly of the hitch before operating the device.
Contusion and cutting dangers
- While operating the device, keep your hands and feet away from moving parts.
- While operating the device, always wear protective clothing, eye protection, gloves, and working boots.
WARNING: The warnings, precautionary measures, and instructions of this operation manual can- not cover all possible conditions and situations. Therefore, always be very careful when using the device.
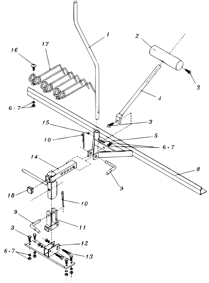
Assembly
- Attach the spring tine (17) to the frame (8) by using the round head bolt M8×20 (16), the hexagonal nut M8 (6) and the lock washer ⌀8 (7), then tighten.
- Attach the lift handle (1) to the frame (8) by using the hexagonal bolt M5×30 (5) and hexagonal nut M5 (15), then tighten.
- Attach the adjusting rod (4) to the frame (8) by using the hexagonal bolt M8×25 (3), the hexagonal nut M8 (6) and the lock washer ⌀8 (7), then tighten.
- Attach the adjusting frame (14) to the frame (8) by using a pin (9) and a hair cotter pin ⌀3 (10).
- Insert the plastic cap (18) to the adjusting frame (14).
- Attach the connector (11) to the bracket (12) by using the hexagonal bolt M8×45 (13), the hexagonal nut M8 (6) and the lock washer ⌀8 (7), then tighten. Tighten all loose screws.
- Attach the connector (11) to the bracket (12) by using a pin (9) and a hair cotter pin ⌀3 (10).
- Connect the adjusting steel block (2) with the adjusting rod (4), adjust them for working depth.
- The hexagonal bolt M8×25 (3), the hexagonal nut M8 (6) and the lock washer ⌀8 (7) will serve to connect the rake to the frame (8).
Parts list
| NO | Name | Qty. | NO | Name | Qty. |
| 1 | Handle | 1 | 10 | Hair cotter pin 03 | 2 |
| 2 | Adjusting steel block | 1 | 11 | Connector | 1 |
| 3 | Hex bolt M8x25 | 6 | 12 | Bracket | 1 |
| 4 | Adjusting rod | 1 | 13 | Hex bolt M8x45 | 2 |
| 5 | Hex bolt M5x3o | 1 | 14 | Adjusting frame | 1 |
| 6 | Hex nut M8 | 22 | 15 | Hex nut M5 | 1 |
| 7 | Lock washer o8 | 22 | 16 | Round head bolt M8x2o | 15 |
| 8 | Frame | 1 | 17 | Spring tine | 15 |
| 9 | Pin | 2 | 18 | Plastic cap | 1 |
Exploded view

Important Note:
Reproduction and any commercial use (of parts) of this operating manual, requires a written permission of WilTec Wildanger Technik GmbH.
https://www.XPOtool.com
Item 51704
The Tool Experts

















