Dainolite SAM-4012HC 12-Light Black Transitional Chandelier Instructions
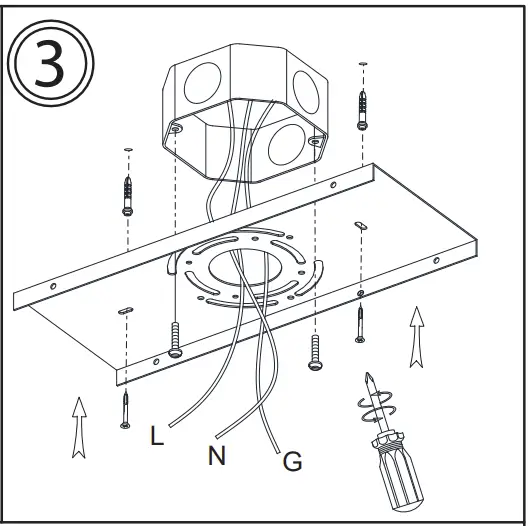
Installation Instruction






- 12x 60W Max E26
- T10 type recommended
- Not included
- LED compatible
Dimensions

Warning/Attention
This product must be installed in accordance with the applicable installation code by a person familiar with the construction and operation of the product and the hazards involved.
DO NOT RETURN PRODUCT TO THE RETAILER
For Warranty:
Contact the factory directly in writing: Email [email protected] . Include a copy of your purchase invoice and describe the defect. A factory person will contact you directly to advise what further action will be taken.
For missing hardware or broken glass:
Contact the factory directly in writing: Email [email protected] . The missing or broken parts will be shipped to you directly the same day after receipt of your email (weekend excluded)
Customer Support
1401 Courtney Park Drive East, Missisauga, Ontario,Canada L5T 2E4
Tel: (905) 564-1262
Fax: (905) 564-1299
Email: [email protected]
Web: dainolite.ca
















