ATRIX Rapid Red Cordless Stick Vacuum ACSV-1 Owner’s Manual


Model: ACSV-1
22V, 200W
Atrix
1350 Larc Industrial Blvd.
Burnsville, MN 55337
www.atrix.com
[email protected]
Telephone: 952.894.6154
Toll Free Telephone: 800.222.6154
Fax: 952.894.6256
Components and Equipment

- Motorized Illuminated Floor Brush
- Floor Release button
- Crevice nozzle
- Combo Tool
- Extension tube release button
- Dust container release button
- Power adjustment key
- Indicator lights
- ON/OFF button
- Battery pack release button
- Dust release button
- Tool Holder
- Extension tube
- Battery Pack (x2)
- Wall Hanger
- Wall Hanger Screws
- Charger
- Round Microfiber Filter
- Motorized upholstery nozzle
- Soft Roller Brush (spare included)
IMPORTANT SAFETY INSTRUCTIONS
READ ALL INSTRUCTIONS BEFORE USING APPLIANCE
WARNING:
TO REDUCE THE RISK OF FIRE, ELECTRICAL SHOCK OR INJURY:
- Never charge the battery or appliance for extended periods of time.
- Do not use this vacuum cleaner if the charger or battery are damaged.
- Do not use this product without the dust container and filter in place.
- Do not handle the plug, charger or appliance with wet hands.
- Do not operate this vacuum for extended periods of time near heat sources, such as fires, radiators, heater, lit cigarettes etc.
- This product features a thermal safety auto shut-off device. If the vacuum overheats, the power will instantly stop. In this event, the device should be switched off. Clean the filter, check for clogs and obstructions and turn switch back on.
- Do not unplug by pulling the cord. Grasp the plug to unplug, not the cord.
- Ensure that all vents and openings are kept clear of dust, lint, hair and anything that may reduce airflow. It may cause the product to overheat.
- Ensure that hair, loose clothing, fingers and all parts of body are kept away from the openings and moving parts of the vacuum.
- This product uses a lithium-ion battery. Waste batteries should be recycled per your local laws and ordinances.
- Only use with original manufacturers batteries.
- Store battery away from high temperatures.
- Do not try to open the battery under any circumstances.
- This battery is a sealed unit and under normal circumstances poses no safety concern. In the unlikely event that acid liquid leaks from the battery, ensure that liquid stays away from skin and eyes. If liquid comes into contact with skin. Rinse with clean, fresh water and seek medical advice. If liquid comes into contact with eyes, rinse with clean fresh water and seek medical attention immediately.
- Extra care must be taken when cleaning on the stairs.
- Ensure the appliance is turned off before connecting any accessories.
- This appliance should not be used on liquids or wet surfaces.
- Do not pick up burning or smoking items, such as cigarettes, matches or hot ashes.
- Do not leave this product under direct sunlight for extended periods.
- This vacuum cleaner is not intended for use by children or persons with reduced physical abilities, unless they are under supervision.
- Do not allow children to play with the vacuum cleaner as a toy.
- If appliance needs repairing, this must be done by a qualified professional or electrician to avoid injury or further damage to the product.
SAVE THESE INSTRUCTIONS
Accessories
Extension Tube: Use for extended reach when using as an upright unit or for hard to reach places.
Motorized Illuminated Floor Brush: Use this for hard floors and tight knit rugs and carpets. Easily picks up dirt dust and small debris.
Motorized Upholstery Nozzle: Use this for upholstery, stairs, vehicles etc.
Combo Tool: Use this for vacuuming fabric furnishings such as sofas armchairs and curtains.
Crevice Nozzle: Features a narrow nozzle that makes for quick, easy cleanup of tight spaces such as corners and hard to reach areas.
Assembly Instructions
NOTE: Before assembling the vacuum, install the included wall mount hook to the wall. Ensure the wall mount is placed high enough for the vacuum to be securely mounted.
Assembling the main body:
- Install the battery into the housing by sliding it into the appropriate slot. It will “click” into place.

- Install the dust container by inserting the clip into the main body, then put the upper side into place. It will “click” to secure.

Assembling the motorized illuminated floor brush:
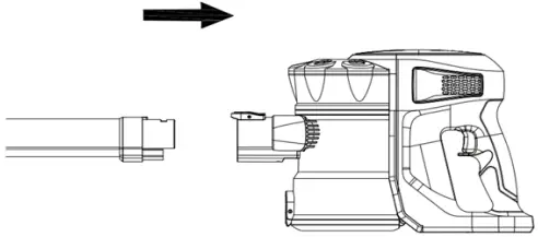
- Insert the connector of the motorized illuminated floor brush into the base of the extension tube by clicking it into place.

- Attach the motorized illuminated floor brush and extension tube to the main body by slotting it into place.

- If using the motorized illuminated floor brush without the extension tube, simply attach it to the main body. It will “click” when secure.

*Repeat Steps 1-3 if using motorized upholstery nozzle*
Assembling the accessories:
- Attach the extension tube to the main body by slotting it into place.

- Attach the accessory to the base of the extension tube via the connector. It will “click” into place.

- If using accessories without the extension tube, simply attach them to the main body. It will “click” when secure.

Before First Use
- Hang the vacuum unit on the wall mount to ensure the vacuum is placed high enough for the vacuum to be securely mounted.
- Ensure the dust bin is clean and the vacuum is free from blockages.
- Remove any sharp or large objects from the path before using, as these may damage the vacuum.
NOTE: In the event of a maintenance issue with the product such as a jammed brush roller, all three BLUE indicator lights will flash on around 10 seconds then off until the issue is resolved, in this case turn the cleaner off until the issue is rectified.

Battery Charging:
- Push the release button and take the battery module out.
Plug the cable into the power inlet located on the side of the battery. When charging, the indicator light will be illuminated RED. Once fully charged this indicator light will turn BLUE. Once fully charged, remove the charger plug from the outlet.
- You can also charge the battery while it is inside the vacuum. The three blue indicator lights will indicate one by one to show the battery being charged. When the battery is fully charged, all three lights will stay blue.

Operating The Vacuum
CAUTION: The vacuum must be fully charged before using for the first time.
Remove the vacuum cleaner from the wall mounts. If using as a hand- held unit, remove the extension tube and attach the desired accessory.- Use the Power ON/OFF button to turn on the vacuum.
- For a stronger suction, press the power adjustment key to increase the strength.
- To turn off the vacuum, press the power ON/OFF button again.
Maintaining The Vacuum
Cleaning the dust container:
- Press the dust container release button to take the dust container out.

- Press the dust release button to open the bottom cover and expel dirt. Wipe to clean the dust container. Do not immerse in water.

Cleaning the filter:
- Remove the dust container from the main body.
- Twist counterclockwise to remove the filter cover.

- Lift to remove the microfiber filter.

- Rinse the filters thoroughly under cold water. Do not use soap or other cleaning solvents.
- COMPLETELY air dry the filter before reassembling.
- The dust container can also be rinsed and cleaned in cold water. Must air dry or wipe dry completely before use.
Cleaning the brush roller:
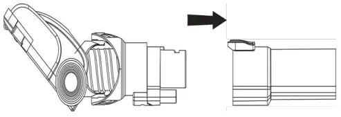
- Remove the brush roller from the brush housing. Slide the brush roller fastener (A) away from the brush as below.

- Carefully clean and remove the hair and debris from the brush roller. Wipe to clean only, do not use any soap or harsh cleaning solvents.
- If brush roller is damp, allow to dry completely before replacing.
- Slide fastener (A) to original position to secure the brush roller.

Troubleshooting
The vacuum will not power on:
- This may be caused by a dead battery. This can occur if the vacuum has been used or stored for an extended period of time. Connect the vacuum to the charger and allow for a full charging cycle to complete.
The vacuum stopped suddenly:
- This will occur if the safety/ thermal cut-out device has been activated. This device is designed to prevent your vacuum from overheating. Ensure the vacuum is turned off, disconnect and remove any blockage from all accessories and extension tube.
- Empty the dust container and clean or replace the filter.
- Replace/recharge battery
The suction of the vacuum has reduced:
- Turn the vacuum off. Disconnect the floor head, extension tube and any accessories. Check for and remove any blockages from the dustbin filter, air duct, extension tube floor head and accessories.
Motorized floor head is not rotating:
- This tends to occur when there are too many fibers wrapped around the brush roll restricting movement. Consult the maintenance section of this manual for instructions on how to appropriately clean the brush roll.
The charging indicator light does not flash up:
- There may be a bad battery.
- There may be a bad charger.
- There may be a bad outlet.
The run time of the vacuum is less than it used to be:
- Ensure the battery has completed a full charging cycle. An insufficient charging cycle will result in reduced run time.
- There may be reduced energy discharge in the battery. This is normal and gradually occurs in all batteries over time.
Specifications
| Input Voltage – Charger | 100-240V 50/60Hz |
| Operating Voltage | 22V |
| Operating Power | 200W |
| Floor Brush Power | 12W |
| Battery Capacity | 2200mAh |
| Charging Time | 2 Hours |
| Dust Bin Capacity | 2 Quart |
Disposal
This vacuum cleaner is supplied with a lithium-ion battery. This must be disposed of properly, in accordance to your local laws and ordinances.
Atrix Rapid Red Cordless Stick Vacuum
Warranty Information
Warranty/Service Information: For warranty service information, please contact Atrix or your local Atrix distributor.
Atrix Rapid Red Cordless Stick Vacuum Limited Warranty: To the original user purchasing the Atrix Rapid Red Cordless Stick Vacuum, Atrix warrants that the vacuum will be free of defects in material and manufacture for a period of one (1) year from the date of purchase. Should any failure to conform to this warranty appear within this period, Atrix will, at its option, repair or replace the defective product. It is the user’s responsibility, with an approved SRA (Service Return Authorization) number to return the product, freight prepaid, to Atrix. These remedies are the users exclusive remedies for breach of this warranty.
Exclusions to warranty coverage: The above warranty will not apply to any special configurations or to any unit that have been modified, or damaged by negligence, misuse, accident or failure to follow Atrix Instruction manual. Consumable supplies, such as filters, accessories, and motor brushes are not covered by this warranty.
Disclaimer of Warranty: EXCEPT FOR THE IMPLIED WARRANTIES OF TITLE AND AGAINST PATENT INFRINGEMENT, ATRIX MAKES NO OTHER WARRANTIES WITH RESPECT TO THE ATRIX VACUUM CLEANER, EXPRESS OR IMPLIED, INCLUDING BUT NOT LIMITED TO ANY IMPLIED WARRANTY OF MERCHANTABILITY OR FITNESS FOR A PARTICULAR PURPOSE.
Limitation of Liability: ATRIX WILL NOT BE LIABLE UNDER ANY CIRCUMSTANCES FOR ANY COINCIDENTAL, SPECIAL, OR CONSEQUENTIAL DAMAGES OR ECONOMICAL LOSS, BASED UPON BREACH OF WARRANTY, BREACH OF CONTRACT, NEGLIGENCE, STRICT LIABILITY IN TORT OR ANY OTHER LEGAL THEORY, EVEN IF ATRIX HAS BEEN ADVISED OF THE POSSIBILITY OF SUCH DAMAGES INCLUDING, BUT NOT LIMITED TO LOSS OF PROFITS, REVENUE, EQUIPMENT USE, DATA OR INFORMATION OF ANY KIND. THE LIABILITY OF ATRIX SHALL NOT UNDER ANY CIRCUMSTANCE, EXCEPT AS EXPRESSLY PROVIDED HEREIN, EXCEED THE PRICE OF THE ATRIX BACKPACK VACUUM.
To Register your Warranty Visit:
www.atrix.com

















