KLS ND-TWJ-21 Non-contact Digital Infrared Thermometer

Ovrview

Instruction
This product measures human body temperature by collecting infrared thermal radiation from human forehead. User only needs to point the probe at the forehead and press ON/SCAN Button to measure the body temperature. It widely used in schools, customs, hospitals, homes.
It is a second-class medical device, which belongs to the internal power supply equipment, type B application part, and the liquid-proof level is ordinary equipment. It cannot be used in the presence of flammable anesthetic gas and air, oxygen or nitrous oxide.
Scope of application: display the body temperature of the measured object by measuring the heat radiation of the forehead The meanings of the legend and warning mark as below:
Contraindications: N/A
Basic Principle
Any object will release infrared radiation energy, and its surface temperature directly determines the size and wavelength of the radiation energy. Based on this principle, this product uses a high-precision infrared sensor that is specifically used to detect the human body emitting infrared radiation with a wavelength of 5-14um, and accurately measures the human body temperature through accurate calculations and various compensation corrections.
Feature
- Using high-precision infrared sensor;
- Strong adaptability to ambient temperature;
- Automatically save the last measured value;
- Large LCD screen with high brightness backlight;
- Two temperature units of Celsius and Fahrenheit can be selected;
- Automatic shutdown to save power and energy;
- Clean and hygienic: non-contact measuring forehead temperature, measuring distance 3-5cm, not touching human skin, preventing cross infection.
- One-click measurement, one-click check memory;
- Multiple sets of memory: It can store 30 sets of measurement data for analysis and comparison.
Technical Specifications

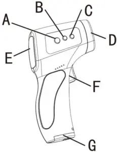
Parts
This product is mainly composed of display screen, infrared detection head, PCBA board and housing. List of accessories: 1 instruction manual (including warranty card), 1 certificate, 2 AAA batteries.
Replacing Battery
1) Push the battery door downwards and backwards firmly, insert 2 AA batteries, and cover the battery cover. When installing, please carefully check the positive and negative signs on the battery. Pay attention that the positive and negative electrodes of the battery cannot be reversed. 2) If not used for a long time (more than 3 months), please remove the battery.
Setting Up Your Non-contact Infrared Thermometer
In the power-on state, click the mode button to switch modes.
Taking a Body Temperature Measurement
This product provides you with a method of measuring the body temperature of the frontal temperature, but it cannot be used as a substitute for a doctor’s diagnosis and treatment. In addition, the individual’s body temperature is different. Please use the memory function to understand your daily temperature and use it as a reference for whether the temperature rises.
- Point the thermometer at the center of the forehead-above the center of the eyebrow and keep it vertical. The measuring part must not be covered by hair.
- Press the key to start
Note 1: The body temperature mode is the preset mode.
Note 2: The thermometer will be performed automatically after power on - About 2 seconds, the thermometer screen displays “body temperature” and displays the measurement result.
- Automatic shutdown: Automatic shutdown after 15 seconds without operation. Before measuring, please make sure that the subject has not bathed or exercised within 30 minutes, and has been kept in a stable environment for at least 5 minutes. Three measurements are recommended. If the three measurements are different, choose the highest temperature value.
Taking a Object Surface Temperature Measurement
This product is a function for you to measure the surface temperature of an object.
- When the instrument is in the measurement-on state, press the Mode key. The LCD displays the “Surface Temperature” character, indicating that it is set to the object temperature measurement mode.
- Automatic shutdown: Automatic shutdown after no operation for about 15 seconds. When the thermometer is taken out from a place with a large difference in the ambient temperature to be measured, the thermometer should be placed in a new environment for at least 30 minutes before measuring.
Viewing Data Memory
In the on or off state, press the MEMO key to enter the memory view.
- The larger the memory number, the earlier the measured value, and the smaller the value, the closer the measured value.
- If there is no memory value, “——–” is displayed.
- The thermometer can store up to 30 groups of recent measured values, and the values of the remaining 30 groups are automatically overwritten in chronological order.
Problems & Troubleshooting

Product Maintenance & Attention
Please keep the inner cavity of the sensor and probe clean, otherwise it will affect the measurement accuracy.
- Cleaning method:
1) Surface cleaning: Wipe the dirt with a clean soft cloth or cotton swab moistened with a little medical alcohol or water.
2) Clean the inner cavity of the sensor and probe: Wipe the inner cavity of the probe or the top of the sensor gently with a clean soft cloth or cotton swab with a little medical alcohol. Do not use until the alcohol has completely evaporated. - Note:
1) Before use, please read this instruction manual carefully and make sure the battery is installed.
2) It is forbidden to immerse the thermometer in any liquid, and it is forbidden to be placed in an excessively high or low temperature environment for a long time.
3) It is forbidden to collide, drop or mix with sharp objects, and it is forbidden to disassemble by yourself.
4) The thermometer cannot be used in the sun or water.
5) Do not use in a strong electromagnetic interference environment.
6) Keep the thermometer out of the reach of children.
7) Do not open the battery door during the test to avoid touching the live parts and the patient at the same time.
8) Do not touch the lens inside the gun head with your fingers.
9) Sweat stains on the forehead, coverings such as hair, hats, or scarves may cause the measurement temperature to be too low, so please use it correctly to ensure the correct measurement results
10) It is recommended to practice more to become familiar with the measurement method, and try not to change the product factory settings. Measurement results are not a substitute for physician diagnosis.
11) No special maintenance is required during use, please contact the seller or manufacturer if any trouble occurs.
12) Please dispose of waste and residues at the end of the service life of the product according to local laws and regulations.
EMC Declaration
This product complies with the EMC (Electromagnetic Compatibility) standard YY0505-2012 for the safe use of medical electrical equipment. The EMC standard is a standard developed for the safe use of medical electrical equipment. Electromagnetic interference from other devices (mobile phones, etc.) is controlled within a certain range. YY0505-2012 (item 5.5.1.1) provides detailed information about the EMC environment required to provide users with safe equipment operation. The following is a description of EMC-related technical descriptions.
When this product works in the electromagnetic environment locked in this EMC technical data, the basic performance described in its scope of application will not be affected.
Definition of EMC (Electromagnetic Compatibility);
- EMC (Electromagnetic Compatibility) refers to the ability to meet the following two requirements.
- Capacitive electromagnetic interference noise will not be emitted to other nearby electronic equipment. (radiation)
- The device can function normally in an electromagnetic environment in which other electronic devices emit noise or the like. (Immunity)
EMC (Electromagnetic Compatibility) related technical descriptions;
- Note: The basic performance is: “During the EMC test, the thermometer display normally displays, continuous temperature measurement, and trouble-free operation.”
- Caution: Portable and mobile RF communication equipment may affect the normal operation of this instrument.
- Warning: It is the responsibility of the user to ensure the electromagnetic environment of the equipment, so that the instrument can work normally.
- Warning: Do not use this device near strong radiation sources, otherwise it may interfere with the normal operation of this instrument.
- Caution: Except for transducers, accessories, and cables sold by the manufacturer of this instrument or system as spare parts for internal components, the use of unspecified transducers, accessories, and cables may result in increased emissions or immunity of the equipment or system The reduction.
- Warning: This instrument should not be used close to or stacked with other equipment. If it must be used close to or stacked, it should be observed to verify that it can operate normally in its used configuration.
- It is recommended to use d.c.3V (2 AAA batteries) provided by the manufacturer
Table 1-Guidelines and manufacturer’s declaration — Electromagnetic radiation —
| Guidance and manufacturer’s declaration-electromagnetic emissions | ||
| This infrared thermometer is intended for use in the electromagnetic environment specified below, and the purchaser or user should guarantee its use in this electromagnetic environment: | ||
Launch test | Compliance | Electromagnetic Environment-Guide |
RF emission | Team 1 | This infrared thermometer uses radio frequency energy only for its internal functions. As a result, its RF emissions are low and the possibility of interference with nearby electronic equipment is extremely low. |
RF emission | Class B | This product is suitable for use in all facilities. |
Harmonic radiation | Not applicable | |
Voltage fluctuation / flicker emission | Not applicable | |
Table 2—Guidelines and manufacturer’s declaration—Electromagnetic immunity—
| Guidance and manufacturer’s declaration-electromagnetic immunity | |||
| This infrared thermometer is intended for use in the electromagnetic environment specified below, and the purchaser or user should guarantee its use in this electromagnetic environment. | |||
| Immunity test | IEC 60601 test level | Coincidence level | Electromagnetic Environment-Guide |
| Electrostatic discharge GB / T17626.2 | ± 6kV contact discharge ± 8kV air discharge | ± 6kV contact discharge ± 8kV air discharge | The floor is recommended to be wood, concrete or tile floor. When the floor is coated with synthetic material, the relative humidity is recommended to be at least 30%. |
| Electrical fast transient pulse group GB / T17626.4 | ± 2kV power cord ± 1kV input / output line | Not applicable | Not applicable |
| Surge GB / T17626.5 | ± 1kV wire-to-wire ± 2kV line to ground | Not applicable | Not applicable |
| Voltage sags on power input lines, short-term interruptions and voltage changes GB / T17626.11 | <5% UT for 0.5 weeks (on UT,> 95% sag) 40% UT for 5 weeks (on UT, 60% sag) 70% UT for 25 weeks (on UT, 30% slump)<5% UT for 5 seconds (on UT,> 95% sag) | Not applicable | Not applicable |
| Power frequency magnetic field (50 / 60HZ) magnetic field GB / T17626.8 | 3A/m | 3A/m, 50HZ | If the instrument does not work properly, it is necessary to keep the instrument away from the power frequency magnetic field source. |
| Note: UT is the AC network before the test voltage is applied. | |||
Table 3—Guidelines and manufacturer declarations—Electromagnetic immunity—
| Guidance and manufacturer’s declaration-electromagnetic immunity | |||
| This infrared thermometer is intended for use in the electromagnetic environment specified below, and the purchaser or user should guarantee its use in this electromagnetic environment. | |||
| Immunity test | IEC 60601 test level | Coincidence level | Electromagnetic Environment-Guide |
| RF conduction GB / T17626.6 RF radiation GB / T 17626.3 | 3V (effective value) 150KHZ-80MHZ 3V/m 80MHZ-2.5GHZ | Not applicable 3V/m | Portable and mobile RF communications equipment should not be used closer to any part of this product, including cables, than the recommended isolation distance. This distance is calculated by the transmitter’s frequency response company. Recommended separation distance ![]() Among them, p is the maximum rated output power of the transmitter specified by the transmitter manufacturer, in watts (W), d is the recommended separation distance, in meters (m). The electric field strength of the fixed RF transmitter is determined by the on-site survey (a) of the electromagnetic field, and should be lower than the compliance level in each frequency band range. Interference may occur near the equipment marked with the following symbol. ![]() |
| Note 1: At the frequency of 80MHZ and 800MHZ, the formula of the higher frequency band is used. NOTE 2: These guidelines may not be suitable for all situations. Electromagnetic propagation is affected by the respiration and reflection of buildings, objects, and the human body. | |||
| a) Stationary transmitters, such as: base stations for wireless (cellular / fly-free) telephones and ground mobile radios, amateur radios, FM and FM radio broadcasts, and television broadcasts, the theoretical field strengths cannot be accurately predicted in theory. To assess the electromagnetic environment of fixed RF transmitters, surveys of electromagnetic fields should be considered. If the measured field strength of the electronic thermometer is higher than the applicable RF compliance level above, the electronic thermometer should be observed to verify that it can operate normally. If abnormal performance is observed, supplementary measures may be necessary, such as reorienting or positioning the electronic thermometer b) In the frequency range of 150KHZ-80MHZ, the magnetic field strength should be lower than 3V / m. | |||
Table 4—Recommended separation distances between portable and mobile RF communications equipment and this product
| Recommended separation distance between portable and mobile RF communication equipment and this infrared thermometer | |||
| This infrared thermometer is expected to be used in an electromagnetic environment where radio frequency radiation disturbance is controlled. Depending on the maximum rated output power of the communication equipment, the purchaser or user can maintain the portable and mobile RF communication equipment (transmitter) and the infrared thermometer as recommended below. Minimum distance between them to place electromagnetic interference. | |||
| Transmitter’s rated maximum output power (W) | |||
![]() | ![]() | ![]() | |
0.01 | Not applicable | 0.12 | 0.23 |
0.1 | Not applicable | 0.38 | 0.73 |
| 1 | Not applicable | 1.2 | 2.3 |
10 | Not applicable | 3.8 | 7.3 |
| 100 | Not applicable | 12 | 23 |
| For the maximum rated output power of transmitters not listed in the table above, the recommended separation distance d is in meters (m), which can be determined by the formula in the corresponding transmitter frequency column, where p is the emission provided by the transmitter manufacturer Maximum rated output power of the unit, in watts (W). Note 1: At the frequency of 80MHZ and 800MHZ, the formula of higher frequency range is adopted. Note 2: These guidelines may not be suitable for all situations. Electromagnetic propagation is affected by absorption and reflection from buildings, objects, and the human body. | |||
Warranty Card
| Cardholder | Contact Number | ||
| Address | |||
| Model | Date of manufacture | ||
| Quality warranty: 1) The life of this product is 5 years from the date of purchase. With a shopping invoice, you can enjoy a one-year free warranty and lifetime maintenance. 2) The battery and packaging are not covered by the warranty. | |||
| Time | Cardholder | ||
Quality commitment and after-sales service
- The period of use of this product is five years from the date of purchase. With a shopping invoice, you can enjoy a one-year free warranty and lifetime maintenance.
- The battery and packaging are not covered by the warranty.
- For the following damage caused by the user, please forgive us for not being able to provide free warranty service:
a) Failure caused by unauthorized disassembly and modification of the product;
b) Failure caused by accidental drop during use or handling;
c) failure caused by failure to follow the correct instructions in the instructions;
d) failure caused by lack of reasonable maintenance;
e) When requesting free warranty service, you must hold a warranty card with the date of purchase and the seal of the purchase dealer (including the dealer name and address). Be sure to ask your dealer to sign the warranty card when purchasing this product.
f) Repair services outside the warranty will be charged according to the corresponding regulations;
g) When requesting a free warranty service, please take this product to the company’s distribution points for repair.
[email protected] Essie Mei
























